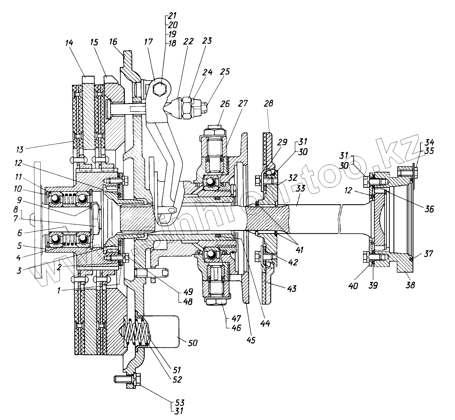
Каталог запасных частей к технике: ЧТЗ Кран ТР-20, ТР-12. Муфта сцепления
20-14-2СП
1
2
2
3
4
5
6
7
8
9
10
11
11
12
12
13
14
15
16
17
18
19
20
21
22
23
24
25
26
27
28
29
30
30
31
31
31
32
33
34
35
36
37
38
38
39
39
40
41
42
43
44
45
46
47
48
49
50
51
52
53
| Позиция на иллюстрации | Заводской номер детали | Название детали | |
|---|---|---|---|
| 20-14-2СП | 20-14-2СП | Муфта сцепления | |
| 1 | 18-14-114 | Крышка | |
| 2 | 700-40-2532-1 | Прокладка | |
| 2 | 700-40-2532 | Прокладка | |
| 3 | 18-14-78 | Муфта | |
| 4 | 38462 | Пружина | |
| 5 | 18-14-104 | Барабан зубчатый | |
| 6 | 18-14-62 | Втулка | |
| 7 | 3170 | Шайба | |
| 8 | 700-30-2032 | Гайка | |
| 9 | 50-14-2 | Пластина | |
| 10 | 18-14-66 | Кольцо | |
| 11 | 180308УС9 | Подшипник 180308УС9 | |
| 11 | 180308У1С9Ш | Подшипник шариковый радиальный однорядный | |
| 12 | 46812 | Кольцо | |
| 13 | 18-14-135СП | Диск ведомый | |
| 14 | 18-14-44 | Диск ведущий | |
| 15 | 50-14-64 | Диск нажимной | |
| 16 | 18-14-142СП | Фланец | |
| 17 | 18-14-92 | Рычаг | |
| 18 | 18-14-49 | Палец | |
| 19 | 18-14-69 | Ролик | |
| 20 | ГайкаМ12х1,25.6Н.6А.019 | Гайка М12х1,25.6Н.6А.019 | |
| 21 | Шплинт3,2х25.019 | Шплинт 3,2х25.019 | |
| 22 | 18-14-47 | Призма | |
| 23 | 18-14-130 | Гайка | |
| 24 | ПроволокаКО3,0 | Проволока КО 3,0 | |
| 25 | 18-14-131 | Болт | |
| 26 | 18-14-128 | Палец | |
| 27 | 24-14-104СП | Рычаг | |
| 28 | 18-14-140-1СП | Тормозок | |
| 29 | 18-14-122 | Пластина | |
| 30 | БолтМ12х25.88.45.019 | Болт М12х25.88.45.019 | |
| 31 | Шайба12.ОТ.65Г.09 | Шайба 12.ОТ.65Г.09 | |
| 32 | 20-14-21 | Муфта | |
| 33 | 20-14-24 | Вал | |
| 34 | 12304 | Болт | |
| 35 | 31545 | Пластина замковая | |
| 36 | 700-58-2520 | Кольцо | |
| 37 | 21363 | Кольцо | |
| 38 | 20-14-25 | Муфта | |
| 38 | 50-14-26 | Муфта | |
| 39 | 700-40-5259 | Прокладка | |
| 39 | 700-40-5259-1 | Прокладка | |
| 40 | 18-14-125 | Крышка | |
| 41 | 700-58-2412 | Кольцо | |
| 42 | 20-14-22 | Крышка | |
| 43 | 18-14-135 | Накладка фрикционная | |
| 44 | 700-40-2122 | Кольцо | |
| 45 | 18-14-133СП | Муфта включения | |
| 46 | 18-14-127 | Палец | |
| 47 | 31364 | Пластина | |
| 48 | БолтМ10х25.46.019 | Болт М10х25.46.019 | |
| 49 | Шайба10.ОТ.65Г.09 | Шайба 10.ОТ.65Г.09 | |
| 50 | 50-14-63 | Стакан | |
| 51 | 38461 | Пружина | |
| 52 | 38460 | Пружина | |
| 53 | БолтМ12-6gх35.46.019 | Болт М12-6gх35.46.019 |
Содержащиеся в справочниках-каталогах запасные части и детали не предлагаются к продаже, а носят исключительно информационный характер