Каталог запасных частей к технике: ЧТЗ Кран ТР-20, ТР-12. Лебедка
71-44-1СП
71-44-1-01СП
1
2
3
4
4
5
6
7
7
8
9
10
10
11
12
13
13
13
14
14
14
15
16
17
18
19
19
20
21
22
23
23
24
25
26
27
28
28
29
30
31
32
33
34
35
36
37
38
39
40
41
42
43
44
45
46
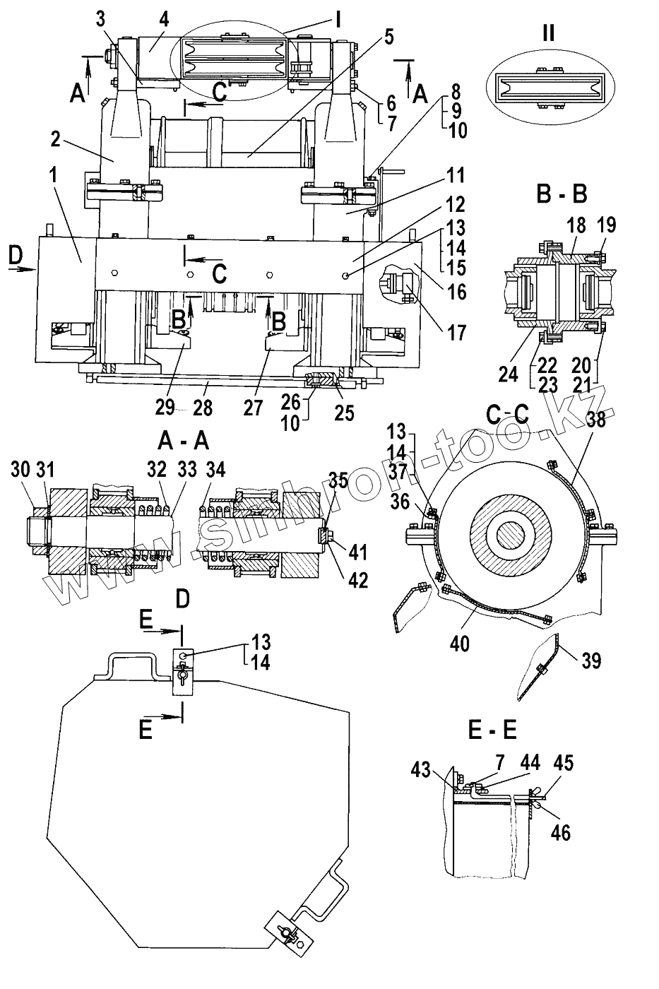
| Позиция на иллюстрации | Заводской номер детали | Название детали | |
|---|---|---|---|
| 71-44-1СП | 71-44-1СП | Лебедка | |
| 71-44-1-01СП | 71-44-1-01СП | Лебедка | |
| 1 | 71-44-118СП | Кожух | |
| 2 | 71-44-102СП | Редуктор | |
| 3 | 71-44-86 | Упор | |
| 4 | 71-44-156СП | Подвеска | |
| 4 | 71-44-156-01СП | Подвеска | |
| 5 | 71-44-103СП | Барабан | |
| 6 | 30210 | Гайка | |
| 7 | Шплинт4х40 | Шплинт 4х40 | |
| 8 | БолтМ16-6gх140.88.35.019 | Болт | |
| 9 | ГайкаМ16-7Н.6.019 | Гайка М16-7Н.6.019 | |
| 10 | Шайба16.ОТ.65Г.09 | Шайба 16.ОТ.65Г.09 | |
| 11 | 71-44-101СП | Редуктор | |
| 12 | 71-44-117 | Кожух | |
| 13 | БолтМ10-6gх18.58.019 | Болт | |
| 14 | Шайба10.ОТ.65Г.09 | Шайба 10.ОТ.65Г.09 | |
| 15 | 3197 | Шайба | |
| 16 | 71-44-119СП | Кожух | |
| 17 | 71-26-2СП | Гидросистема управления лебедкой | |
| 18 | 71-44-141 | Муфта | |
| 19 | 71-44-162 | Планка | |
| 19 | 71-44-142 | Планка | |
| 20 | 700-31-2579 | Шайба отгибная | |
| 21 | БолтМ8-6gх16.88.35.019 | Болт | |
| 22 | 700-31-944-03 | Шайба отгибная | |
| 23 | БолтМ12-6gх25.88.38ХС.019 | Болт М12-6gх25.88.38ХС.019 | |
| 23 | БолтМ12-6gх25.88.45Х.019 | Болт М12-6gх25.88.45Х.019 | |
| 24 | 71-44-140 | Муфта | |
| 25 | 3262 | Штифт цилиндрический | |
| 26 | 700-28-2623 | Болт | |
| 27 | 71-13-1СП | Система управления редуктором | |
| 28 | 71-44-145-01СП | Плита | |
| 28 | 71-44-145СП | Плита | |
| 29 | 71-13-2СП | Система управления редуктором | |
| 30 | 700-30-177 | Гайка | |
| 31 | 700-31-2718 | Шайба | |
| 32 | 700-38-2903-01 | Пружина | |
| 33 | 71-44-71 | Ось | |
| 34 | 700-38-2903 | Пружина | |
| 35 | 71-44-87 | Планка | |
| 36 | 71-44-118 | Упор | |
| 37 | 31308-1 | Шайба | |
| 38 | 71-44-114 | Кожух | |
| 39 | 71-44-116 | Кожух | |
| 40 | 71-44-115 | Кожух | |
| 41 | БолтМ12-6gх30.58.019 | Болт | |
| 42 | 700-31-2717 | Пластина | |
| 43 | 71-44-163 | Уголок | |
| 44 | 31386-1 | Шайба | |
| 45 | 71-44-120 | Стяжка | |
| 46 | 05573-1-01 | Гайка |
Содержащиеся в справочниках-каталогах запасные части и детали не предлагаются к продаже, а носят исключительно информационный характер