Каталог запасных частей к технике: ЧТЗ ДЭТ-250М2. Вентилятор
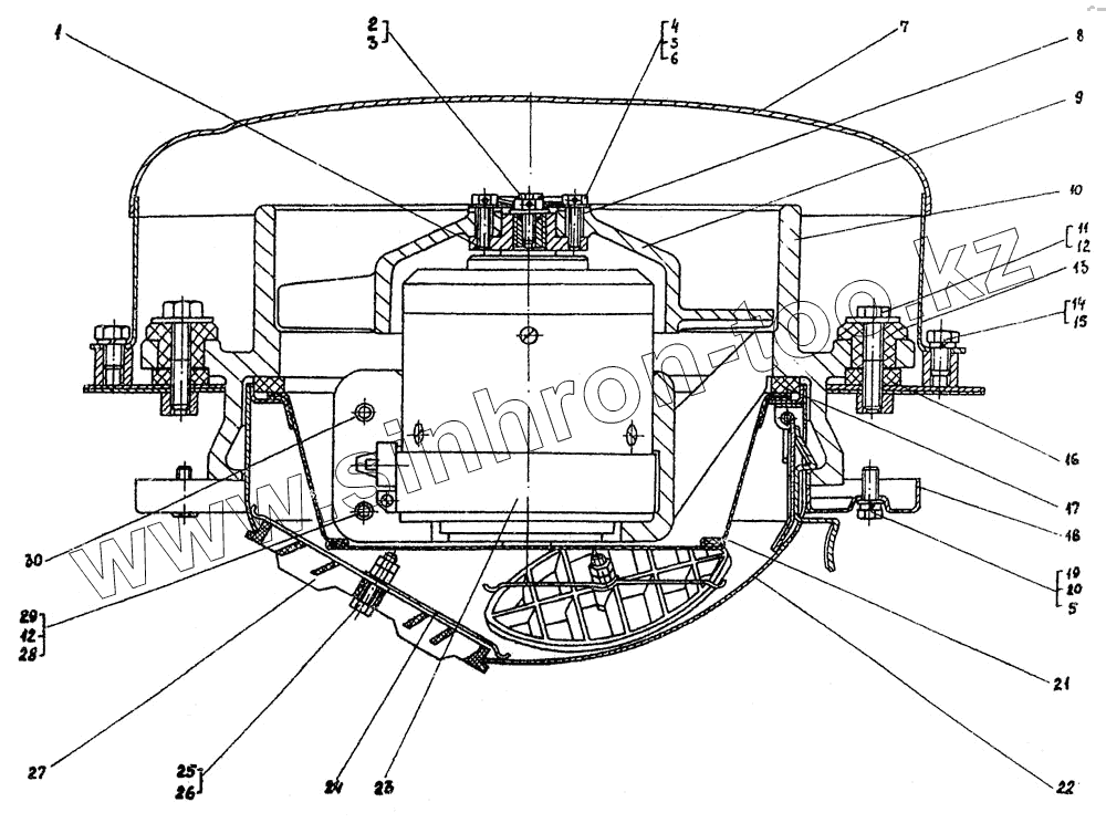
1
2
3
4
5
5
5
6
7
8
9
10
11
12
12
12
13
14
15
16
17
18
19
20
21
22
23
24
25
26
27
28
29
30
| Позиция на иллюстрации | Заводской номер детали | Название детали | |
|---|---|---|---|
| 1 | 748-44-283 | Фланец | |
| 2 | 700-28-946 | Болт | |
| 3 | Шайба 6.02.019 [ГОСТ 6958-78] | Шайба 6.02.019 | |
| 4 | Болт 3М6-6gх20.88.35.019 [ГОСТ 7796-70] | Болт 3М6-6gх20.88.35.019 | |
| 5 | Шайба 6.01.019 [ГОСТ 11371-78] | Шайба 6.01.019 | |
| 5 | Шайба 6.01.019 [ГОСТ 11371-78] | Шайба 6.01.019 | |
| 6 | Проволока КО 1 [ГОСТ 792-67] | Проволока КО 1 | |
| 7 | 748-44-192СП | Колпак | |
| 8 | 701-71-105 | Шайба | |
| 9 | 748-44-284 | Крыльчатка | |
| 10 | 748-44-279 | Корпус | |
| 11 | Болт М8-6gх40.88.35.019 [ГОСТ 7795-70] | Болт М8-6gх40.88.35.019 | |
| 12 | Шайба 8.01.019 [ГОСТ 11371-78] | Шайба 8.01.019 | |
| 12 | Шайба 8.01.019 [ГОСТ 11371-78] | Шайба 8.01.019 | |
| 13 | 748-10-239 | Амортизатор | |
| 14 | Болт М8-6gх12.88.35.019 [ГОСТ 7796-70] | Болт М8-6gх12.88.35.019 | |
| 15 | Шайба 8Т 65Г 09 [ГОСТ 6402-70] | Шайба 8Т 65Г 09 | |
| 16 | 748-44-175 | Прокладка | |
| 17 | 748-44-120 | Прокладка | |
| 18 | 748-44-121 | Накладка | |
| 19 | Болт М6-6gх14.83.35.019 [ГОСТ 7798-70] | Болт М6-6gх14.83.35.019 | |
| 20 | Шайба 6 Т 65Г 09 [ГОСТ 6402-70] | Шайба 6 Т 65Г 09 | |
| 21 | 748-44-139СП | Фильтр | |
| 22 | 748-44-206СП | Колпак | |
| 23 | Электродвигатель МВ-42 | Электродвигатель МВ-42 | |
| 24 | 50-47-45 | Зажим | |
| 25 | Болт М6-6gх25.88.35.019 [ГОСТ 7798-70] | Болт М6-6gх25.88.35.019 | |
| 26 | Гайка М6-7К6.019 [ГОСТ 5915-70] | Гайка М6-7К6.019 | |
| 27 | 50-47-44 | Воздухораспределитель | |
| 28 | Шплинт 2х20.019 [ГОСТ 397-79] | Шплинт 2х20.019 | |
| 29 | Болт 2М8-6gх70.58.019 [ГОСТ 7795-70] | Болт 2М8-6gх70.58.019 | |
| 30 | 700-30-2311 | Гайка |
Содержащиеся в справочниках-каталогах запасные части и детали не предлагаются к продаже, а носят исключительно информационный характер