Вернуться на главную
Поиск
Каталоги запчастей к технике
Спецтехника
ЧТЗ
ДЭТ-250М2
Установка низковольтного электрооборудования
Каталог запасных частей к технике: ЧТЗ ДЭТ-250М2. Установка низковольтного электрооборудования
zoom-in
zoom-out
enlarge
shrink
circle-right
circle-left
file-text2
info
cart
Тип техники
Не выбрано
Легковые автомобили
Грузовые автомобили и прицепы
Автобусы
Сельхозтехника
Спецтехника
Двигатели
Мототехника
Марка
Не выбрано
Ammann
BOMAG
CARMIX
CASE IH
Changlin
ChengGong
Dimex
Doosan
DYNAPAC
Foton
HAMM
Hidromek
Hitachi
Hyundai
JCB
JLG
John Deere
Komatsu
LIEBHERR
LiuGong
Lonking (LongGong)
Luneng
MANITOU
Mitsuber
New Holland
PENGPU
RM-Terex
SANY
SDLG
SEM
Shantui
Shehwa HBXG
Soosan
TIGARBO
VOGELE
Volvo
WAY
WIRTGEN
XCMG
XGMA
Xiamen
YTO
Yuchai
Zoomlion
Автокран
АЗСМ
Алтайлесмаш
Амкодор
АОМЗ
Атек
АТЗ
Балканкар Рекорд
БелАЗ
Беловеж
Борекс
Брянский Арсенал
Булат
ВЭКС
ГАЗ
Геомаш
Гидромаш
Донекс
Дормаш
Дормашина
Дорэлектромаш
ДЭЗ
ЕлАЗ
ЗЗГТ
Ижнефтемаш
Канаш-электрокар
КЗКТ
ККЗ
Клевер
Клинцовский автокрановый завод
КМЗ
КМЗ 1 Мая
Ковровец
Коммаш
Кранэкс
КЭЗ
КЭМЗ
ЛЗА
МАЗ
МЗИК
МЗКМ
МЗКТ
Михневский РМЗ
МоАЗ
Мозырский МЗ
МТЗ
ОЗП
Онежец
ПАО "ТЗА"
ППС Детва
Промтрактор
ПТЗ
Раскат
СпецАгрегат
ТВЭКС
ТТМ
УВЗ
Угличмаш
УЗТМ
ХТЗ
ЧЗКМ
ЧСДМ
ЧТЗ
ЭКСКО
ЭКСМАШ
ЮрМаш
Модель
Не выбрано
Бульдозер Б11 (2010)
Бульдозер Б12 (2010)
Бульдозер Б14 (2010)
ДЭТ-250М2 (2000)
Кран ТР-20, ТР-12 (2006)
Рабочее оборудование Б10М (2006)
Т-10.02 (1995)
Т-10М (2012)
Т-130 (1990)
Т-170
Т-170М-01
Схема
>
Не выбрано
Кабина
Дверь
Установка сидений
Фиксатор
Четырехзвенник
Обогреватель кабины
Вентилятор
Капот
Опоры и крылья
Установка двигателя В-31М2
Система обогрева
Система обогрева
Редуктор обогревателя
Редуктор обогревателя
Установка эжекторов
Система воздушного запуска двигателя
Картер
Картер
Картер
Картер
Передача к агрегатам
Передача к агрегатам
Блок цилиндров
Шатун и поршень
Шатун и поршень
Коленчатый вал
Блок дизеля и газораспределение
Блок дизеля и газораспределение
Блок дизеля и газораспределение
Блок дизеля и газораспределение
Блок дизеля и газораспределение
Система смазки
Бак масляный
Насос масляный
Насос масляный
Маслоочиститель
Маслоочиститель
Маслоочиститель
Маслоочиститель
Трубопровод масляный
Трубопровод системы воздушного запуска
Топливная система
Топливная система
Фильтр топливный
Воздухораспределитель
Форсунка
Насос топливный и регулятор
Насос топливный и регулятор
Насос топливный и регулятор
Насос топливный и регулятор
Топливный фильтр
Муфта привода топливного насоса и топливопровод высокого давления
Топливопровод высокого давления
Топливопровод низкого давления
Система очистки воздуха и охлаждения электромашин
Система очистки воздуха и охлаждения электромашин
Система очистки воздуха и охлаждения электромашин
Воздухоочиститель
Система охлаждения двигателя
Система охлаждения двигателя
Система охлаждения двигателя
Радиатор водяной
Краны
Терморегуляторы
Водяной насос
Трубопровод водяной
Редуктор раздаточный
Редуктор привода генератора
Редуктор привода насоса
Редуктор бортовой с ведущим колесом
Уплотнение
Бортовой редуктор
Муфта фрикционная
Механизм передачи
Механизм передачи
Механизм передачи
Механизм передачи
Главная передача
Планетарный механизм поворота
Масляная система трансмиссии
Масляная система трансмиссии
Насос масляный
Рама трактора
Рамы тележек
Подвеска
Каток с балансиром
Гусеница
Колесо направляющее с натяжным механизмом
Поршень
Механизм натяжения
Звено сдающее
Колесо направляющее
Каток поддерживающий
Приводы управления
Привод подачи топлива ручной
Мостик
Мостик (горного тормоза)
Плита управления
Плита управления
Мостик
Золотник
Механизм управления
Механизм управления
Мостик
Механизмы управления и тормоза
Механизмы управления и тормоза
Лента
Лента
Генератор
Установка тягового электрооборудования
Электродвигатель ЭДП-196
Генераторы ГПА-222 и индукторный ГИ 160-6
Контроллер КВ 30Г
Монтаж проводов
Установка низковольтного электрооборудования
Установка низковольтного электрооборудования
Установка низковольтного электрооборудования
Установка электромашин
Установка электромашин
Панель управления
Щиток
Щиток
Прицепное устройство
Гидропривод
Гидропривод
Бак масляный
Распределитель
Цилиндр гидравлический с кронштейном
Распределитель
Насос шестеренный
Насос
Поршень
Ротор
Инструмент и принадлежности
Инструмент и принадлежности
Инструмент и приспособления
Подшипники
1
2
3
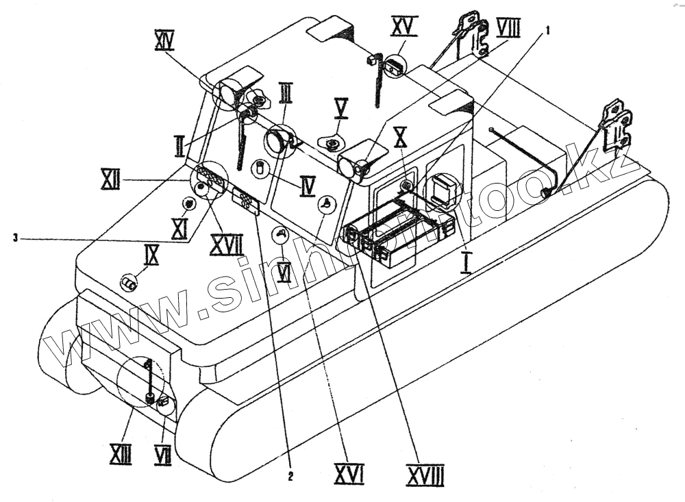
Позиция на иллюстрации
Заводской номер детали
Название детали
1
Батарея 6СТ-132ЭМ
Батарея 6СТ-132ЭМ
2
748-10-342СП
Щиток
3
748-10-330СП
Щиток
Содержащиеся в справочниках-каталогах запасные части и детали не предлагаются к продаже, а носят исключительно информационный характер
Дополнительная информация
×
Название:
Номер:
Примечание: