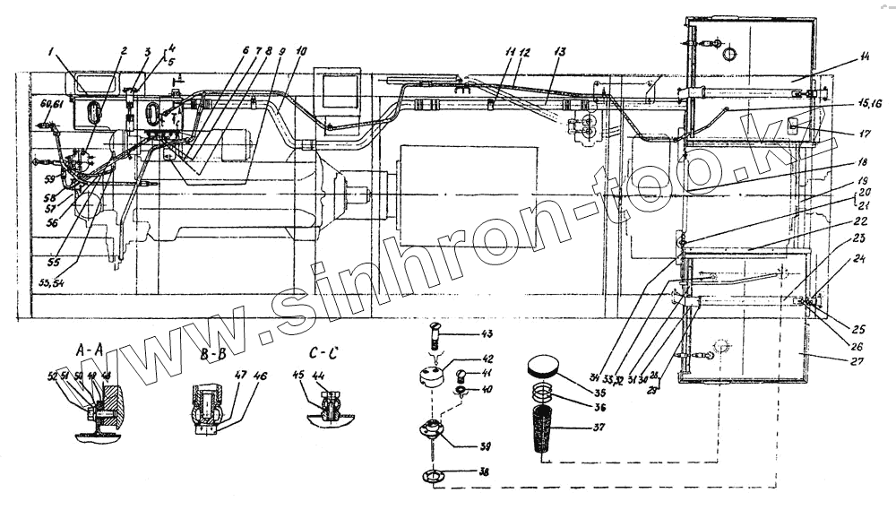
Каталог запасных частей к технике: ЧТЗ ДЭТ-250М2. Топливная система
1
2
3
4
5
6
7
8
9
10
11
12
13
14
15
16
17
18
19
20
21
22
23
24
25
26
27
28
29
30
31
32
33
34
35
35
36
36
37
37
38
39
40
41
42
43
44
45
46
47
48
49
50
51
52
53
54
55
56
57
58
59
60
61
| Позиция на иллюстрации | Заводской номер детали | Название детали | |
|---|---|---|---|
| 1 | 748-25-258 | Прокладка | |
| 2 | Болт М10-6gх30.58.019 [ГОСТ 7796-70] | Болт М10-6gх30.58.019 | |
| 3 | 748-25-312СП | Лента | |
| 4 | 700-47-2009 | Валик с головкой | |
| 5 | Шплинт 2х16.019 [ГОСТ 397-79] | Шплинт 2х16.019 | |
| 6 | 748-25-338 | Прокладка | |
| 7 | 700-41-2235-15СП | Хомут | |
| 8 | 700-40-3492 | Рукав | |
| 9 | 1ЭЦН-2.8-000ЕА | Агрегат электронасосный | |
| 10 | 748-25-548 | Труба | |
| 11 | 700-54-60 | Хомутик | |
| 12 | 748-25-337СП | Труба | |
| 13 | 748-25-334 | Труба | |
| 14 | 748-25-304СП | Бак | |
| 15 | МН 4152-62 | Кольцо 12х18 | |
| 16 | 701-05-41 | Болт зажимной | |
| 17 | 748-25-427 | Зацеп | |
| 18 | 748-24-289СП | Балка | |
| 19 | 748-25-577 | Труба | |
| 20 | Болт М16-6gх40.58.019 [ГОСТ 7796-70] | Болт М16-6gх40.58.019 | |
| 21 | Шайба 16 ОТ 65Г 09 [ГОСТ 6402-70] | Шайба 16 ОТ 65Г 09 | |
| 22 | 748-25-389 | Прокладка | |
| 23 | 748-25-240СП | Лента | |
| 24 | 748-25-242СП | Лента | |
| 25 | 748-25-624 | Валик | |
| 26 | 748-25-625 | Валик | |
| 27 | 748-25-339СП | Бак | |
| 28 | Заклепка 6х16.37 [ГОСТ 10299-80] | Заклепка 6х16.37 | |
| 29 | 748-25-406 | Планка | |
| 30 | 748-25-405 | Уплотнение | |
| 31 | 748-24-717 | Прокладка | |
| 32 | 748-25-148СП | Щуп | |
| 33 | МН 4152-62 | Кольцо 12х18 | |
| 34 | 748-25-415 | Прокладка | |
| 35 | 748-25-350СП | Крышка | |
| 35 | 748-25-350СП | Крышка | |
| 36 | 700-38-2703 | Пружина | |
| 36 | 700-38-2703 | Пружина | |
| 37 | Фильтр 160Б [ОСТ 23.164-86] | Фильтр 160Б | |
| 37 | Фильтр 160Б [ОСТ 23.164-86] | Фильтр 160Б | |
| 38 | 748-25-599 | Прокладка | |
| 39 | БМ144-ДМ | Датчик уровня топлива | |
| 40 | Шайба 5Т 65Г 06 [ГОСТ 6402-70] | Шайба 5Т 65Г 06 | |
| 41 | Винт ВМ5-6gх10.58.019 [ГОСТ 17473-80] | Винт ВМ5-6gх10.58.019 | |
| 42 | 748-25-341СП | Крышка | |
| 43 | Винт В2М5-8gх35.58.019 [ГОСТ 17475-80] | Винт В2М5-8gх35.58.019 | |
| 44 | Проволока КО 1 [ГОСТ 792-67] | Проволока КО 1 | |
| 45 | МН 4152-62 | Кольцо 12х18 | |
| 46 | 748-60-130 | Штуцер | |
| 47 | МН 4152-62 | Кольцо 12х18 | |
| 48 | 700-40-4236 | Прокладка | |
| 49 | 748-25-526 | Прокладка | |
| 50 | Шайба 10.02.019 [ГОСТ 11371-78] | Шайба 10.02.019 | |
| 51 | Шайба 10 ОТ 65Г 09 [ГОСТ 6402-70] | Шайба 10 ОТ 65Г 09 | |
| 52 | Болт М10-6gх25.58.019 [ГОСТ 7796-70] | Болт М10-6gх25.58.019 | |
| 53 | 700-41-2235-09СП | Хомут | |
| 54 | 700-40-3482 | Рукав | |
| 55 | 748-25-310СП | Труба | |
| 56 | 748-25-347СП | Труба | |
| 57 | 748-25-340СП | Труба | |
| 58 | 748-25-360СП | Трубопровод | |
| 59 | 700-40-3488 | Рукав | |
| 60 | 700-41-2235-07СП | Хомут | |
| 61 | 700-40-3480 | Рукав |
Содержащиеся в справочниках-каталогах запасные части и детали не предлагаются к продаже, а носят исключительно информационный характер