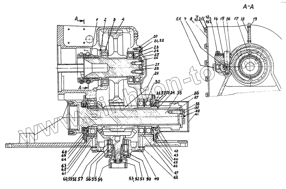
Каталог запасных частей к технике: ЧТЗ ДЭТ-250М2. Редуктор раздаточный
1
2
3
3
4
5
6
7
8
9
10
11
12
13
14
15
16
17
18
19
20
21
22
23
23
24
25
26
27
28
29
30
31
31
32
32
33
33
34
35
36
37
38
39
40
41
42
43
44
45
46
47
47
48
49
50
50
51
52
53
54
55
56
57
57
58
59
60
61
62
62
63
64
65
66
| Позиция на иллюстрации | Заводской номер детали | Название детали | |
|---|---|---|---|
| 748-50-123СП | 748-50-123СП | Крышка | |
| 743-50-122СП | 743-50-122СП | Крышка | |
| 1 | 748-50-408 | Муфта | |
| 2 | 700-39-144 | Кольцо пружинное | |
| 3 | Подшипник 214 [ГОСТ 8338-75] | Подшипник 214 | |
| 3 | Подшипник 214 [ГОСТ 8338-75] | Подшипник 214 | |
| 4 | 748-50-445 | Шестерня | |
| 5 | 700-37-317-01 | Пробка | |
| 6 | МН 4152-62 | Кольцо 12х18 | |
| 7 | 748-50-164 | Стопор | |
| 8 | 748-50-268 | Прокладка | |
| 9 | Болт М10-6gх25.58.019 [ГОСТ 7796-70] | Болт М10-6gх25.58.019 | |
| 10 | Шайба 10 ОТ 65Г 09 [ГОСТ 6402-70] | Шайба 10 ОТ 65Г 09 | |
| 11 | 748-50-267 | Крышка | |
| 12 | Болт М8-6gх20.88.35.019 [ГОСТ 7796-70] | Болт М8-6gх20.88.35.019 | |
| 13 | Шайба 8Т 65Г 09 [ГОСТ 6402-70] | Шайба 8Т 65Г 09 | |
| 14 | 748-50-181 | Кольцо | |
| 15 | 748-50-378 | Валик | |
| 16 | 748-50-449 | Пластина | |
| 17 | 748-50-379 | Вилка | |
| 18 | 700-42-2394 | Табличка | |
| 19 | Заклепка 3х14-32 [ГОСТ-10299-80] | Заклепка 3х14-32 | |
| 20 | 748-50-161 | Прокладка | |
| 21 | 700-28-912 | Болт | |
| 22 | Проволока КО 1 [ГОСТ 792-67] | Проволока КО 1 | |
| 23 | Подшипник 212 [ГОСТ 8338-75] | Подшипник 212 | |
| 23 | Подшипник 212 [ГООСТ 8338-75] | Подшипник 212 | |
| 24 | 748-50-544 | Шайба | |
| 25 | 748-50-447 | Крышка | |
| 26 | 748-16-88 | Крышка | |
| 27 | 748-50-450 | Планка | |
| 28 | 748-50-484 | Вал ведомый | |
| 29 | 748-50-501 | Шестерня | |
| 30 | 748-50-543 | Шайба | |
| 31 | 701-212-63 | Пружина | |
| 31 | 701-212-63 | Пружина | |
| 32 | 701-212-62 | Манжета | |
| 32 | 701-212-62 | Манжета | |
| 33 | 700-58-2458 | Кольцо упорное | |
| 33 | 700-58-2458 | Кольцо упорное | |
| 34 | 700-40-2014 | Кольцо | |
| 35 | 748-50-497 | Вал ведущий | |
| 36 | 748-50-498 | Втулка | |
| 37 | 748-50-499 | Крышка | |
| 38 | 700-28-2197 | Болт | |
| 39 | 301-161А | Кольцо | |
| 40 | Проволока КО 2 [ГОСТ 792-67] | Проволока КО 2 | |
| 41 | 748-50-205СП | Чехол | |
| 42 | 748-50-162 | Втулка распорная | |
| 43 | 748-50-153 | Крышка | |
| 44 | 748-50-157 | Кольцо маслоотражательное | |
| 45 | 748-50-160 | Прокладка | |
| 46 | 748-50-568 | Корпус редуктора | |
| 47 | Подшипник 213 [ГОСТ 8338-75] | Подшипник 213 | |
| 47 | Подшипник 213 [ГОСТ 8338-75] | Подшипник 213 | |
| 48 | 748-50-382 | Стакан | |
| 49 | 700-28-911 | Болт | |
| 50 | Подшипник 42207 [ГОСТ 8328-75] | Подшипник 42207 | |
| 50 | Подшипник 42207 [ГОСТ 8328-75] | Подшипник 42207 | |
| 51 | 748-50-381 | Шестерня | |
| 52 | 700-30-2322 | Гайка | |
| 53 | 700-31-490 | Шайба стопорная | |
| 54 | 748-50-144СП | Муфта | |
| 55 | 748-50-383 | Втулка | |
| 56 | 748-50-384 | Втулка | |
| 57 | Подшипник 207 [ГОСТ 8338-75] | Подшипник 207 | |
| 57 | Подшипник 207 [ГОСТ 8338-75] | Подшипник 207 | |
| 58 | 748-50-389 | Прокладка | |
| 59 | 748-50-390 | Прокладка | |
| 60 | 748-50-391 | Прокладка | |
| 61 | 748-50-380 | Шестерня | |
| 62 | Подшипник 312 [ГОСТ 8338-75] | Подшипник 312 | |
| 62 | Подшипник 312 [ГОСТ 8338-75] | Подшипник 312 | |
| 63 | 748-50-577 | Прокладка | |
| 64 | 700-28-910 | Болт | |
| 65 | 748-50-156 | Кольцо маслоотражательное | |
| 66 | 748-50-152 | Крышка |
Содержащиеся в справочниках-каталогах запасные части и детали не предлагаются к продаже, а носят исключительно информационный характер