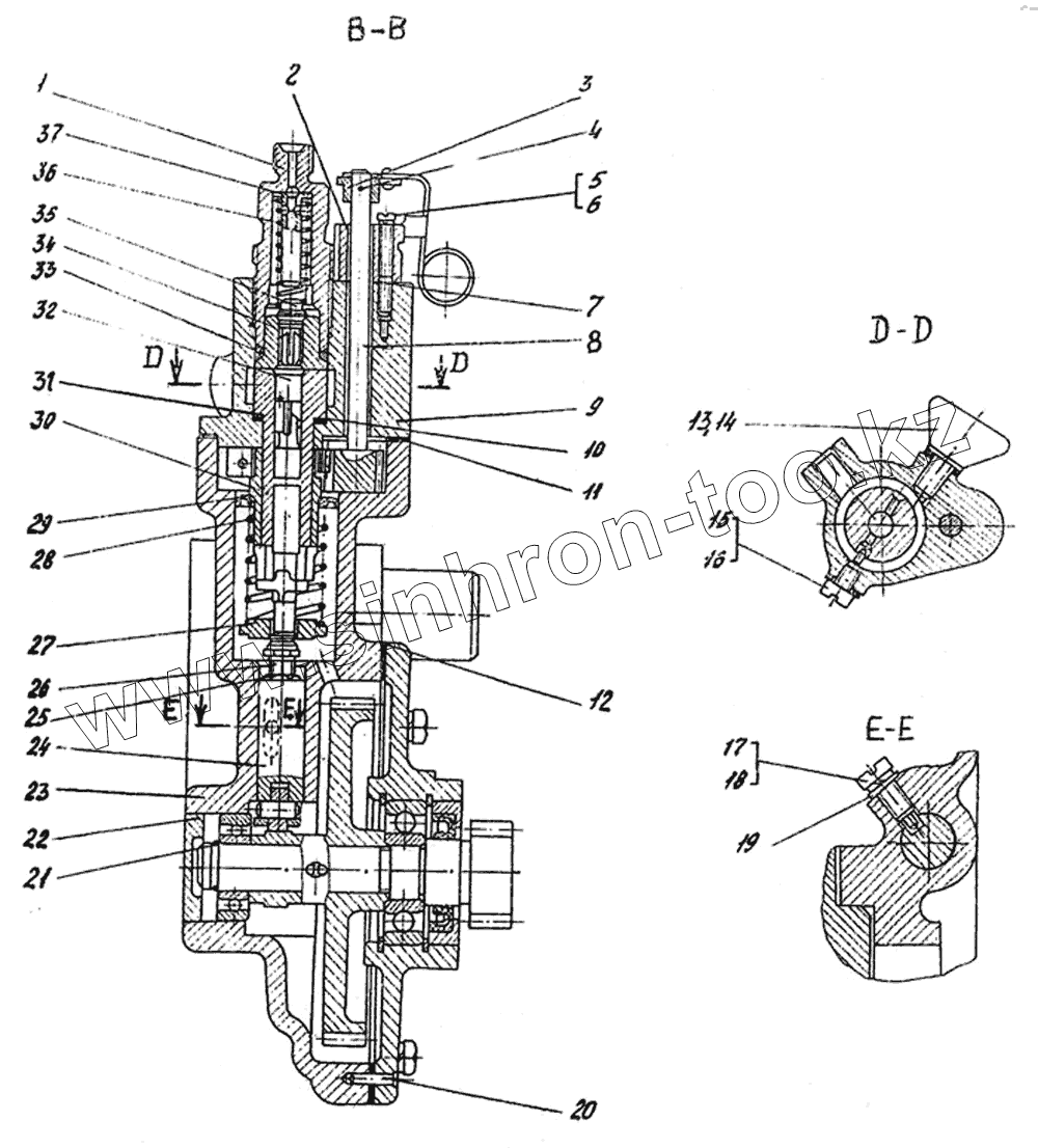
Каталог запасных частей к технике: ЧТЗ ДЭТ-250М2. Редуктор обогревателя
1
2
3
4
5
6
7
8
9
10
11
12
13
14
15
16
17
18
19
20
21
22
23
24
25
26
27
28
29
30
31
32
33
34
35
36
37
| Позиция на иллюстрации | Заводской номер детали | Название детали | |
|---|---|---|---|
| 1 | 3327-77-9 | Штуцер | |
| 2 | 748-02-138 | Стопор | |
| 3 | 748-02-180СП | Ручка | |
| 4 | Проволока КС3 [ГОСТ 792-67] | Проволока КС3 | |
| 5 | Винт ВМ4-6gх30.58.016 [ГОСТ 17473-80] | Винт ВМ4-6gх30.58.016 | |
| 6 | Шайба 4Т 65Г 06 [ГОСТ 6402-70] | Шайба 4Т 65Г 06 | |
| 7 | 730-26-261 | Сальник | |
| 8 | 730-26-251 | Регулятор | |
| 9 | 748-02-205 | Стакан | |
| 10 | 730-26-254 | Прокладка | |
| 11 | 700-40-7197 | Прокладка | |
| 12 | 748-02-114 | Прокладка | |
| 13 | 748-02-433 | Барашек | |
| 14 | МН 4152-62 | Кольцо 12х18 | |
| 15 | МН 4152-62 | Кольцо 12х18 | |
| 16 | 700-35-2161 | Винт | |
| 17 | 700-35-20 | Винт | |
| 18 | Шайба 8Т 65Г 09 [ГОСТ 6402-70] | Шайба 8Т 65Г 09 | |
| 19 | 700-31-179 | Шайба | |
| 20 | Штифт 4 и 8х16 [ОСТ 3-2234-80] | Штифт 4 и 8х16 | |
| 21 | 700-58-2499 | Кольцо | |
| 22 | 748-02-83 | Заглушка | |
| 23 | 748-02-74 | Картер | |
| 24 | 748-02-167СП | Толкатель | |
| 25 | 700-30-200 | Гайка | |
| 26 | 730-26-544 | Болт регулировочный | |
| 27 | 3327-81-1 | Тарелка | |
| 28 | 700-38-39 | Пружина | |
| 29 | 3327-80-1 | Тарелка | |
| 30 | 748-02-186СП | Гильза | |
| 31 | 327-58-1 | Гильза | |
| 32 | 327-57-5 | Плунжер | |
| 33 | 3327-61-2 | Прокладка | |
| 34 | 3327-60-1 | Седло клапана нагнетательного | |
| 35 | 3327-59-1А | Клапан | |
| 36 | 3327-78-1 | Пружина | |
| 37 | 3327-121-1 | Ограничитель |
Содержащиеся в справочниках-каталогах запасные части и детали не предлагаются к продаже, а носят исключительно информационный характер