Каталог запасных частей к технике: ЧТЗ ДЭТ-250М2. Механизм управления
1
2
3
3
4
4
5
5
6
6
7
7
8
8
9
9
10
11
12
12
13
13
14
15
16
16
17
17
18
18
19
19
20
20
21
21
22
22
23
23
24
24
25
25
26
26
27
27
28
28
29
29
30
30
31
31
32
32
33
33
34
34
35
35
36
36
37
37
38
38
39
40
41
42
42
43
43
44
45
46
46
47
47
48
48
49
49
50
50
51
51
52
52
53
54
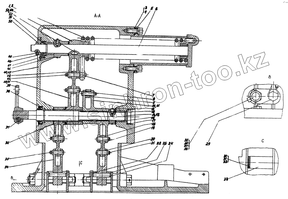
| Позиция на иллюстрации | Заводской номер детали | Название детали | |
|---|---|---|---|
| 1 | 700-38-809 | Пружина | |
| 2 | 700-38-810 | Пружина | |
| 3 | 748-18-170 | Прокладка | |
| 3 | 748-18-170-1 | Прокладка | |
| 4 | 748-18-462 | Кольцо | |
| 4 | 748-18-462 | Кольцо | |
| 5 | 748-18-168СП | Стакан | |
| 5 | 748-18-168СП | Стакан | |
| 6 | 748-18-296 | Валик | |
| 6 | 748-18-296 | Валик | |
| 7 | 748-18-276 | Ролик | |
| 7 | 748-18-276 | Ролик | |
| 8 | 700-47-63 | Валик | |
| 8 | 700-47-63 | Валик | |
| 9 | 748-18-277 | Ролик | |
| 9 | 748-18-277 | Ролик | |
| 10 | 748-18-155 | Рычаг правый | |
| 11 | 748-18-443 | Рычаг левый | |
| 12 | Проволока КО 1,6 [ГОСТ 792-67] | Проволока КО 1,6 | |
| 12 | Проволока КО 1,6 [ГОСТ 792-67] | Проволока КО 1,6 | |
| 13 | Винт ВМ10-8gх20.14Н [ГОСТ 1478-84] | Винт ВМ10-8gх20.14Н | |
| 13 | Винт ВМ10-8gх20.14Н [ГОСТ 1478-84] | Винт ВМ10-8gх20.14Н | |
| 14 | 748-18-457 | Валик правый | |
| 15 | 748-18-458 | Валик | |
| 16 | 748-18-163 | Кольцо | |
| 16 | 748-18-163 | Кольцо | |
| 17 | 748-18-275 | Заглушка | |
| 17 | 748-18-275 | Заглушка | |
| 18 | 748-18-167 | Серьга | |
| 18 | 748-18-167 | Серьга | |
| 19 | 700-31-443 | Шайба | |
| 19 | 700-31-443 | Шайба | |
| 20 | 748-18-169 | Рычаг | |
| 20 | 748-18-169 | Рычаг | |
| 21 | 700-47-56 | Валик | |
| 21 | 700-47-56 | Валик | |
| 22 | 748-18-223 | Упор | |
| 22 | 748-18-223 | Упор | |
| 23 | 748-18-368 | Накладка | |
| 23 | 748-18-368 | Накладка | |
| 24 | 700-32-98 | Штифт | |
| 24 | 700-32-98 | Штифт | |
| 25 | 700-28-357 | Болт | |
| 25 | 700-28-357 | Болт | |
| 26 | 700-31-2489 | Шайба | |
| 26 | 700-31-2489 | Шайба | |
| 27 | Гайка М20х1,5-7Н.6.019 [ГОСТ 5915-70] | Гайка М20х1,5-7Н.6.019 | |
| 27 | Гайка М20х1,5-7Н.6.019 [ГОСТ 5915-70] | Гайка М20х1,5-7Н.6.019 | |
| 28 | Шнур асбестовый ШАОН 2,0 [ГОСТ 1779-83] | Шнур асбестовый ШАОН 2,0 | |
| 28 | Шнур асбестовый ШАОН 2,0 [ГОСТ 1779-83] | Шнур асбестовый ШАОН 2,0 | |
| 29 | 748-18-103 | Болт | |
| 29 | 748-18-103 | Болт | |
| 30 | 700-40-60 | Прокладка | |
| 30 | 700-40-60 | Прокладка | |
| 31 | 700-40-61 | Прокладка | |
| 31 | 700-40-61 | Прокладка | |
| 32 | 700-40-62 | Прокладка | |
| 32 | 700-40-62 | Прокладка | |
| 33 | 748-18-267 | Труба | |
| 33 | 748-18-267 | Труба | |
| 34 | 748-18-168 | Рычаг | |
| 34 | 748-18-168 | Рычаг | |
| 35 | Шплинт 3,2х18 [ГОСТ 397-79] | Шплинт 3,2х18 | |
| 35 | Шплинт 3,2х18 [ГОСТ 397-79] | Шплинт 3,2х18 | |
| 36 | 700-31-453 | Кольцо | |
| 36 | 700-31-453 | Кольцо | |
| 37 | Болт М10-6gх25.58.019 [ГОСТ 7796-70] | Болт М10-6gх25.58.019 | |
| 37 | Болт М10-6gх25.58.019 [ГОСТ 7796-70] | Болт М10-6gх25.58.019 | |
| 38 | 308-170 | Манжета с пружиной | |
| 38 | 308-170 | Манжета с пружиной | |
| 39 | 748-18-178 | Рычаг | |
| 40 | 748-18-145СП | Рычаг | |
| 41 | 748-18-146СП | Рычаг | |
| 42 | 700-47-64 | Валик | |
| 42 | 700-47-64 | Валик | |
| 43 | 748-18-152 | Серьга | |
| 43 | 748-18-152 | Серьга | |
| 44 | 748-18-218СП | Корпус | |
| 45 | 748-18-219СП | Корпус | |
| 46 | 748-18-149 | Втулка | |
| 46 | 748-18-149 | Втулка | |
| 47 | Винт ВМ5-6gх10.58.019 [ГОСТ 17475-80] | Винт ВМ5-6gх10.58.019 | |
| 47 | Винт ВМ5-6gх10.58.019 [ГОСТ 17475-80] | Винт ВМ5-6gх10.58.019 | |
| 48 | 748-18-295 | Крышка | |
| 48 | 748-18-295 | Крышка | |
| 49 | Винт ВМ6-8gх12.14Н.019 [ГОСТ 1478-84] | Винт ВМ6-8gх12.14Н.019 | |
| 49 | Винт ВМ6-8gх12.14Н.019 [ГОСТ 1478-84] | Винт ВМ6-8gх12.14Н.019 | |
| 50 | 748-18-297 | Указатель | |
| 50 | 748-18-297 | Указатель | |
| 51 | 327-18-1А | Манжета армированная | |
| 51 | 327-18-1А | Манжета армированная | |
| 52 | Шпонка 6х9 [ГОСТ 24071-80] | Шпонка 6х9 | |
| 52 | Шпонка 6х9 [ГОСТ 24071-80] | Шпонка 6х9 | |
| 53 | 748-18-298 | Рычаг | |
| 54 | 748-18-299 | Рычаг |
Содержащиеся в справочниках-каталогах запасные части и детали не предлагаются к продаже, а носят исключительно информационный характер