Каталог запасных частей к технике: ЧТЗ ДЭТ-250М2. Механизм управления
1
1
2
2
3
3
4
4
5
5
6
6
7
7
8
8
9
9
10
10
11
12
13
13
14
14
15
15
16
16
17
17
18
18
19
19
20
20
21
21
22
22
23
24
25
26
27
27
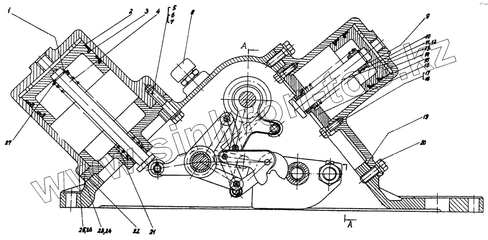
| Позиция на иллюстрации | Заводской номер детали | Название детали | |
|---|---|---|---|
| 1 | 700-58-2466 | Кольцо | |
| 1 | 700-58-2466 | Кольцо | |
| 2 | 748-18-253 | Поршень | |
| 2 | 748-18-253 | Поршень | |
| 3 | 748-16-22 | Манжета | |
| 3 | 748-16-22 | Манжета | |
| 4 | 748-18-278 | Шток | |
| 4 | 748-18-278 | Шток | |
| 5 | 700-31-96 | Шайба | |
| 5 | 700-31-96 | Шайба | |
| 6 | Болт М12-6gх55.58.019 [ГОСТ 7796-70] | Болт М12-6gх55.58.019 | |
| 6 | Болт М12-6gх55.58.019 [ГОСТ 7795-70] | Болт М12-6gх55.58.019 | |
| 7 | Шайба 12 ОТ 65Г 09 [ГОСТ 6402-70] | Шайба 12 ОТ 65Г 09 | |
| 7 | Шайба 12 ОТ 65Г 09 [ГОСТ 6402-70] | Шайба 12 ОТ 65Г 09 | |
| 8 | 01265СП | Сапун | |
| 8 | 01265СП | Сапун | |
| 9 | 748-18-303 | Втулка | |
| 9 | 748-18-303 | Втулка | |
| 10 | 700-38-812 | Пружина | |
| 10 | 700-38-812 | Пружина | |
| 11 | 748-18-139 | Корпус бустера | |
| 12 | 748-18-140 | Корпус бустера | |
| 13 | 748-18-279 | Шток | |
| 13 | 748-18-279 | Шток | |
| 14 | 748-18-184 | Поршень | |
| 14 | 748-18-184 | Поршень | |
| 15 | 748-18-125 | Манжета | |
| 15 | 748-18-125 | Манжета | |
| 16 | 748-18-129СП | Крышка | |
| 16 | 748-18-129СП | Крышка | |
| 17 | Болт М10-6gх25.58.019 [ГОСТ 7796-70] | Болт М10-6gх25.58.019 | |
| 17 | Болт М10-6gх25.58.019 [ГОСТ 7796-70] | Болт М10-6gх25.58.019 | |
| 18 | Шайба 10 ОТ 65Г 09 [ГОСТ 6402-70] | Шайба 10 ОТ 65Г 09 | |
| 18 | Шайба 10 ОТ 65Г 09 [ГОСТ 6402-70] | Шайба 10 ОТ 65Г 09 | |
| 19 | 748-18-211-1 | Прокладка | |
| 19 | 748-18-211 | Прокладка | |
| 20 | Болт М12-6gх35.58.019 [ГОСТ 7796-70] | Болт М12-6gх35.58.019 | |
| 20 | Болт М12-6gх35.58.019 [ГОСТ 7796-70] | Болт М12-6gх35.58.019 | |
| 21 | 700-38-874 | Пружина | |
| 21 | 700-38-874 | Пружина | |
| 22 | 748-18-205-1 | Прокладка | |
| 22 | 748-18-205 | Прокладка | |
| 23 | 748-18-176СП | Крышка | |
| 24 | 748-18-177СП | Крышка | |
| 25 | 748-18-254 | Корпус бустера | |
| 26 | 748-18-255 | Корпус бустера | |
| 27 | 3193 | Шайба | |
| 27 | 3193 | Шайба |
Содержащиеся в справочниках-каталогах запасные части и детали не предлагаются к продаже, а носят исключительно информационный характер