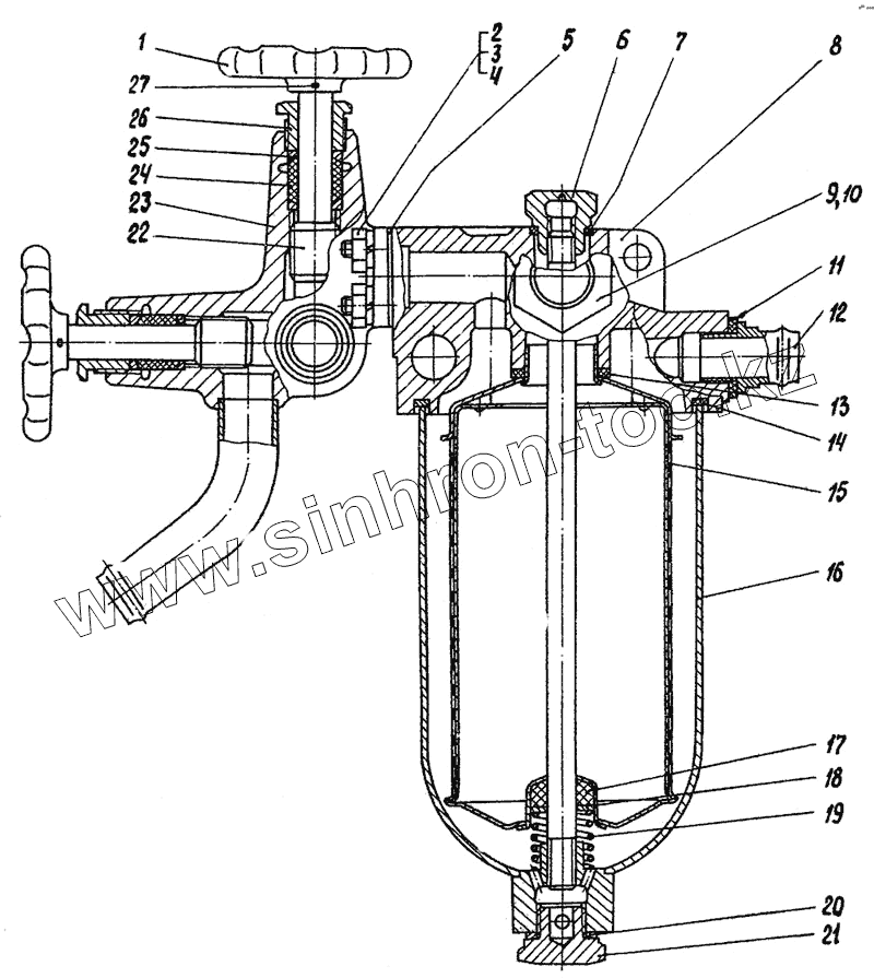
Каталог запасных частей к технике: ЧТЗ ДЭТ-250М2. Фильтр топливный
1
2
3
4
5
6
7
8
9
10
11
12
13
14
15
16
17
18
19
20
21
22
23
24
25
26
27
| Позиция на иллюстрации | Заводской номер детали | Название детали | |
|---|---|---|---|
| 748-25-202СП | 748-25-202СП | Крышка | |
| 748-25-352СП | 748-25-352СП | Кран | |
| 1 | 748-25-639 | Маховичок | |
| 2 | ГайкаМ8-7Н.6.019 [ГОСТ 5915-70] | ГайкаМ8-7Н.6.019 | |
| 3 | Шайба 8Т 65Г 09 [ГОСТ 6402-70] | Шайба 8Т 65Г 09 | |
| 4 | Шпилька М8-6gх20.66.029 [ГОСТ 22034-76] | Шпилька М8-6gх20.66.029 | |
| 5 | 748-25-391 | Прокладка | |
| 6 | 329-29 | Гайка | |
| 7 | 329-30 | Прокладка | |
| 8 | 748-25-213 | Крышка фильтра | |
| 9 | МН 4152-62 | Кольцо 12х18 | |
| 10 | 748-25-398 | Штуцер | |
| 11 | МН 4152-62 | Кольцо 12х18 | |
| 12 | 748-25-294 | Трубка | |
| 13 | 46571 | Кольцо СП35-25-3 | |
| 14 | КВ-05-100 | Прокладка | |
| 15 | КВ-сб 05-35 | Секция фильтра в сборе | |
| 16 | 748-25-334СП | Стакан | |
| 17 | 46570 | Кольцо СП23-10-10 | |
| 18 | Шайба 10.02 [ГОСТ 11371-78] | Шайба 10.02 | |
| 19 | 700-38-2662 | Пружина | |
| 20 | КВ-05-97 | Прокладка | |
| 21 | КВ-05-102 | Пробка спускная | |
| 22 | КВ-05-26 | Клапан | |
| 23 | 748-25-351 СП | Корпус | |
| 24 | 730-05-461 | Прокладка | |
| 25 | КВ-05-30 | Шайба | |
| 26 | КВ-05-27 | Нажимная гайка | |
| 27 | Проволока 4-1 [ГОСТ 3282-74] | Проволока 4-1 |
Содержащиеся в справочниках-каталогах запасные части и детали не предлагаются к продаже, а носят исключительно информационный характер