Каталог запасных частей к технике: ЧТЗ ДЭТ-250М2. Бак масляный
1
2
3
4
5
6
7
8
9
10
11
12
13
14
15
16
17
18
19
20
21
22
23
24
25
26
27
28
29
30
31
32
33
34
35
36
37
38
39
40
41
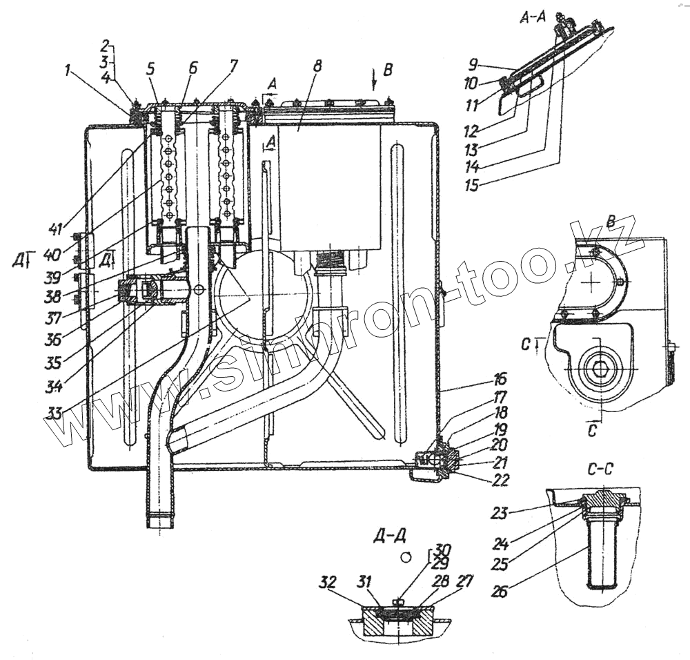
| Позиция на иллюстрации | Заводской номер детали | Название детали | |
|---|---|---|---|
| 748-99-429СП | 748-99-429СП | Крышка | |
| 748-99-592СП | 748-99-592СП | Клапан | |
| 1 | 46799 | Прокладка | |
| 2 | Гайка М8-7Н.6.019 [ГОСТ 5915-70] | Гайка М8-7Н.6.019 | |
| 3 | Шайба 8Т 65Г 09 [ГОСТ 6402-70] | Шайба 8Т 65Г 09 | |
| 4 | Шпилька М8-6gх25.66.019 [ГОСТ 22034-76] | Шпилька М8-6gх25.66.019 | |
| 5 | 26982СП | Крышка | |
| 6 | 38515 | Пружина | |
| 7 | 26981 | Шайба | |
| 8 | 748-99-432СП | Корпус | |
| 9 | 748-99-428СП | Крышка | |
| 10 | Болт М8-6gх16.88.35.019 [ГОСТ 7796-70] | Болт М8-6gх16.88.35.019 | |
| 11 | 748-99-772 | Прокладка | |
| 12 | 748-99-770 | Фильтр | |
| 13 | 748-99-769 | Кассета | |
| 14 | 1200 | Крышка | |
| 15 | 4286 | Набивка сапуна | |
| 16 | 748-99-507СП | Бак | |
| 17 | 700-38-1933 | Пружина | |
| 18 | 748-20-1013 | Седло | |
| 19 | Шарик Б25.4-100 [ГОСТ 3722-81] | Шарик Б25.4-100 | |
| 20 | Проволока КО 1,6 [ГОСТ 792-67] | Проволока КО 1,6 | |
| 21 | 700-37-2242 | Пробка | |
| 22 | МН 4152-62 | Кольцо 12х18 | |
| 23 | 730-04-130 | Кольцо | |
| 24 | 730-04-225 | Прокладка | |
| 25 | 748-09-329 | Пробка | |
| 26 | 748-99-349СП | Фильтр | |
| 27 | 700-404695 | Манжета | |
| 28 | 18-26-620 | Отражатель | |
| 29 | Болт М6-6gх14.88.35.019 [ГОСТ 7798-70] | Болт М6-6gх14.88.35.019 | |
| 30 | Шайба 6Т 65Г 09 [ГОСТ 6402-70] | Шайба 6Т 65Г 09 | |
| 31 | 25741 | Стекло | |
| 32 | 50-26-429 | Крышка | |
| 33 | 26987 | Шайба | |
| 34 | 748-99-1173 | Корпус | |
| 35 | 748-99-985 | Клапан | |
| 36 | 748-99-1172 | Винт | |
| 37 | 700-38-669 | Пружина | |
| 38 | 40601 | Кольцо | |
| 39 | 54.57.020А | Элемент фильтрующий | |
| 40 | 26968СП | Труба | |
| 41 | 700-40-5462 | Прокладка |
Содержащиеся в справочниках-каталогах запасные части и детали не предлагаются к продаже, а носят исключительно информационный характер