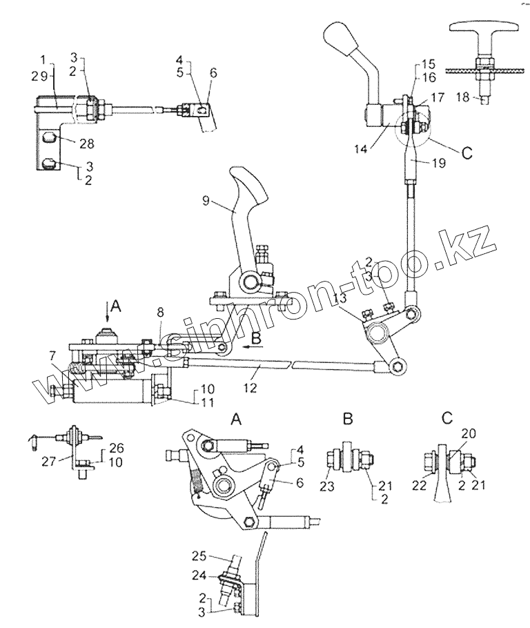
Каталог запасных частей к технике: ЧТЗ Бульдозер Б14. Управление дизелем (с электростартерным пуском)
1
2
2
2
2
2
2
3
3
3
3
4
4
5
5
6
6
7
8
9
10
10
11
12
13
14
15
16
17
18
19
20
21
21
22
23
24
25
26
27
28
29
| Позиция на иллюстрации | Заводской номер детали | Название детали | |
|---|---|---|---|
| 114-74-1СП | 114-74-1СП | Управление дизелем | |
| 1 | 700-54-67 | Хомутик | |
| 2 | Шайба10.ОТ.65Г.019 | Шайба 10.ОТ.65Г.019 | |
| 3 | БолтМ10-6gх25.88.35.019 | Болт М10-6gх25.88.35.019 | |
| 4 | Шплинт2х25 | Шплинт 2х25 | |
| 5 | 700-47-2111 | Ось | |
| 6 | 64-74-88 | Вилка | |
| 7 | 114-74-100СП | Акселератор | |
| 8 | 114-74-117СП | Тяга | |
| 9 | 114-74-105СП | Деселератор | |
| 10 | Шайба12.ОТ.65Г.09 | Шайба 12.ОТ.65Г.09 | |
| 11 | ГайкаМ12-7Н.6.019 | Гайка | |
| 12 | 114-74-116-02СП | Тяга | |
| 13 | 114-74-113СП | Мостик | |
| 14 | 114-74-110СП | Мостик | |
| 15 | БолтМ8-6gх20.88.35.019 | Болт | |
| 16 | Шайба8Т.65Г.09 | Шайба 8Т.65Г.09 | |
| 17 | 3193-1 | Шайба | |
| 18 | ЧТЗ-173.4329.02200 | Трос ЧТЗ-173.4329.02200 | |
| 19 | 114-74-116-01СП | Тяга | |
| 20 | ГайкаМ10-7Н.6.019 | Гайка | |
| 21 | 31437 | Шайба | |
| 22 | 31308-1 | Шайба | |
| 23 | 700-28-2508 | Болт | |
| 24 | 114-74-2 | Кронштейн | |
| 25 | 100.М4422.02800 | Трос дистанционного управления | |
| 26 | БолтМ12-6gх20.46.019 | Болт М12-6gх20.46.019 | |
| 27 | 64-74-86 | Кронштейн | |
| 28 | 64-74-87 | Кронштейн | |
| 29 | 42212 | Муфта |
Содержащиеся в справочниках-каталогах запасные части и детали не предлагаются к продаже, а носят исключительно информационный характер