Вернуться на главную
Поиск
Каталоги запчастей к технике
Спецтехника
ЧТЗ
Бульдозер Б14
Тормоза коробки передач
Каталог запасных частей к технике: ЧТЗ Бульдозер Б14. Тормоза коробки передач
zoom-in
zoom-out
enlarge
shrink
circle-right
circle-left
file-text2
info
cart
Тип техники
Не выбрано
Легковые автомобили
Грузовые автомобили и прицепы
Автобусы
Сельхозтехника
Спецтехника
Двигатели
Мототехника
Марка
Не выбрано
Ammann
BOMAG
CARMIX
CASE IH
Changlin
ChengGong
Dimex
Doosan
DYNAPAC
Foton
HAMM
Hidromek
Hitachi
Hyundai
JCB
JLG
John Deere
Komatsu
LIEBHERR
LiuGong
Lonking (LongGong)
Luneng
MANITOU
Mitsuber
New Holland
PENGPU
RM-Terex
SANY
SDLG
SEM
Shantui
Shehwa HBXG
Soosan
TIGARBO
VOGELE
Volvo
WAY
WIRTGEN
XCMG
XGMA
Xiamen
YTO
Yuchai
Zoomlion
Автокран
АЗСМ
Алтайлесмаш
Амкодор
АОМЗ
Атек
АТЗ
Балканкар Рекорд
БелАЗ
Беловеж
Борекс
Брянский Арсенал
Булат
ВЭКС
ГАЗ
Геомаш
Гидромаш
Донекс
Дормаш
Дормашина
Дорэлектромаш
ДЭЗ
ЕлАЗ
ЗЗГТ
Ижнефтемаш
Канаш-электрокар
КЗКТ
ККЗ
Клевер
Клинцовский автокрановый завод
КМЗ
КМЗ 1 Мая
Ковровец
Коммаш
Кранэкс
КЭЗ
КЭМЗ
ЛЗА
МАЗ
МЗИК
МЗКМ
МЗКТ
Михневский РМЗ
МоАЗ
Мозырский МЗ
МТЗ
ОЗП
Онежец
ПАО "ТЗА"
ППС Детва
Промтрактор
ПТЗ
Раскат
СпецАгрегат
ТВЭКС
ТТМ
УВЗ
Угличмаш
УЗТМ
ХТЗ
ЧЗКМ
ЧСДМ
ЧТЗ
ЭКСКО
ЭКСМАШ
ЮрМаш
Модель
Не выбрано
Бульдозер Б11 (2010)
Бульдозер Б12 (2010)
Бульдозер Б14 (2010)
ДЭТ-250М2 (2000)
Кран ТР-20, ТР-12 (2006)
Рабочее оборудование Б10М (2006)
Т-10.02 (1995)
Т-10М (2012)
Т-130 (1990)
Т-170
Т-170М-01
Схема
>
Не выбрано
Установка двигателя
Установка двигателя - продолжение
Установка агрегатов систем впуска и выпуска (с воздуш-ным фильтром Europiclon 45 600 92 911)
Установка вентилятора
Установка радиаторов 114-301СП
Установка радиаторов 114-303СП
Блок радиаторов 64-08-15СП
Блок радиаторов 114-08-1СП
Электрооборудование трактора 114-10-1СП
Электрооборудование трактора 114-10-1СП продолжение
Электрооборудование трактора 114-10-1СП продолжение
Электрооборудование кабины 114-10-200СП
Электрооборудование кабины 114-10-200СП - продолжение
Электрооборудование двигателя ЯМЗ
Блок электромонтажный
Щиток управления
Установка панели приборов
Панель пуска 114-10-156СП
Панель пуска 114-10-251СП
Трансмиссия
Трансмиссия-продолжение
Коробка передач
Корпус, проставка, клапан
Водило
Вал с деталями
Тормоза коробки передач
Вал-шестерня с деталями
Блок клапанов, блок передач
Плита, блок реверса
Коробка передач, детали крепления
Коробка передач, детали крепления
Управление коробкой передач
Механизм управления тормозами
Тяга
Тяги
Тяги
Тяги
Приводы управления трактором
Блок управления
Установка мостиков управления
Мостик
Мостик
Стяжка
Гидротрансформатор с редуктором приводов
Гидротрансформатор с редуктором приводов - продолжение
Гидротрансформатор с редуктором приводов - продолжение
Клапан слива
Клапан
Главная передача с бортовыми фрикционами
Бортовые фрикционы
Корпус
Сервомеханизм управления поворотом
Тормоза
Установка бортовых редукторов
Редукторы бортовые
Водило
Опора
Установка ведущего колеса
Установка тележек. Балка
Установка прицепного устройства маятникового типа
Тележки
Каток поддерживающий
Колеса натяжные
Механизмы натяжения и сдавания
Гусеница
Установка сиденья
Установка модуля колонок управления
Установка колонок управления
Колонки управления
Крышки колонок управления
Установка кожухов
Платформа
Инструментальные ящики
Фальшпол
Установка крышки отсека АКБ
Установка кожухов
Установка топливных баков
Система трубопроводов топлива
Установка фильтра грубой очистки топлива (PreLine 270)
Модуль рабочего места
Установка модуля рабочего места
Установка модуля рабочего места - продолжение
Установка подогревателя «HYDRONIC М12»
Установка подогревателя «Webasto Thermo 90STD»
Система отопления и вентиляции
Установка отопителя "ZENITH 8000" и воздуховодо
Установка отопителя "ZENITH 8000"
Пакет фильтрующий
Система отопления и вентиляции - продолжение
Установка кардана
Оборудование рыхлительное 12Р, 12Н
Зуб
Установка трубопроводов
Установка гидроцилиндров
Оборудование рыхлительное
Зуб
Оборудование бульдозерное 12Е, 12В
Оборудование бульдозерное 12Е, 12В (продолжение)
Раскос
Отвал (прямой)
Гидросистема бульдозера
Отвал (полусферический)
Тяга
Подкос
Гидрораскос
Гидрозамок
Установка защиты двигателя
Установка защиты трансмиссии
Установка прицепного устройства (жесткого типа)
Капот
Капот - продолжение
Капот - продолжение
Капот - продолжение
Установка кабины
Двери
Заглушки
Кабина
Кабина - продолжение
Установка устройства защиты оператора
Модуль
Установка щитков
Установка щитков от схода гусениц
Установка щитков
Установка щитков от схода гусениц
Установка стеклоомывателя
Установка кондиционера "Август"
Установка компрессора на двигатель "ЯМЗ"
Управление дизелем (с электростартерным пуском)
Акселератор
Деселератор
Мостик
Мостик
Тяги
Тяги
Схема расположения подшипников на тракторе
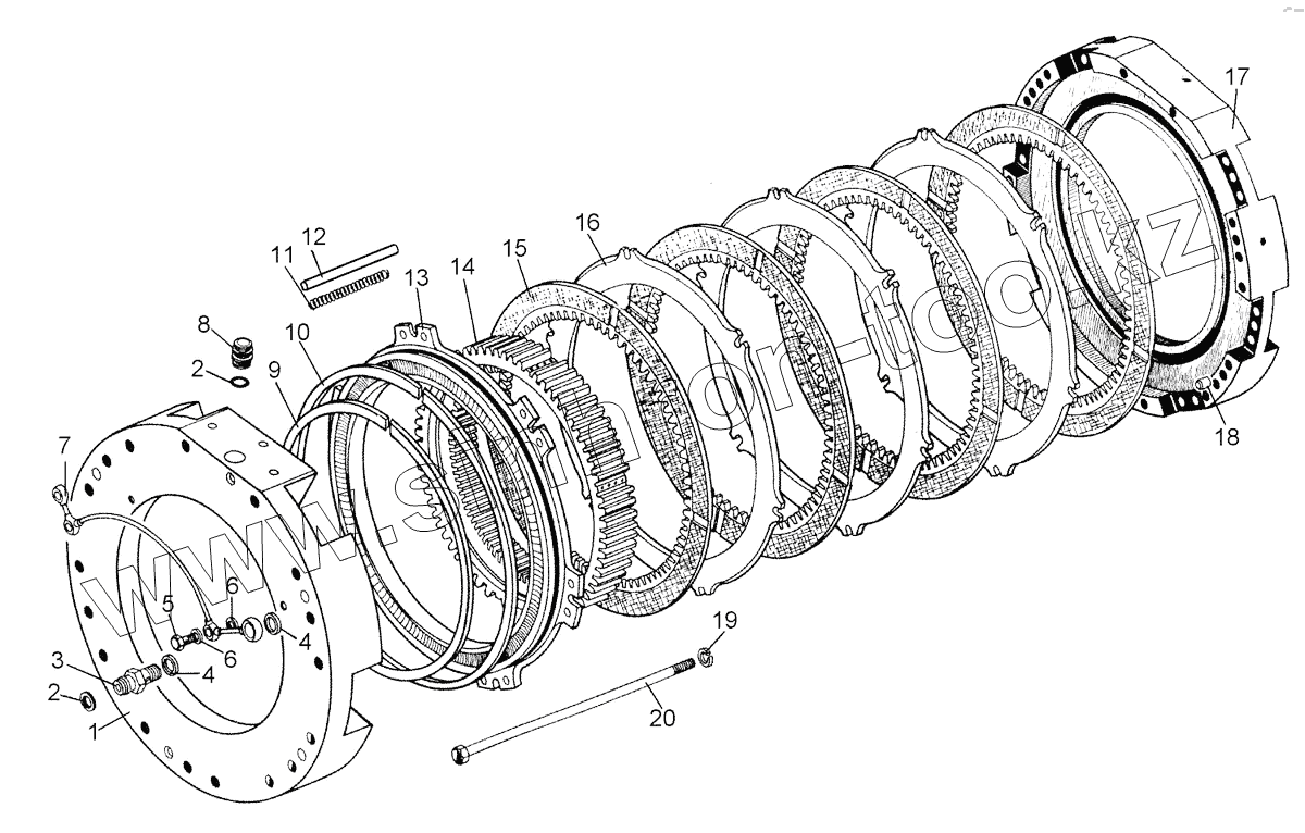
1
2
2
3
4
4
5
6
6
7
8
9
10
11
12
13
14
15
16
17
18
19
20
Позиция на иллюстрации
Заводской номер детали
Название детали
1
64-12-8-01
Корпус
1
64-12-7-01
Корпус тормоза
1
64-12-6-01
Корпус тормоза
1
64-12-99-01
Корпус тормоза
1
64-12-101-01
Корпус тормоза
2
020-025-30-2-5
Кольцо 020-025-30-2-5
3
64-12-38
Втулка
4
18х24МН4152-62
Кольцо 18х24 МН 4152-62
5
67143
Штуцер
6
10х16МН4152-62
Кольцо 10х16 МН 4152-62
7
64-12-113СП
Труба
8
62-12-555
Втулка
9
700-42-3196
Кольцо уплотнительное
10
700-42-3196-01
Кольцо уплотнительное
11
700-38-2685
Пружина
11
700-38-2684
Пружина
12
62-12-61
Направляющая дисков
12
62-12-59
Направляющая дисков
12
62-12-60
Направляющая дисков
13
64-12-22-01
Поршень
14
64-12-24
Колесо зубчатое
14
64-12-26
Колеса зубчатые
14
64-12-27
Колеса зубчатые
14
64-12-28
Колеса зубчатые
14
64-12-25
Колеса зубчатые
15
64-12-115СП
Диск
16
62-12-58
Диск
17
64-12-123СП
Корпус
18
700-32-2202
Штифт
19
Шайба12.ОТ.65Г.09
Шайба 12.ОТ.65Г.09
20
62-12-38
Стяжка
20
64-12-121СП
Стяжка
Содержащиеся в справочниках-каталогах запасные части и детали не предлагаются к продаже, а носят исключительно информационный характер
Дополнительная информация
×
Название:
Номер:
Примечание: