Каталог запасных частей к технике: ЧТЗ Бульдозер Б14. Каток поддерживающий
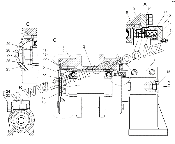
1
2
3
4
5
6
7
8
9
10
11
12
13
14
15
16
16
17
17
18
19
20
21
22
23
24
25
26
27
28
29
| Позиция на иллюстрации | Заводской номер детали | Название детали | |
|---|---|---|---|
| 50-21-416СП | 50-21-416СП | Каток поддерживающий | |
| 1 | 50-21-425СП | Каток поддерживающий | |
| 2 | 50-21-417-01СП | Ролик | |
| 2 | 50-21-417СП | Ролик | |
| 3 | 50-21-395-01 | Ролик | |
| 3 | 50-21-434-01 | Втулка | |
| 4 | 50-21-314-01 | Кронштейн | |
| 5 | КАТ-40-5432 | Манжета | |
| 6 | 24-21-126 | Кольцо | |
| 7 | 24-21-127 | Кольцо | |
| 8 | КАТ-40-5019 | Прокладка | |
| 9 | 24-21-130 | Обойма | |
| 10 | 50-21-419СП | Упор | |
| 11 | 700-38-2568 | Пружина | |
| 12 | 50-21-398 | Лабиринт | |
| 13 | 700-58-2369 | Кольцо | |
| 14 | 700-58-2624 | Кольцо пружинное | |
| 15 | 700-37-2240 | Пробка | |
| 16 | БолтМ12-6gх30.88.35.019 | Болт М12-6gх30.88.35.019 | |
| 16 | 2816 | Болт | |
| 17 | Шайба12Т.65Г.09 | Шайба 12Т.65Г.09 | |
| 17 | Шайба12.ОТ.65Г.09 | Шайба 12.ОТ.65Г.09 | |
| 18 | 64-21-155 | Ось | |
| 19 | 50-21-436 | Крышка | |
| 20 | 64-21-156 | Пластина | |
| 21 | 311 | Подшипник шариковый радиальный однорядный | |
| 22 | КАТ-21-60-03 | Кольцо | |
| 23 | БолтМ20х1,5х62 | Болт | |
| 24 | Шайба20.ОТ.65Г.09 | Шайба 20.ОТ.65Г.09 | |
| 25 | 50-21-318 | Кольцо | |
| 26 | 35-21-37 | Шплинт | |
| 27 | 50-21-385 | Крышка | |
| 28 | 50-21-396 | Ось | |
| 29 | 700-30-2195 | Гайка |
Содержащиеся в справочниках-каталогах запасные части и детали не предлагаются к продаже, а носят исключительно информационный характер