Вернуться на главную
Поиск
Каталоги запчастей к технике
Спецтехника
ЧТЗ
Бульдозер Б12
Водило
Каталог запасных частей к технике: ЧТЗ Бульдозер Б12. Водило
zoom-in
zoom-out
enlarge
shrink
circle-right
circle-left
file-text2
info
cart
Тип техники
Не выбрано
Легковые автомобили
Грузовые автомобили и прицепы
Автобусы
Сельхозтехника
Спецтехника
Двигатели
Мототехника
Марка
Не выбрано
Ammann
BOMAG
CARMIX
CASE IH
Changlin
ChengGong
Dimex
Doosan
DYNAPAC
Foton
HAMM
Hidromek
Hitachi
Hyundai
JCB
JLG
John Deere
Komatsu
LIEBHERR
LiuGong
Lonking (LongGong)
Luneng
MANITOU
Mitsuber
New Holland
PENGPU
RM-Terex
SANY
SDLG
SEM
Shantui
Shehwa HBXG
Soosan
TIGARBO
VOGELE
Volvo
WAY
WIRTGEN
XCMG
XGMA
Xiamen
YTO
Yuchai
Zoomlion
Автокран
АЗСМ
Алтайлесмаш
Амкодор
АОМЗ
Атек
АТЗ
Балканкар Рекорд
БелАЗ
Беловеж
Борекс
Брянский Арсенал
Булат
ВЭКС
ГАЗ
Геомаш
Гидромаш
Донекс
Дормаш
Дормашина
Дорэлектромаш
ДЭЗ
ЕлАЗ
ЗЗГТ
Ижнефтемаш
Канаш-электрокар
КЗКТ
ККЗ
Клевер
Клинцовский автокрановый завод
КМЗ
КМЗ 1 Мая
Ковровец
Коммаш
Кранэкс
КЭЗ
КЭМЗ
ЛЗА
МАЗ
МЗИК
МЗКМ
МЗКТ
Михневский РМЗ
МоАЗ
Мозырский МЗ
МТЗ
ОЗП
Онежец
ПАО "ТЗА"
ППС Детва
Промтрактор
ПТЗ
Раскат
СпецАгрегат
ТВЭКС
ТТМ
УВЗ
Угличмаш
УЗТМ
ХТЗ
ЧЗКМ
ЧСДМ
ЧТЗ
ЭКСКО
ЭКСМАШ
ЮрМаш
Модель
Не выбрано
Бульдозер Б11 (2010)
Бульдозер Б12 (2010)
Бульдозер Б14 (2010)
ДЭТ-250М2 (2000)
Кран ТР-20, ТР-12 (2006)
Рабочее оборудование Б10М (2006)
Т-10.02 (1995)
Т-10М (2012)
Т-130 (1990)
Т-170
Т-170М-01
Схема
>
Не выбрано
Оборудование бульдозерное 12Е
Отвал
Подкос
Установка двигателя
Установка двигателя
Установка агрегатов систем впуска и выпуска
Воздухоочиститель
Установка вентилятора
Установка радиаторов
Блок радиаторов
Электрооборудование подогревателя HY- DRONIC 35
Панель управления подогревателя HY- DRONIC 35
Трансмиссия
Трансмиссия
Перечень изменений в спецификациях каталога 64-18 КДС
Коробка передач - детали крепления
Перечень изменений в спецификациях каталога 64-18 КДС
Гидротрансформатор с редуктором приводов
Гидротрансформатор с редуктором приводов
Гидротрансформатор с редуктором приводов
Перечень изменений в спецификациях каталога 64-18 КДС
Установка бортовых редукторов
Редуктор бортовой (левый, правый)
Водило
Опора
Установка ведущего колеса
Установка тележек
Тележка (левая, правая)
Каток поддерживающий
Установка топливного бака
Установка топливного бачка (AIRTRONIC D4)
Установка гидросистемы
Установка передних трубопроводов
Управление перекосом отвала
Установка подогревателя HYDRONIC 35
Установка подогревателя ПЖД-30Е
Установка подогревателя ПЖД-30Е
Установка отопителя-вентилятора
Установка отопителя «AIR- TRONIC D4»
Установка кардана
Установка защиты кардана
Перечень изменений в спецификациях к каталогу 64-18КДС
Перечень изменений в спецификациях каталога 64-18КДС
Гидравлическая система управления трактором
Гидросистема питания, управления и смазки ГМТ
Гидросистема питания, управления и смазки ГМТ
Установка устройства защиты оператора
Перечень изменений в спецификациях каталога 64-18КДС
Механизм управления дизелем ЯМЗ
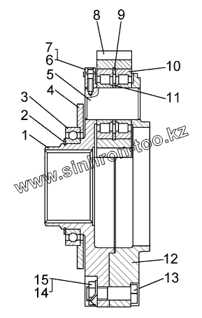
64-19-105СП
1
2
3
4
5
6
7
8
9
9
10
11
12
13
14
15
Позиция на иллюстрации
Заводской номер детали
Название детали
64-19-105СП
64-19-105СП
Водило
1
64-19-31
Опора водила
2
700-58-2653
Кольцо В160
3
1000932
Подшипник
4
64-19-48
Крышка
5
64-19-42
Ось сателлита
6
700-31-944-02
Шайба стопорная
7
700-28-2635
Болт стопорный
8
64-19-44
Сателлит
9
700-39-492
Кольцо В130
9
700-39-492-01
Кольцо В130
10
42312ЛМ
Подшипник
11
700-58-2623
Кольцо
12
64-19-32
Щека водила
13
700-28-2636
Болт призонный
14
700-30-2355
Гайка
15
700-31-2820
Шайба стопорная
Содержащиеся в справочниках-каталогах запасные части и детали не предлагаются к продаже, а носят исключительно информационный характер
Дополнительная информация
×
Название:
Номер:
Примечание: