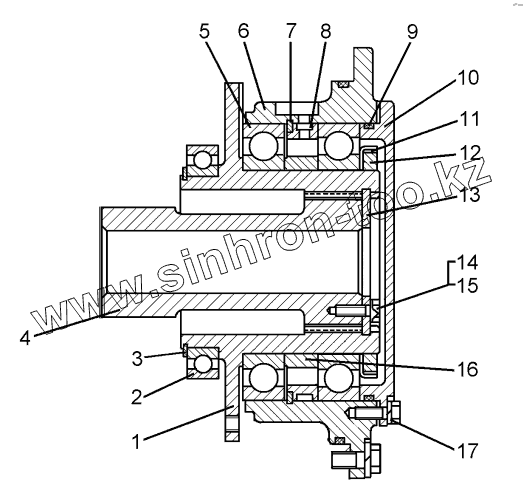
Каталог запасных частей к технике: ЧТЗ Бульдозер Б12. Опора
64-19-117СП
1
2
3
4
5
6
7
8
9
10
10
11
12
13
14
15
15
16
17
| Позиция на иллюстрации | Заводской номер детали | Название детали | |
|---|---|---|---|
| 64-19-117СП | 64-19-117СП | Опора | |
| 1 | 64-19-63 | Ступица | |
| 2 | 1000932 | Подшипник | |
| 3 | 700-58-2653 | Кольцо В160 | |
| 4 | 64-19-38 | Шестерня центральная | |
| 5 | 134 | Подшипник | |
| 6 | 64-19-65 | Опора | |
| 7 | 700-58-2618 | Кольцо В260 | |
| 8 | 64-19-37 | Втулка | |
| 9 | 714-15-56 | Кольцо | |
| 10 | 64-19-33 | Крышка | |
| 10 | 64-19-85 | Крышка | |
| 11 | 700-31-2810 | Шайба стопорная | |
| 12 | 700-30-2443 | Гайка | |
| 13 | 64-19-34 | Шайба зубчатая | |
| 14 | 28558 | Болт | |
| 15 | 700-31-2813 | Шайба замковая | |
| 15 | 700-31-2813-01 | Шайба замковая | |
| 16 | 64-19-36 | Втулка | |
| 17 | Шайба12ОТ65Г09 | Шайба |
Содержащиеся в справочниках-каталогах запасные части и детали не предлагаются к продаже, а носят исключительно информационный характер