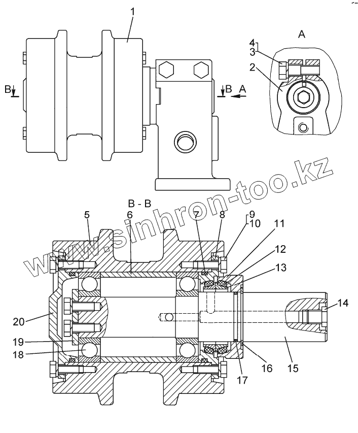
Каталог запасных частей к технике: ЧТЗ Бульдозер Б12. Каток поддерживающий
64-21-209СП
1
2
3
4
5
6
7
7
8
9
10
11
12
13
13
14
15
16
17
18
19
20
| Позиция на иллюстрации | Заводской номер детали | Название детали | |
|---|---|---|---|
| 64-21-209СП | 64-21-209СП | Каток поддерживающий | |
| 1 | 64-21-208СП | Каток поддерживающий | |
| 2 | 50-21-314-01 | Кронштейн | |
| 3 | БолтМ20х1,5х62 | Болт | |
| 4 | Шайба20ОТ65Г09 | Шайба | |
| 5 | 50-21-417СП | Ролик | |
| 6 | Кат-21-212 | Втулка дистанционная | |
| 7 | Кат-21-60-02 | Кольцо | |
| 7 | Кат-21-60-03 | Кольцо | |
| 8 | 64-21-170 | Шайба упорная | |
| 9 | 2816 | Болт | |
| 10 | Шайба12Т65Г09 | Шайба | |
| 11 | 64-21-169 | Лабиринт | |
| 12 | Кат-21-57 | Кольцо | |
| 13 | Кат-21-31 | Кольцо | |
| 13 | Кат-21-43 | Кольцо | |
| 14 | 700-37-2240 | Пробка | |
| 15 | 64-21-155-01 | Ось | |
| 16 | 700-58-2659 | Кольцо | |
| 17 | Кат-21-60-07 | Кольцо | |
| 18 | 311 | Подшипник шариковый радиальный однорядный | |
| 19 | 64-21-156 | Пластина | |
| 20 | 50-21-436 | Крышка |
Содержащиеся в справочниках-каталогах запасные части и детали не предлагаются к продаже, а носят исключительно информационный характер