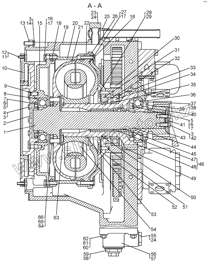
Каталог запасных частей к технике: ЧТЗ Бульдозер Б12. Гидротрансформатор с редуктором приводов
64-14-14СП
1
2
3
3
3
4
5
5
6
6
7
7
8
9
10
11
12
12
13
14
15
16
17
17
18
18
19
20
21
22
23
24
24
25
26
27
28
29
30
31
32
33
34
35
36
36
37
38
39
40
41
42
43
44
45
46
47
48
49
50
51
52
53
54
55
56
57
58
59
60
61
62
63
64
64
65
66
| Позиция на иллюстрации | Заводской номер детали | Название детали | |
|---|---|---|---|
| 64-14-14СП | 64-14-14СП | Гидротрансформатор с редуктором приводов | |
| 1 | 64-14-320 | Вал | |
| 2 | 700-18-13090 | Опора | |
| 3 | 28558 | Болт | |
| 4 | 700-31-2827 | Пластина стопорная | |
| 5 | 700-30-2266 | Гайка | |
| 6 | ВинтВМ8-8gх16.14Н.019 | Винт | |
| 7 | 62-14-61 | Пластина | |
| 8 | Кольцо155-160-36-2-2 | Кольцо | |
| 9 | 700-32-2249 | Штифт | |
| 10 | 700-18-4046СП | Фланец | |
| 11 | 700-28-2694 | Болт | |
| 12 | 700-31-2815 | Пластина стопорная | |
| 12 | 700-31-2815-01 | Пластина стопорная | |
| 13 | 700-40-9457 | Прокладка | |
| 14 | Шайба12ОТ65Г09 | Шайба | |
| 15 | 700-18-13024 | Корпус | |
| 16 | БолтМ12-6gх30.58.019 | Болт | |
| 17 | 700-31-2741-05 | Планка | |
| 18 | 700-40-8383 | Кольцо | |
| 19 | 700-18-13091 | Корпус | |
| 20 | 700-18-13089 | Корпус | |
| 21 | 111-14-11 | Колесо турбинное | |
| 22 | 111-14-12 | Колесо насосное | |
| 23 | 700-41-2575 | Штуцер | |
| 24 | Кольцо27х35 | Кольцо | |
| 25 | 700-18-4043СП | Труба | |
| 26 | 64-14-163СП | Корпус | |
| 27 | БолтМ12-6gх45.58.019 | Болт | |
| 28 | 700-28-2702 | Болт | |
| 29 | 700-31-2819 | Пластина стопорная | |
| 30 | 64-14-267 | Колесо зубчатое | |
| 31 | 64-14-261 | Корпус | |
| 32 | 64-14-263 | Втулка | |
| 33 | 700-58-2611 | Кольцо | |
| 34 | 32124 | Подшипник | |
| 35 | 700-58-2656 | Кольцо | |
| 36 | 176218 | Подшипник | |
| 36 | 176218Б3 | Подшипник | |
| 37 | 64-14-260 | Крышка | |
| 38 | 700-40-9482 | Прокладка | |
| 39 | VERI-TAS | Манжета | |
| 40 | 64-14-319 | Втулка | |
| 41 | 64-12-42 | Крышка | |
| 42 | 700-31-2330 | Пластина стопорная | |
| 43 | 64-12-321 | Муфта | |
| 44 | 3308-289 | Кольцо уплотнительное | |
| 45 | 64-14-123 | Кольцо | |
| 46 | 64-14-164СП | Ось | |
| 47 | 64-14-262 | Втулка | |
| 48 | 64-14-259 | Ось | |
| 49 | 700-40-8755 | Кольцо | |
| 50 | 700-42-2721 | Кольцо | |
| 51 | 700-32-2201 | Штифт | |
| 52 | 700-40-9483 | Прокладка | |
| 53 | 111-14-18 | Кольцо | |
| 54 | 111-14-13 | Колесо реакторное | |
| 55 | 700-37-2154 | Пробка | |
| 56 | 111-14-32 | Поддон | |
| 57 | 700-40-9211 | Прокладка | |
| 58 | 50-26-757СП | Клапан слива | |
| 59 | 40927СП | Кольцо | |
| 60 | БолтМ10-6gx30.58.019 | Болт | |
| 61 | Шайба10ОТ65Г09 | Шайба | |
| 62 | ГайкаМ10-7Н.6.019 | Гайка | |
| 63 | 700-58-2091 | Кольцо В110 | |
| 64 | 111-14-49 | Стяжка | |
| 64 | 111-14-49-01 | Стяжка | |
| 65 | 700-31-2507 | Пластина | |
| 66 | ГайкаМ14х1,5-7Н.6.019 | Гайка |
Содержащиеся в справочниках-каталогах запасные части и детали не предлагаются к продаже, а носят исключительно информационный характер