Каталог запасных частей к технике: ЧТЗ Бульдозер Б12. Гидросистема питания, управления и смазки ГМТ
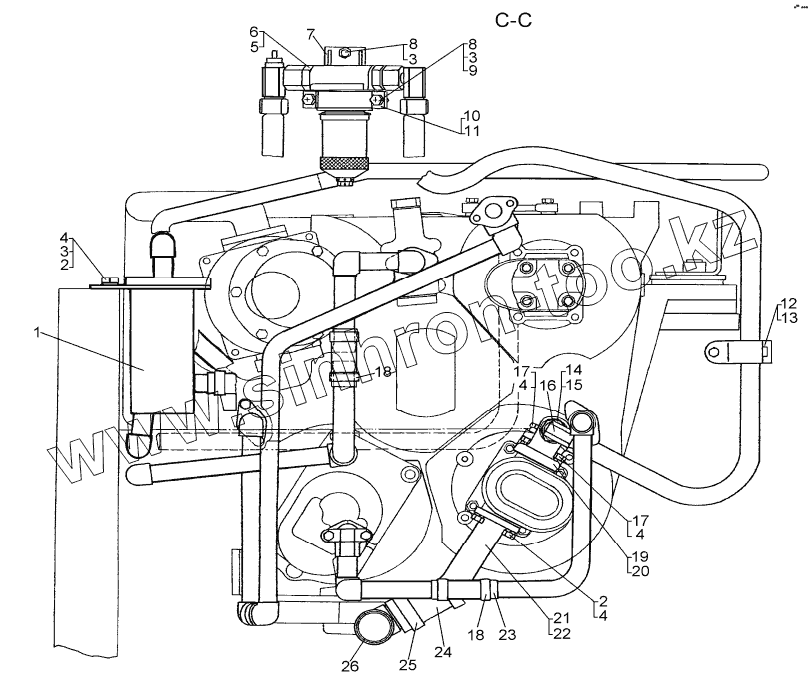
1
2
2
3
3
3
4
4
4
4
5
6
7
8
8
9
10
11
12
13
14
15
16
17
17
18
18
18
19
20
21
22
23
24
25
26
| Позиция на иллюстрации | Заводской номер детали | Название детали | |
|---|---|---|---|
| 1 | 64-60-106СП | Фильтр | |
| 2 | БолтМ10-6gx25.58.019 | Болт | |
| 3 | Шайба10ОТ65Г09 | Шайба | |
| 4 | 31308-1 | Шайба | |
| 5 | 700-41-3413 | Штуцер | |
| 6 | 700-40-2135 | Кольцо | |
| 7 | 64-60-233СП | Кронштейн | |
| 8 | БолтМ10-6gx20.58.019 | Болт | |
| 9 | ГайкаМ10-7Н.6.019 | Гайка | |
| 10 | 64-60-173-01 | Скоба | |
| 11 | 700-40-9102 | Пластина | |
| 12 | 50-26-206 | Скоба и планка (составной хомут) | |
| 13 | 50-26-207 | Скоба и планка (составной хомут) | |
| 14 | 700-41-3813 | Штуцер | |
| 15 | 46764 | Кольцо | |
| 16 | 700-41-2246-03СП | Переходник | |
| 17 | БолтМ10-6gx70.58.019 | Болт | |
| 18 | 700-41-2224СП | Хомут | |
| 18 | SGT32-50/9 | Хомут червячный | |
| 19 | 748-99-1235 | Муфта угловая | |
| 20 | 714-72-44-03 | Кольцо | |
| 21 | 64-60-231СП | Труба | |
| 22 | 700-40-6989 | Прокладка | |
| 23 | 700-40-5967 | Рукав | |
| 24 | 700-40-5968 | Рукав | |
| 25 | 18-26-320СП | Хомут | |
| 26 | 64-60-236СП | Труба |
Содержащиеся в справочниках-каталогах запасные части и детали не предлагаются к продаже, а носят исключительно информационный характер