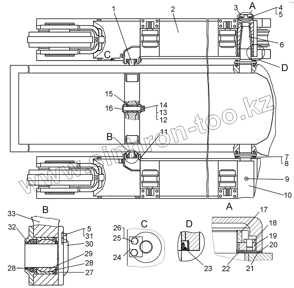
Каталог запасных частей к технике: ЧТЗ Бульдозер Б11. Установка тележек. Балка
1
2
3
4
5
5
6
7
8
9
10
11
12
13
14
15
16
17
18
19
20
21
22
23
24
25
26
27
28
28
29
30
31
32
33
| Позиция на иллюстрации | Заводской номер детали | Название детали | |
|---|---|---|---|
| 64-20-5-01СП | 64-20-5-01СП | Установка тележек | |
| 1 | 64-20-105СП | Установка балки | |
| 2 | 64-21-30-01СП | Тележка | |
| 3 | 60-19-9-01 | Крышка | |
| 4 | 28648 | Болт | |
| 5 | Шайба12.ОТ.65Г.09 | Шайба 12.ОТ.65Г.09 | |
| 6 | 64-20-15 | Полуось | |
| 7 | БолтМ24-8gх75.88.45.019 | Болт | |
| 8 | Шайба24Т.65Г.09 | Шайба 24Т.65Г.09 | |
| 9 | Масленка1.3.Ц6 | Масленка | |
| 10 | 64-21-29-01СП | Тележка | |
| 11 | 64-20-23 | Палец | |
| 12 | 700-31-2613 | Шайба | |
| 13 | 700-30-2352 | Гайка | |
| 14 | Шплинт8х80 | Шплинт | |
| 15 | 20733 | Втулка | |
| 16 | 64-20-13 | Палец | |
| 17 | 19457-01 | Гайка | |
| 18 | 60-19-103СП | Стопор | |
| 19 | 60-19-104СП | Фиксатор | |
| 20 | 15-19-30 | Прокладка | |
| 21 | 700-40-2165 | Прокладка | |
| 22 | 19458 | Прокладка | |
| 23 | Манжета | Манжета В1FUD 140-160-13 | |
| 24 | 64-20-24 | Стопор | |
| 25 | 700-28-2621 | Болт | |
| 26 | Шайба16.ОТ.65Г.09 | Шайба 16.ОТ.65Г.09 | |
| 27 | 64-20-8 | Обойма | |
| 28 | 700-42-2873 | Сальник | |
| 29 | 64-20-9 | Шарнир | |
| 30 | 64-20-19 | Крышка | |
| 31 | Болт | Болт | |
| 32 | 64-20-10 | Кольцо | |
| 33 | 64-20-106СП | Балка |
Содержащиеся в справочниках-каталогах запасные части и детали не предлагаются к продаже, а носят исключительно информационный характер