Каталог запасных частей к технике: ЧТЗ Бульдозер Б11. Управление коробкой передач
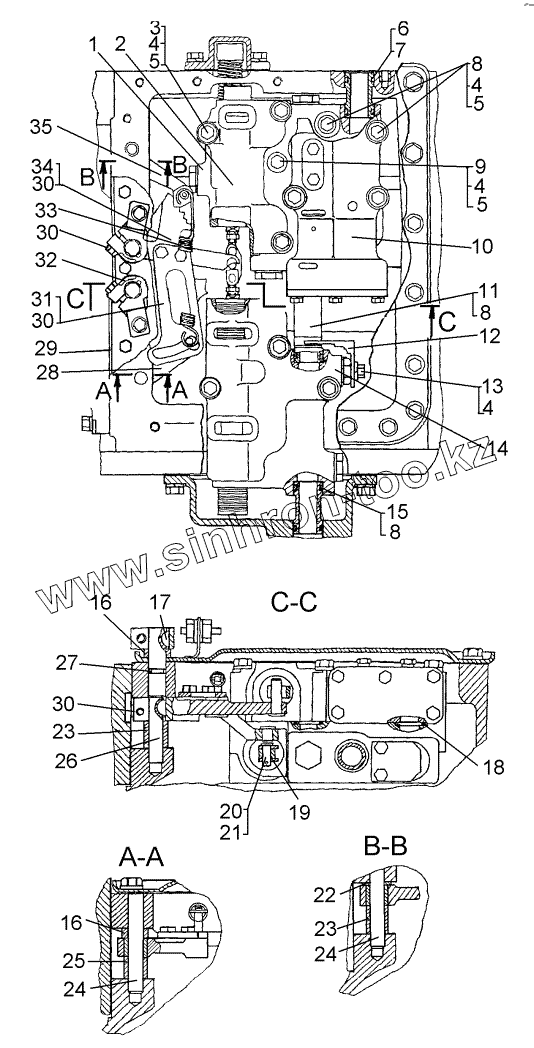
1
2
3
4
4
4
4
5
5
5
6
7
8
8
8
9
10
11
12
13
14
15
16
16
17
18
19
20
21
22
23
23
24
24
25
26
27
28
29
30
30
30
30
31
32
33
34
35
| Позиция на иллюстрации | Заводской номер детали | Название детали | |
|---|---|---|---|
| 1 | 64-12-201СП | Плита | |
| 2 | 64-12-202СП | Блок реверса | |
| 3 | 700-28-2734 | Болт | |
| 4 | Шайба10.ОТ.65Г.09 | Шайба 10.ОТ.65Г.09 | |
| 5 | 31308 | Шайба | |
| 6 | 62-12-554 | Втулка | |
| 7 | 027-032-30-2-2 | Кольцо 027-032-30-2-2 | |
| 8 | БолтМ10-6gх70.58.019 | Болт М10-6gх70.58.019 | |
| 9 | БолтМ10-6gх80.58.019 | Болт М10-6gх80.58.019 | |
| 10 | 64-12-203СП | Блок клапанов | |
| 11 | 64-12-314 | Втулка | |
| 12 | 64-12-383 | Кронштейн | |
| 13 | БолтМ10-6gх20.58.019 | Болт | |
| 14 | 64-12-200СП | Блок передач | |
| 15 | 64-12-67 | Втулка | |
| 16 | 64-12-318 | Проставка | |
| 17 | Шпонка4х6,5 | Шпонка 4х6,5 | |
| 18 | 022-028-36-2-2 | Кольцо 022-028-36-2-2 | |
| 19 | 64-12-313 | Планка | |
| 20 | 700-47-2108 | Ось | |
| 21 | Шплинт2х20.019 | Шплинт 2х20.019 | |
| 22 | 31484 | Шайба | |
| 23 | 64-12-312 | Проставка | |
| 24 | 64-12-311 | Стопор | |
| 25 | 64-12-372 | Втулка | |
| 26 | 64-12-320 | Валик | |
| 27 | 014-018-25-2-5 | Кольцо 014-018-25-2-5 | |
| 28 | 64-12-223СП | Рычаг | |
| 29 | 700-40-7262 | Прокладка | |
| 30 | БолтМ8-6gх25.88.35.019 | Болт | |
| 31 | 64-12-216СП | Рычаг | |
| 32 | 64-12-337 | Рычаг | |
| 33 | 700-38-2681 | Пружина | |
| 34 | 64-12-225СП | Рычаг | |
| 35 | 64-12-222СП | Рычаг |
Содержащиеся в справочниках-каталогах запасные части и детали не предлагаются к продаже, а носят исключительно информационный характер