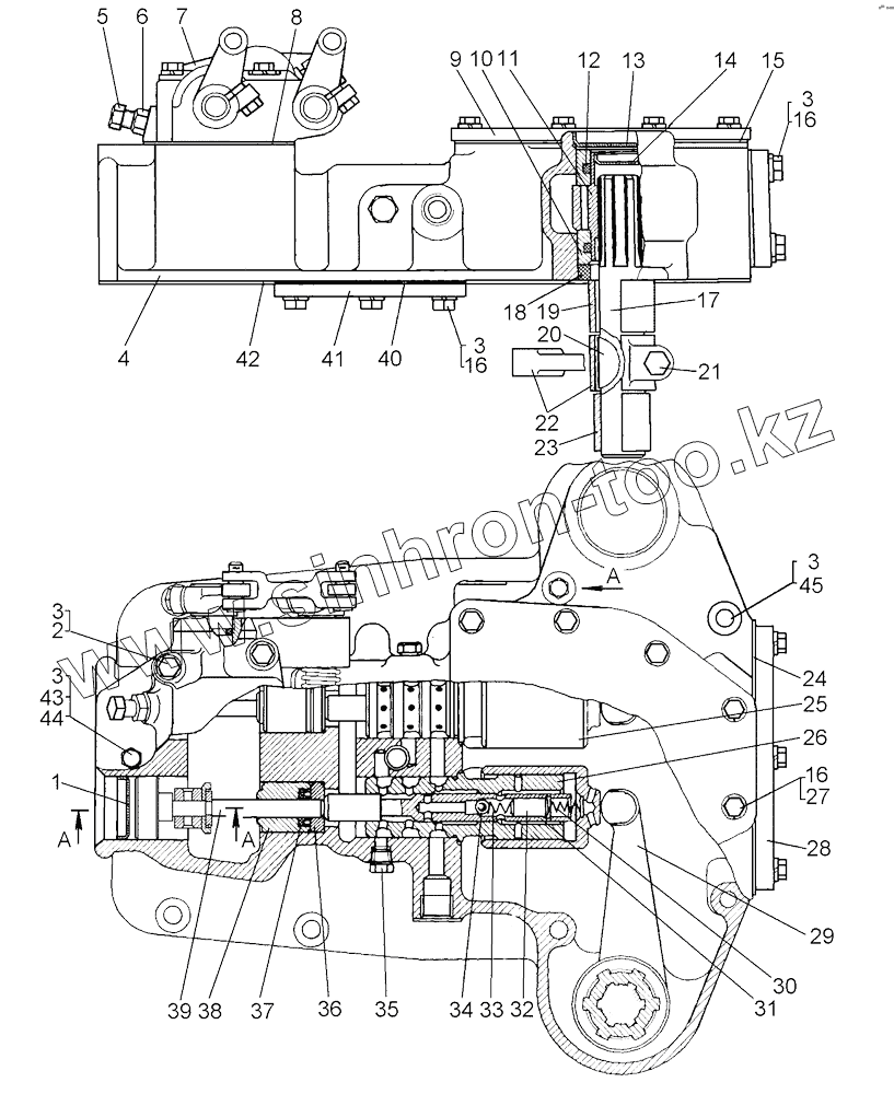
Каталог запасных частей к технике: ЧТЗ Бульдозер Б11. Сервомеханизм управления поворотом
1
2
3
3
3
3
3
4
5
6
7
8
9
10
11
12
13
14
15
16
16
16
17
18
19
20
21
22
23
24
25
26
27
28
29
30
31
32
33
34
35
36
37
38
39
40
41
| Позиция на иллюстрации | Заводской номер детали | Название детали | |
|---|---|---|---|
| 64-17-2СП | 64-17-2СП | Сервомеханизм | |
| 1 | 18-17-9 | Заглушка | |
| 2 | БолтМ10-6gх70.58.019 | Болт М10-6gх70.58.019 | |
| 3 | Шайба10.ОТ.65Г.09 | Шайба 10.ОТ.65Г.09 | |
| 4 | 50-17-104СП | Корпус | |
| 5 | 700-28-2520 | Болт | |
| 6 | ГайкаМ12-7Н.6.019 | Гайка | |
| 7 | 64-17-107-01СП | Корпус | |
| 8 | 700-40-7141 | Прокладка | |
| 9 | 21-17-27-1 | Крышка | |
| 10 | 21-17-22 | Втулка | |
| 11 | 17310 | Муфта | |
| 12 | 042-050-46-2-5 | Кольцо 042-050-46-2-5 | |
| 13 | 17311 | Заглушка | |
| 14 | 0295 | Заглушка | |
| 15 | 700-40-5959 | Прокладка | |
| 16 | БолтМ10-6gх30.58 | Болт М10-6gх30.58 | |
| 17 | 50-17-25 | Валик | |
| 18 | 700-40-4532 | Кольцо-прокладка | |
| 19 | 50-11-37 | Втулка | |
| 20 | 700-34-2029 | Шпонка | |
| 21 | 2826 | Болт | |
| 22 | 50-17-24 | Рычаг | |
| 23 | 50-11-36 | Втулка | |
| 24 | 40714-1 | Прокладка | |
| 25 | 21-17-21 | Поршень | |
| 26 | 17303-1 | Гильза | |
| 27 | 40912 | Кольцо | |
| 28 | 50-17-5 | Крышка | |
| 29 | 17482 | Рычаг | |
| 30 | 700-38-2319 | Пружина | |
| 31 | 21-17-36 | Золотник | |
| 32 | 700-32-2202 | Штифт | |
| 33 | 38301 | Пружина | |
| 34 | Б10-200 | Шарик Б10-200 | |
| 35 | 371 | Пробка | |
| 36 | 17329 | Кольцо | |
| 37 | 700-40-9455 | Манжета | |
| 38 | 21-17-44 | Втулка | |
| 39 | 64-17-111СП | Толкатель | |
| 40 | 700-40-7187 | Прокладка | |
| 41 | 50-17-11 | Крышка |
Содержащиеся в справочниках-каталогах запасные части и детали не предлагаются к продаже, а носят исключительно информационный характер