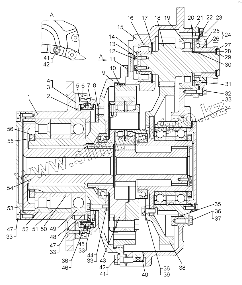
Каталог запасных частей к технике: ЧТЗ Бульдозер Б11. Редукторы бортовые
1
2
3
4
5
6
7
8
9
10
11
12
13
14
15
16
17
18
19
20
21
22
23
24
25
26
27
28
29
30
31
32
33
33
33
33
33
34
35
36
36
36
37
38
39
40
41
41
42
42
43
44
45
46
47
47
48
49
50
51
52
53
54
55
56
| Позиция на иллюстрации | Заводской номер детали | Название детали | |
|---|---|---|---|
| 64-19-116-03СП | 64-19-116-03СП | Редуктор бортовой | |
| 64-19-116-01СП | 64-19-116-01СП | Редуктор бортовой | |
| 1 | 64-19-131СП | Ступица колеса ведущего | |
| 2 | 700-40-9426 | Кольцо | |
| 3 | 64-19-62 | Прокладка регулировочная | |
| 4 | 64-19-62-01 | Прокладка регулировочная | |
| 5 | TLDOA3870-2CP00 | Уплотнение торцовое | |
| 6 | 64-19-108 | Лабиринт | |
| 7 | 64-19-113 | Крышка | |
| 8 | 775-36-25 | Кольцо | |
| 9 | 64-19-115 | Корпус | |
| 10 | 64-19-45 | Эпицикл | |
| 11 | 700-40-9454 | Прокладка | |
| 12 | БолтМ8-6gх20.88.35.019 | Болт | |
| 13 | 700-31-2499 | Пластина стопорная | |
| 14 | 60-19-40 | Фиксатор | |
| 15 | 64-19-125СП | Корпус | |
| 15 | 64-19-126СП | Корпус | |
| 16 | 70-32612К1М | Подшипник | |
| 17 | 700-39-492 | Кольцо В130 | |
| 18 | 64-19-40 | Вал-шестерня | |
| 19 | 70-32315К1М | Подшипник | |
| 20 | 50-19-151 | Кольцо | |
| 21 | 64-19-49 | Корпус подшипника | |
| 22 | 140-150-58-2-2 | Кольцо 140-150-58-2-2 | |
| 23 | 720-15-125СП | Сапун | |
| 24 | 64-19-111СП | Крышка | |
| 25 | 64-19-50 | Крышка | |
| 26 | BAUMSLX7-100-125-12 | Манжета DIN 3761 | |
| 27 | 700-40-7108 | Кольцо | |
| 28 | 50-19-153 | Кольцо | |
| 29 | 700-30-2301 | Гайка | |
| 30 | 50-19-155 | Кольцо | |
| 31 | 118 | Подшипник шариковый радиальный однорядный | |
| 32 | БолтМ12-6gх55.58.019 | Болт | |
| 33 | Шайба12.ОТ.65Г.09 | Шайба 12.ОТ.65Г.09 | |
| 34 | 64-19-117СП | Опора | |
| 35 | 714-15-56-02 | Кольцо | |
| 36 | БолтМ16х1,5-6gх35.88.38ХС.019 | Болт | |
| 36 | БолтМ16х1,5-6gх35.88.45Х.019 | Болт М16х1,5-6gх35.88.45Х.019 | |
| 37 | Шайба16.ОТ.65Г.09 | Шайба 16.ОТ.65Г.09 | |
| 38 | 64-19-64 | Шестерня | |
| 39 | 700-31-2817 | Пластина стопорная | |
| 40 | 19290 | Пробка | |
| 41 | 700-28-2691-01 | Болт | |
| 41 | 700-28-2691 | Болт | |
| 42 | Шайба20.ОТ.65Г.09 | Шайба 20.ОТ.65Г.09 | |
| 43 | 64-19-105СП | Водило | |
| 44 | БолтМ12-6gх70.58.019 | Болт М12-6gх70.58.019 | |
| 45 | БолтМ12-6gх35.58.019 | Болт | |
| 46 | 700-31-2811 | Шайба стопорная | |
| 47 | БолтМ12-6gх40.58.019 | Болт | |
| 48 | 64-19-51 | Крышка | |
| 49 | 236 | Подшипник | |
| 50 | 64-19-112 | Втулка | |
| 51 | 64-19-111 | Втулка | |
| 52 | 2236 | Подшипник | |
| 53 | 64-19-118 | Крышка | |
| 54 | 64-19-55 | Муфта | |
| 55 | 700-30-2443 | Гайка | |
| 56 | 700-31-2810 | Шайба стопорная |
Содержащиеся в справочниках-каталогах запасные части и детали не предлагаются к продаже, а носят исключительно информационный характер