Вернуться на главную
Поиск
Каталоги запчастей к технике
Спецтехника
ЧТЗ
Бульдозер Б11
Коробка передач, детали крепления
Каталог запасных частей к технике: ЧТЗ Бульдозер Б11. Коробка передач, детали крепления
zoom-in
zoom-out
enlarge
shrink
circle-right
circle-left
file-text2
info
cart
Тип техники
Не выбрано
Легковые автомобили
Грузовые автомобили и прицепы
Автобусы
Сельхозтехника
Спецтехника
Двигатели
Мототехника
Марка
Не выбрано
Ammann
BOMAG
CARMIX
CASE IH
Changlin
ChengGong
Dimex
Doosan
DYNAPAC
Foton
HAMM
Hidromek
Hitachi
Hyundai
JCB
JLG
John Deere
Komatsu
LIEBHERR
LiuGong
Lonking (LongGong)
Luneng
MANITOU
Mitsuber
New Holland
PENGPU
RM-Terex
SANY
SDLG
SEM
Shantui
Shehwa HBXG
Soosan
TIGARBO
VOGELE
Volvo
WAY
WIRTGEN
XCMG
XGMA
Xiamen
YTO
Yuchai
Zoomlion
Автокран
АЗСМ
Алтайлесмаш
Амкодор
АОМЗ
Атек
АТЗ
Балканкар Рекорд
БелАЗ
Беловеж
Борекс
Брянский Арсенал
Булат
ВЭКС
ГАЗ
Геомаш
Гидромаш
Донекс
Дормаш
Дормашина
Дорэлектромаш
ДЭЗ
ЕлАЗ
ЗЗГТ
Ижнефтемаш
Канаш-электрокар
КЗКТ
ККЗ
Клевер
Клинцовский автокрановый завод
КМЗ
КМЗ 1 Мая
Ковровец
Коммаш
Кранэкс
КЭЗ
КЭМЗ
ЛЗА
МАЗ
МЗИК
МЗКМ
МЗКТ
Михневский РМЗ
МоАЗ
Мозырский МЗ
МТЗ
ОЗП
Онежец
ПАО "ТЗА"
ППС Детва
Промтрактор
ПТЗ
Раскат
СпецАгрегат
ТВЭКС
ТТМ
УВЗ
Угличмаш
УЗТМ
ХТЗ
ЧЗКМ
ЧСДМ
ЧТЗ
ЭКСКО
ЭКСМАШ
ЮрМаш
Модель
Не выбрано
Бульдозер Б11 (2010)
Бульдозер Б12 (2010)
Бульдозер Б14 (2010)
ДЭТ-250М2 (2000)
Кран ТР-20, ТР-12 (2006)
Рабочее оборудование Б10М (2006)
Т-10.02 (1995)
Т-10М (2012)
Т-130 (1990)
Т-170
Т-170М-01
Схема
>
Не выбрано
Установка двигателя
Установка двигателя. Продолжение.
Установка агрегатов систем впуска и выпуска (с воздушным фильтром Europiclon 45 600 92 911)
Установка вентилятора
Установка радиаторов
Установка радиаторов
Блок радиаторов
Блок радиаторов
Электрооборудование трактора
Электрооборудование трактора - продолжение
Электрооборудование трактора - продолжение
Электрооборудование кабины
Электрооборудование кабины - продолжение
Электрооборудование двигателя ЯМЗ
Блок электромонтажный
Щиток управления
Установка панели приборов
Панель пуска
Панель пуска
Трансмиссия
Трансмиссия-продолжение
Коробка передач
Корпус, проставка, клапан
Водило
Вал с деталями
Тормоза коробки передач
Вал-шестерня с деталями
Блок клапанов, блок передач
Плита, блок реверса
Коробка передач, детали крепления
Коробка передач, детали крепления
Управление коробкой передач
Механизм управления тормозами
Тяги
Приводы управления трактором
Блок управления
Установка мостиков управления
Мостик
Мостик
Тяга
Тяги
Тяги
Стяжка
Гидротрансформатор с редуктором приводов
Гидротрансформатор с редуктором приводов - продолжение
Гидротрансформатор с редуктором приводов - продолжение
Клапан сливной
Клапан сливной
Клапан
Главная передача с бортовыми фрикционами
Бортовые фрикционы
Корпус
Сервомеханизм управления поворотом
Тормоза
Установка бортовых редукторов
Редукторы бортовые
Водило
Опора
Установка ведущего колеса
Установка тележек. Балка
Установка прицепного устройства маятникового типа
Тележки
Каток поддерживающий
Колесо натяжное
Механизмы натяжения и сдавания
Гусеница
Установка сиденья
Установка колонок управления
Установка кожухов
Платформа
Инструментальные ящики
Установка модуля колонок управления
Фальшпол
Установка крышки отсека АКБ
Установка кожухов
Колонка правая
Крышка колонки правая
Установка топливных баков
Система трубопроводов топлива
Установка фильтра грубой очистки топлива (PreLine 270)
Бак
Фильтр
Установка передних трубопроводов
Управление распределителем
Установка рукавов
Установка трубопроводов перекоса отвала
Установка гидроцилиндров
Гидроцилиндр
Гидравлическая система навесного оборудования и управления трактором
Гидравлическая система навесного оборудования и управления-продолжение
Установка привода платформы
Тяги
Установка распределителя
Модуль рабочего места
Установка модуля рабочего места
Установка модуля рабочего места - продолжение
Установка подогревателя HYDRONIC М12
Установка подогревателя Webasto Thermo 90STD
Установка подогревателя HYDRONIC L35-24V
Система отопления и вентиляции
Установка отопителя Зенит 8000 и воздуховодов
Установка отопителя Зенит 8000
Пакет фильтрующий
Установка кардана
Установка защиты двигателя
Установка защиты трансмиссии
Установка прицепного устройства (жесткого типа)
Оборудование бульдозерное 10Е, 10Е1, 10В
Гидросистема бульдозера
Оборудование бульдозерное 10Е, 10Е1, 10В (продолжение)
Раскос
Отвал
Тяга
Подкос
Гидрораскос
Гидрозамок
Гидроцилиндр
Оборудование рыхлительное 10Р, 10Н
Зуб (50-50-104СБ)
Установка трубопроводов
Установка гидроцилиндров
Гидроцилиндр
Оборудование рыхлительное
Капот
Капот - продолжение
Капот - продолжение
Капот - продолжение
Установка кабины
Двери
Заглушки
Кабина
Кабина - продолжение
Гидросистема питания, управления и смазки трансмиссии
Фильтр
Установка устройства защиты оператора
Модуль
Установка щитков от схода гусениц
Установка стеклоомывателя
Установка кондиционера Август
Установка компрессора на двигатель ЯМЗ
Управление дизелем (с электростартерным пуском)
Акселератор
Деселератор
Мостик
Мостик
Тяги
Тяга
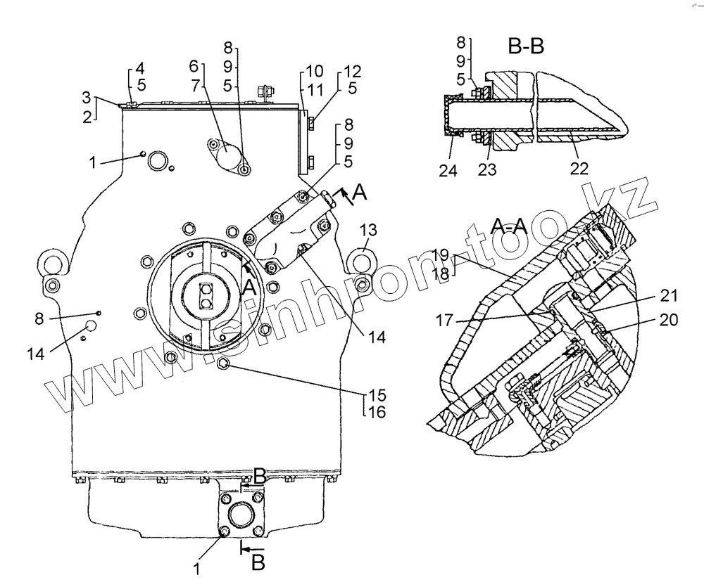
Схема расположения подшипников на тракторе
1
1
2
3
4
5
5
5
5
5
6
7
8
8
8
8
9
9
9
10
11
12
13
14
14
15
16
17
18
19
20
21
22
23
24
Позиция на иллюстрации
Заводской номер детали
Название детали
1
700-29-2474
Шпилька
2
700-40-7263
Прокладка
3
64-12-124СП
Крышка
4
БолтМ10-6gх20.58.019
Болт
5
Шайба10.ОТ.65Г.09
Шайба 10.ОТ.65Г.09
6
64-12-316
Стакан
7
700-40-7266
Прокладка
8
700-29-2474
Шпилька
9
ГайкаМ10-7Н.6.019
Гайка
10
114-12-1
Крышка
11
700-40-7262
Прокладка
12
БолтМ10-6gх30.58.019
Болт
13
700-28-2224
Рым-болт
14
700-42-2232
Пробка
15
БолтМ12-6gх30.58.019
Болт
16
Шайба12.ОТ.65Г.09
Шайба 12.ОТ.65Г.09
17
020-025-30-2-5
Кольцо 020-025-30-2-5
18
700-40-7271
Прокладка
19
64-12-112СП
Клапан
20
18х24МН4152-62
Кольцо 18х24 МН 4152-62
21
64-12-38
Втулка
22
64-12-114СП
Труба
23
700-40-7280
Прокладка
24
700-40-4090
Заглушка
Содержащиеся в справочниках-каталогах запасные части и детали не предлагаются к продаже, а носят исключительно информационный характер
Дополнительная информация
×
Название:
Номер:
Примечание: