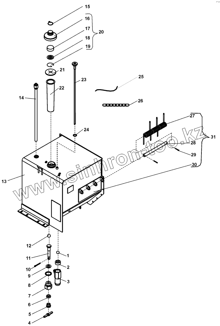
Каталог запасных частей к технике: ЧСДМ В-160. Бак топливный (А121.31.02.000-01)
1
2
3
4
5
6
7
8
9
10
11
12
13
14
15
16
17
18
19
20
21
22
23
24
25
26
27
28
29
30
31
| Позиция на иллюстрации | Заводской номер детали | Название детали | |
|---|---|---|---|
| 1 | ГОСТ3722-81 | Шарик | |
| 2 | Д144-33-025 | Шайба специальная | |
| 3 | ТО-40.14.01.050 | Ниппель | |
| 4 | ДЗ-98.31.00.193 | Ручка краника | |
| 5 | Д144-33-042 | Штуцер | |
| 6 | Д144-33-045 | Набивка | |
| 7 | Д144-33-040 | Штуцер | |
| 8 | Д144-33-043 | Прокладка | |
| 9 | Д144-33-044 | Прокладка | |
| 10 | ГОСТ397-79 | Шплинт | |
| 11 | Д144-33-041 | Упор | |
| 12 | ГОСТ3722-81 | Шарик | |
| 13 | А121.31.02.010-01 | Бак топливный | |
| 14 | ИТ7.1 | Измеритель уровня топлива | |
| 15 | ДЗ-98Б.31.00.237 | Кольцо | |
| 16 | ДЗ-98.31.00.185 | Пробка | |
| 17 | Д395.0313.289 | Фильтр | |
| 18 | Д395.0313.288 | Шайба | |
| 19 | Д395.0313.292 | Кольцо | |
| 20 | Д395-0313985 | Пробка в сборе | |
| 21 | ТО-40.31.00.033 | Прокладка | |
| 22 | ДЗ-98.38.00.050 | Сетка | |
| 23 | А121.31.02.040 | Линейка топливомерная | |
| 24 | Д395-0313122 | Прокладка | |
| 25 | ГОСТ3282-74 | Проволока | |
| 26 | Цепь081-201 | Цепь сварная | |
| 27 | А121.31.01.016 | Пружина | |
| 28 | А121.31.01.015 | Труба | |
| 29 | ГОСТ397-79 | Шплинт | |
| 30 | А121.31.01.050 | Кронштейн | |
| 31 | А121.31.01.060 | Кронштейн |
Содержащиеся в справочниках-каталогах запасные части и детали не предлагаются к продаже, а носят исключительно информационный характер