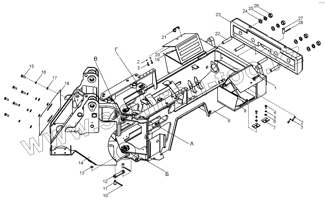
Каталог запасных частей к технике: ЧСДМ В-140. Рама (В140.21.00.000)
1
2
2
3
3
4
5
6
7
8
9
10
11
12
13
14
15
16
17
18
19
20
21
22
23
24
25
26
27
28
| Позиция на иллюстрации | Заводской номер детали | Название детали | |
|---|---|---|---|
| 1 | 31514-6105150 | Ручка правая | |
| 2 | ГОСТ11371-78 | Шайба | |
| 3 | ГОСТ7798-70 | Болт | |
| 4 | ГОСТ7798-70 | Болт | |
| 5 | ГОСТ6402-70 | Шайба | |
| 6 | ГОСТ11371-78 | Шайба | |
| 7 | В140.21.00.008 | Скоба | |
| 8 | В140.21.00.009 | Амортизатор | |
| 9 | В140.21.02.000 | Рама задняя | |
| 10 | 067.43.11.185 | Палец | |
| 11 | Шплинт8х71.019 | Шплинт | |
| 12 | В140.21.00.007 | Тяга | |
| 13 | 067.14.11.212 | Шайба | |
| 14 | В140.21.01.000-01 | Рама передняя | |
| 15 | ГОСТ7798-70 | Болт | |
| 16 | ГОСТ6402-70 | Шайба | |
| 17 | 067.14.11.036 | Шайба | |
| 18 | В140.21.00.005 | Шторка | |
| 19 | 2112-8231015 | Упор газовый | |
| 20 | D-профиль | D-профиль | |
| 21 | 31514-6105151 | Ручка левая | |
| 22 | 067.15.11.245 | Шпилька | |
| 23 | В138М.21.00.010 | Балласт | |
| 24 | 067.14.11.214 | Шайба | |
| 25 | ГОСТ6402-70 | Шайба | |
| 26 | ГОСТ5915-70 | Гайка | |
| 27 | А120.34.00.036 | Палец | |
| 28 | Шплинт6,3х63.019 | Шплинт |
Содержащиеся в справочниках-каталогах запасные части и детали не предлагаются к продаже, а носят исключительно информационный характер