Вернуться на главную
Поиск
Каталоги запчастей к технике
Спецтехника
ЧСДМ
ДЗ-98В
Трансмиссия (ДЗ-98В.10.00.000);Transmission
Каталог запасных частей к технике: ЧСДМ ДЗ-98В. Трансмиссия (ДЗ-98В.10.00.000);Transmission
zoom-in
zoom-out
enlarge
shrink
circle-right
circle-left
file-text2
info
cart
Тип техники
Не выбрано
Легковые автомобили
Грузовые автомобили и прицепы
Автобусы
Сельхозтехника
Спецтехника
Двигатели
Мототехника
Марка
Не выбрано
Ammann
BOMAG
CARMIX
CASE IH
Changlin
ChengGong
Dimex
Doosan
DYNAPAC
Foton
HAMM
Hidromek
Hitachi
Hyundai
JCB
JLG
John Deere
Komatsu
LIEBHERR
LiuGong
Lonking (LongGong)
Luneng
MANITOU
Mitsuber
New Holland
PENGPU
RM-Terex
SANY
SDLG
SEM
Shantui
Shehwa HBXG
Soosan
TIGARBO
VOGELE
Volvo
WAY
WIRTGEN
XCMG
XGMA
Xiamen
YTO
Yuchai
Zoomlion
Автокран
АЗСМ
Алтайлесмаш
Амкодор
АОМЗ
Атек
АТЗ
Балканкар Рекорд
БелАЗ
Беловеж
Борекс
Брянский Арсенал
Булат
ВЭКС
ГАЗ
Геомаш
Гидромаш
Донекс
Дормаш
Дормашина
Дорэлектромаш
ДЭЗ
ЕлАЗ
ЗЗГТ
Ижнефтемаш
Канаш-электрокар
КЗКТ
ККЗ
Клевер
Клинцовский автокрановый завод
КМЗ
КМЗ 1 Мая
Ковровец
Коммаш
Кранэкс
КЭЗ
КЭМЗ
ЛЗА
МАЗ
МЗИК
МЗКМ
МЗКТ
Михневский РМЗ
МоАЗ
Мозырский МЗ
МТЗ
ОЗП
Онежец
ПАО "ТЗА"
ППС Детва
Промтрактор
ПТЗ
Раскат
СпецАгрегат
ТВЭКС
ТТМ
УВЗ
Угличмаш
УЗТМ
ХТЗ
ЧЗКМ
ЧСДМ
ЧТЗ
ЭКСКО
ЭКСМАШ
ЮрМаш
Модель
Не выбрано
TL-150 (2016)
TL-155 (2018)
TL-155 (2022)
А-120 (2003)
В-140 (2010)
В-160 (2010)
ДЗ-98В (2003)
ДЗ-98В (2015)
ДЗ-98В (2022)
ДЗ-98В.1 (2010)
ДЗ-98В.1 (дополнение) (2010)
Погрузчик В-138 (2009)
Схема
>
Не выбрано
Автогрейдеры ДЗ-98В.00...;ДЗ-98В.00... motor graders
Установка силовая (ДЗ-98В9.11.00.000), (ДЗ-98В9.11.00.000-01);Power plant
Установка силовая (ДЗ-98В9.11.00.000-02), (ДЗ-98В9.11.00.000-03);Power plant
Система топливная (ДЗ-98М2.31.00.000);Fuel system
Бак топливный (ДЗ-98М1.31.03.000);Fuel tank
Система всасывания и выхлопа (ДЗ-98М2.32.20.000);Air-admission and exhaust system
Система охлаждения и разогрева двигателя (ДЗ-98М2.33.10.000);Cooling and heating system of engine
Блок радиаторов (ДЗ-98М2.33.04.000);Radiator unit
Система смазки двигателя (ДЗ-98М2.38.00.000);Engine lubrication system
Трансмиссия (ДЗ-98В. 10.00.000);Transmission
Трансмиссия (ДЗ-98В.10.00.000);Transmission
Муфта сцепления (ДЗ-98.10.02.000-1);Clutch
Муфта сцепления (ДЗ-98.10.02.000-1);Clutch
Установка сервомеханизма (ДЗ-98.10.03.110);Servomechanism installation
Коробка передач (ДЗ-98.10.04.000);Gearbox
Коробка передач (ДЗ-98.10.04.000);Gearbox
Коробка передач (ДЗ-98.10.04.000);Gearbox
Коробка передач (ДЗ-98.10.04.000);Gearbox
Коробка передач (ДЗ-98.10.04.000);Gearbox
Коробка передач (ДЗ-98.10.04.000);Gearbox
Механизм переключения передач (Д395В.10.04.010);Gear Shift Mechanism
Механизм переключения реверса (Д395В.10.04.050);Reverse Gear Shift Mechanism
Вал ведущий (ДЗ-98А. 10.04.540);Drive shaft
Вал реверса (Д395Б.04.030);Reverse gear shaft
Вал промежуточный (Д395Б.04.040);Intermediate shaft
Вал мультипликатора (Д395Б.04.050);Step-up Gear Shaft
Механизм переключения мультипликатора (Д395Б.04.100);Step-up Gear Shift Mechanism
Редуктор раздаточный (ДЗ-98.10.05.000-02);Transfer Reduction Gearbox
Редуктор раздаточный (ДЗ-98.10.05.000-02);Transfer reduction gearbox
Редуктор раздаточный (ДЗ-98.10.05.000-02);Transfer Reduction Gearbox
Редуктор раздаточный (ДЗ-98.10.05.000-02);Transfer Reduction Gearbox
Редуктор промежуточный (ДЗ-98В.10.06.000);Intermediate reduction gear
Редуктор промежуточный (ДЗ-98В.10.06.000);Intermediate reduction gear
Редуктор промежуточный (ДЗ-98В.10.06.000);Intermediate reduction gear
Передача карданная (ДЗ-98.16.00.000);Universal-joint drive
Вал промежуточный (ДЗ-98.16.01.050) (ДЗ-98.16.01.320)
Вал промежуточный (ДЗ-98.16.01.200)
Опора промежуточная (ДЗ-98.16.01.210);Intermediate support
Мост задний ведущий (ДЗ-98В1.62.00.000, ДЗ-98В1.62.00.000-01);Rear driving axle
Мост задний ведущий (ДЗ-98В1.62.00.000, ДЗ-98В1.62.00.000-01);Rear driving axle
Мост задний ведущий (ДЗ-98В1.62.00.000, ДЗ-98В1.62.00.000-01);Rear driving axle
Мост задний ведущий (ДЗ-98В1.62.00.000, ДЗ-98В1.62.00.000-01);Rear driving axle
Мост задний ведущий (ДЗ-98В1.62.00.000, ДЗ-98В1.62.00.000-01);Rear driving axle
Мост задний ведущий (ДЗ-98В1.62.00.000, ДЗ-98В1.62.00.000-01);Rear driving axle
Мост средний (ДЗ-98М.62.00.030);Average axle
Мост задний (ДЗ-98М.62.00.040);Rear axle
Мост передний ведущий (ДЗ-98В1.61.01.000);Front driving axle
Мост передний ведущий (ДЗ-98В1.61.00.000);Front driving axle
Мост передний ведущий (ДЗ-98В1.61.00.000);Front driving axle
Мост передний ведущий (ДЗ-98В1.61.00.000);Front driving axle
Мост передний ведущий (ДЗ-98В1.61.00.000);Front driving axle
Мост передний ведущий (ДЗ-98В1.61.00.000);Front driving axle
Мост передний ведущий (ДЗ-98М.61.01.000);Front driving axle
Рама (ДЗ-98М1.21.00.000);Frame
Установка аккумуляторного ящика (ДЗ-98М1.21.41.100);Installing the battery box
Подвеска задних колес (ДЗ-98М.02.00.000);Rear wheel suspension
Балансир в сборе (ДЗ-98М.02.01.000);Equalizer assembly
Балансир в сборе (ДЗ-98М.02.02.000);Equalizer assembly
Колесо (ДЗ-98В1.24.01.000);Wheel
Колесо (ДЗ-98М.24.00.000);Wheel
Механизм управления муфтой сцепления (ДЗ-98В.13.01.000);Clutch control mechanism
Управление коробкой перемены передач (ДЗ-98В.13.02.000);Gearbox control
Управление колесными тормозами (ДЗ-98В1.13.03.000-03);Wheel brakеs control
Управление стояночным тормозом (ДЗ-98М2.13.04.100);Parking brake control
Система управления регулятором (ДЗ-98М2.13.05.000);Fully-variable regulator control system
Управление рулевое (ДЗ-98М.14.00.000);Steering
Тяга поперечная (Д395Б-43-010);Steering tie-rod
Управление рулевое (ДЗ-98М.14.10.000);Steering
Колонка рулевая (ДЗ-98М2.13.06.000);Steering сolumn
Электрооборудование автогрейдера (ДЗ-98М2.41.00.000-03);Motor grader electric equipment
Электрооборудование автогрейдера (ДЗ-98М2.41.00.000-03);Motor grader electric equipment
Электрооборудование автогрейдера (ДЗ-98М2.41.00.000-03);Motor grader electric equipment
Электрооборудование автогрейдера (ДЗ-98М2.41.00.000-03);Motor grader electric equipment
Электрооборудование кабины (ДЗ-98М2.41.01.000-03);Cab electric equipment
Электрооборудование каркаса кабины (ДЗ-98М2.41.02.000-03);Electric equipment of a framework of a cabin
Система пневматическая (ДЗ-98М2.42.10.000);Pneumatic system
Установка компрессора (ДЗ-98В4.42.10.000);Сompressor installation
Регулятор давления (ДЗ-98М2.42.10.010);Pressure regulator
Противозамерзатель (ДЗ-98М2.42.10.020);Antifreeze
Клапан двойной защитный (ДЗ-98М2.42.10.030);Antifreeze
Тормоз аварийный (ДЗ-98М2.42.10.040);Emergency brake
Пневмораспределитель (ДЗ-98В.42.00.500);Air distributor
Кнопка пневмозащелки (ДЗ-98М2.42.10.050);Pneumatic defence button
Клапан двухмагистральный (ДЗ-98М2.42.10.060);Two-way valve
Кран тормозной (ДЗ-98М2.42.10.070);Brake valve
Пневморазводка мостов (ДЗ-98М2.42.10.080);Pneumatic bridge
Клапан двухмагистральный (ДЗ-98М2.42.10.090);Two-way valve
Гидросистема автогрейдера (ДЗ-98М1.43.00.000);Motor grader hydraulic system
Гидросистема автогрейдера (ДЗ-98М1.43.00.000);Motor grader hydraulic system
Гидросистема автогрейдера (ДЗ-98М1.43.10.000);Motor grader hydraulic system
Установка гидрозамка (ДЗ-98В.43.05.000);Hydraulic lock installation
Установка гидрозамка (ДЗ-98В.43.05.000-01);Hydraulic lock installation
Установка гидрораспределителей (ДЗ-98М1.43.13.300);Hydraulic distributor installation
Гидросистема отвала (ДЗ-98В.43.18.000);Mouldboard hydraulic system
Блок клапанов (ДЗ-98Д.43.02.900);Valve block
Гидросистема рыхлителя (ДЗ-98М1.44.00.000);Hydraulic system
Гидросистема навесного оборудования (ДЗ-98М2.45.00.000);Hydraulic system of attachments
Гидросистема гидрораспределителя (ДЗ-98М1.46.10.000);Hydraulic system hydraulic distributor
Подвеска тяговой рамы (ДЗ-98.30.00.000);Traction frame suspension
Рычаг (ДЗ-98.30.00.010);Lever
Рычаг (ДЗ-98.30.00.020);Lever
Рама тяговая с отвалом (ДЗ-98.34.00.000-01);Traction frame with mouldboard
Отвал (ДЗ-98В.34.00.400);Mouldboard
Редуктор поворота отвала (ДЗ-98.29.00.000);Mouldboard slewing reduction gear
Рама тяговая с отвалом (ДЗ-98Д.34.00.000);Traction frame with mouldboard
Отвал (ДЗ-98Д.34.09.000);Mouldboard
Оборудование бульдозерное (ДЗ-98В1.2.25.02.000);Bulldozing equipment
Отвал (ДЗ-140А.25.12.140);Mouldboard
Оборудование рыхлительное (ДЗ-98В1.3.25.03.000-01);Ripping equipment
Рыхлитель (ДЗ-98В1.3.25.03.010-01);Ripper
Зуб (ДЗ-98В1.3.25.03.120) или (ДЗ-140А.25.11.020);Тooth (ДЗ-98В1.3.25.03.120) or (ДЗ-140А.25.11.020)
Оборудование путепрокладочное (ДЗ-98В1.5.28.00.000);Tracklaying equipment
Отвал (ДЗ-98В1.5.28.01.000);Mouldboard
Боковой отвал (ДЗ-98БО.26.00.000-01);Side mould board
Отвал (ДЗ-98БО.26.40.000);Mouldboard
Рычаг телескопический (ДЗ-98БО.26.60.000);Telescopic lever
Гидросистема бокового отвала (ДЗ-98Б0.43.10.000);Side mouldboard hydraulic system
Блок предохранителей (ДЗ-98БО.43.00.070);Safety device block
Установка гидрораспределителя (ДЗ-98М1.43.13.300-4);Hydraulic distributor installation
Оборудование рыхлительное (ДЗ-98М 1.18.00.000);Ripping equipment
Рама (ДЗ-98М1.18.00.010);Frame
Зуб (ДЗ-98М1.18.00.030);Тooth
Кабина (КА-51.00.00.000);Cab
Установка стекл (КА-51.01.00.000, КА-51.01.00.000-01, КА-51.01.00.000-02);Installing glass
Дверь (КА.51.11.00.000);Door
Дверь (КА.51.11.00.000-01);Door
Площадка оператора (ДЗ-98М2.13.40.000-01);Operator platform
Площадка оператора (ДЗ-98М2.13.40.000-01, ДЗ-98М2.13.40.000-02, ДЗ-98М2.13.40.000-03, ДЗ-98М2.13.40.000-04);Operator platform
Капот (ДЗ-98М.52.07.000);Hood
Установка замка (ДЗ-98М.52.07.080);Lock installation
Установка крыльев (ДЗ-98М.53.00.000);Fender installation
Установка ROPS-FOPS (ДЗ-98М1.55.02.000);ROPS-FOPS installation
Информационный лист Ч(ДЗ-98B)07-22
Электрооборудование автогрейдера (ДЗ-98М2.41.00.000-03);Motor grader electric equipment
Электрооборудование автогрейдера (ДЗ-98М2.41.00.000-03);Motor grader electric equipment
Электрооборудование автогрейдера (ДЗ-98М2.41.00.000-03);Motor grader electric equipment
Электрооборудование автогрейдера (ДЗ-98М2.41.00.000-03);Motor grader electric equipment
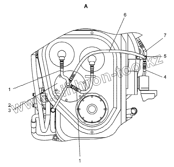
1
1
2
3
4
5
6
7
Позиция на иллюстрации
Заводской номер детали
Название детали
1
РНД10-4,4-650-0,08-54.90/54.90-М18х1,5/М18х1,5-У1-1800
РНД
2
ДЗ-98А.10.00.130
Крышка
3
Д395Б.04.129
Прокладка
4
РНД10-4,4-650-0,08-54.90/54.90-М18х1,5/М18х1,5-У1-1800
РНД
5
ДЗ-98В1.10.00.090
Тройник
6
РНД10-4,4-1300-0,08-54/54-М18х1,5/М18х1,5-У1
РНД
7
РНД10-4,4-300-0,08-54/54-М18х1,5/М18х1,5-У1
РНД
Содержащиеся в справочниках-каталогах запасные части и детали не предлагаются к продаже, а носят исключительно информационный характер
Дополнительная информация
×
Название:
Номер:
Примечание: