Каталог запасных частей к технике: ЧСДМ ДЗ-98В. Колонка рулевая
1
2
3
4
5
5
6
7
8
9
10
11
12
13
14
15
16
17
18
19
20
21
22
23
24
25
25
26
26
26
26
27
27
27
27
28
29
30
31
32
33
34
35
36
37
38
39
40
41
42
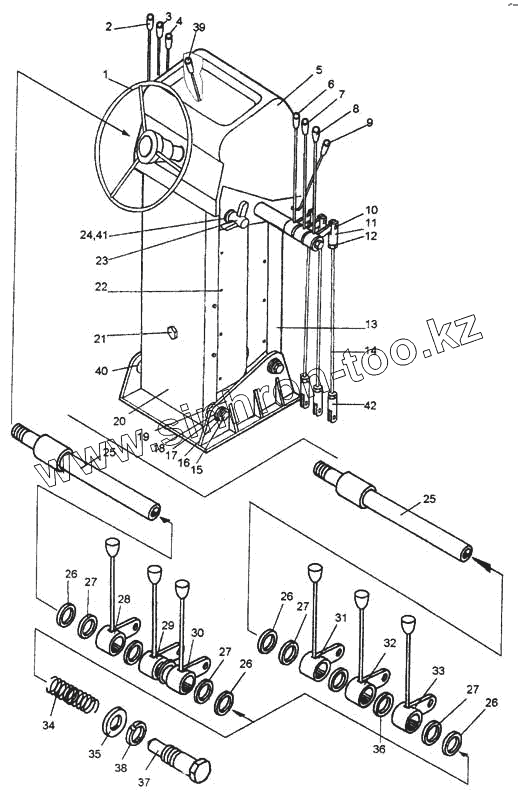
| Позиция на иллюстрации | Заводской номер детали | Название детали | |
|---|---|---|---|
| 1 | 4310-3721.01В | Колесо рулевое | |
| 2 | ДЗ-140А.50.09.000-04 | Ручка | |
| 3 | ДЗ-140А.50.09.000 | Ручка | |
| 4 | ДЗ-140А.50.09.000-01 | Ручка | |
| 5 | ДЗ-140А.50.01.000-11 | Пульт управления | |
| 5 | ДЗ-140А.50.01.180 | Пульт управления | |
| 6 | ДЗ-140А.50.09.000-07 | Ручка | |
| 7 | ДЗ-140А.50.09.000-08 | Ручка | |
| 8 | ДЗ-140А.50.09.000-09 | Ручка | |
| 9 | ДЗ-140А.50.10.080 | Ручка | |
| 10 | Д144-34-014 | Палец | |
| 11 | ДЗ-98В.39.01 007 | Вилка | |
| 12 | М10-6Н.5.019 5915 | Гайка | |
| 13 | ДЗ-140А.50.10.010 | Корпус | |
| 14 | ДЗ-140А.50.00. 009-11 | Тяга | |
| 15 | М10-6gх45.58.019 7798 | Болт | |
| 16 | 10.65Г.069 6402 | Шайба | |
| 17 | 067.14.12 033 | Кольцо | |
| 18 | ДЗ-140А.50.10.038 | Втулка | |
| 19 | ДЗ-140А.50.10 050-10 | Кронштейн | |
| 20 | ДЗ-140А.50.10.020-10 | Корпус | |
| 21 | М10-6gх20.58.019 7798 | Болт | |
| 22 | ВМ6-6gх16 58 019 17473 | Винт | |
| 23 | ДЗ-140А.50.10.130 | Ручка | |
| 24 | 067.14.12.034 | Кольцо | |
| 25 | ДЗ-140А.50.20.010-10 | Вал | |
| 26 | 067.14.11.053 | Шайба | |
| 27 | ДЗ-140А.50.00.003 | Кольцо | |
| 28 | ДЗ-140А.50.30.070 | Рычаг | |
| 29 | ДЗ-140А.50.30.050 | Рычаг | |
| 30 | ДЗ-140А.50.30.030 | Рычаг | |
| 31 | ДЗ-140А.50.30.020 | Рычаг | |
| 32 | ДЗ-140А.50.30.040 | Рычаг | |
| 33 | ДЗ-140А. 50.30.060 | Рычаг | |
| 34 | 067.51.00.241 | Пружина | |
| 35 | 067.14.11.031 | Шайба | |
| 36 | ДЗ-140А.50.00.003 | Кольцо | |
| 37 | ДЗ-140А. 50.10.079 | Болт | |
| 38 | 8.65Г.069 6402 | Шайба | |
| 39 | ДЗ-140А.50.10.080-01 | Ручка | |
| 40 | ДЗ-140А.50.10.039 | Ось | |
| 41 | ДЗ-140А.50.10.051 | Стержень | |
| 42 | ДЗ-140А.50.10.074 | Вилка |
Содержащиеся в справочниках-каталогах запасные части и детали не предлагаются к продаже, а носят исключительно информационный характер