Вернуться на главную
Поиск
Каталоги запчастей к технике
Спецтехника
ChengGong
CG-956C
Z5EII0601 Brake
Каталог запасных частей к технике: ChengGong CG-956C. Z5EII0601 Brake
zoom-in
zoom-out
enlarge
shrink
circle-right
circle-left
file-text2
info
cart
Тип техники
Не выбрано
Легковые автомобили
Грузовые автомобили и прицепы
Автобусы
Сельхозтехника
Спецтехника
Двигатели
Мототехника
Марка
Не выбрано
Ammann
BOMAG
CARMIX
CASE IH
Changlin
ChengGong
Dimex
Doosan
DYNAPAC
Foton
HAMM
Hidromek
Hitachi
Hyundai
JCB
JLG
John Deere
Komatsu
LIEBHERR
LiuGong
Lonking (LongGong)
Luneng
MANITOU
Mitsuber
New Holland
PENGPU
RM-Terex
SANY
SDLG
SEM
Shantui
Shehwa HBXG
Soosan
TIGARBO
VOGELE
Volvo
WAY
WIRTGEN
XCMG
XGMA
Xiamen
YTO
Yuchai
Zoomlion
Автокран
АЗСМ
Алтайлесмаш
Амкодор
АОМЗ
Атек
АТЗ
Балканкар Рекорд
БелАЗ
Беловеж
Борекс
Брянский Арсенал
Булат
ВЭКС
ГАЗ
Геомаш
Гидромаш
Донекс
Дормаш
Дормашина
Дорэлектромаш
ДЭЗ
ЕлАЗ
ЗЗГТ
Ижнефтемаш
Канаш-электрокар
КЗКТ
ККЗ
Клевер
Клинцовский автокрановый завод
КМЗ
КМЗ 1 Мая
Ковровец
Коммаш
Кранэкс
КЭЗ
КЭМЗ
ЛЗА
МАЗ
МЗИК
МЗКМ
МЗКТ
Михневский РМЗ
МоАЗ
Мозырский МЗ
МТЗ
ОЗП
Онежец
ПАО "ТЗА"
ППС Детва
Промтрактор
ПТЗ
Раскат
СпецАгрегат
ТВЭКС
ТТМ
УВЗ
Угличмаш
УЗТМ
ХТЗ
ЧЗКМ
ЧСДМ
ЧТЗ
ЭКСКО
ЭКСМАШ
ЮрМаш
Модель
Не выбрано
CG-932H (2014)
CG-932H (2014)
CG-935G (2006)
CG-935H (2014)
CG-938H (2006)
CG-956C (2014)
CG-956G (2014)
CG-958G (2006)
CG-958H (2006)
Схема
>
Не выбрано
Z5E301T4 Engine Assembly
Z5E20101T3 Fuel Tank
Z5E30102T1 Cooling System
Torque Converter And Transmission Assembly
YJSW315-6 Torque Converter
YJSW315-6 Torque Converter
YJHSW315A-10 Torque Converter
Z5E303T4 Transmission
Z5E303T4 Transmission
Power Shift Pump
Range Gear Assembly
Exceed Clutch
Reverse Planetary Assembly
Disk Bracket Assembly
ZL50.3.8Т42 Shaft Assembly
1st- Planetary Assembly
1st- Range Gear
1st-Range Cylinder Assembly
1st-Range Piston Assembly
Reverse-Range Piston Assembly
Air Cover Assembly
BF25 Control Valve- Transmission
ZL50.3.16A Bracket
Z55S0303T2 Oil Pan Assembly
Z5E30301 Oil Pipe Assembly
Transmission Oil Line And Control System
SFM-681A Filter
LJ134B10X2300 Control System
Z5EII05 Rear Axle (I)
Z5EII06 Front Axle (I)
Z5EII06 Front Axle (II)
Z5EII0602 Rim Assembly
Z50F0601 Gear box
Z5EII0601 Brake
Z5EII0603 Dust Shroud
Front Drive Shaft
Z50E11 Rear Drive Shaft
Z5E308T1 Steering System
P5100-F100NP367 6/P124-G16Y18G Pump
Z55S0801T2 Enlarger Valve
ZLF25 Enlarger Valve
Z55S0802T2 Steering Unit
BZZ3-125 (502-3123) Steering Unit
Z55S0803T2 Valve
SF8-00 Valve
ZL956Ca-90/45 Steering Cylinder
Z50E309T4 Braking System
Z50E0901T3 Pedal Brake Valve Assembly
Z5E30902T1 Accentor assm
Z5E30905T1 Oil Water Separator
HP3514AB Breaking valve
XM60C (CD) -3514002 Air Breaking Valve
HP3512B Oil Water Separator
SH380 Oil Water Separator
Z5E310T1 Hydraulic System
1117041100 Gear Pump
Z5E31002T1 Hydraulic Oil Tank
Z5E21001 Flange Assembly
Z5E31013 Multi-Way Inverter Valve
D32 Multi-way valve
Z50E1007T46 Steel Tube Assembly
Z50E1005T38 Steel Tube Assembly
Z5E31014 (Z5E31015) Left (Right) Lift Cylinder Assembly
ZL956C-150/80 Lift Cylinder
Z5E31006 Tilting Cylinder Assembly
ZL956C-180/90 41 Tilting Cylinder
Z5E31011T1 Suction Pipe
Z5E31003T1 Pilot Valve
DXS-00 (CK) Pilot Valve
Z5E312T1 Frame Group (I)
Frame Group (II)
Z5E312T1 Frame Group (III)
Z5E312T1 Frame Group (IV)
Z5E312T1 Frame Group (V)
Z5E313T1 Cab
Z5E313T1 Cab
Z5E313T1 Cab
Z5E313T1 Cab
Z5E314 Implement (I)
Z5E314 Implement (II)
Z5E314 Implement (III)
Z5E315T4 Electrical Component
Z5E300T4 Electrical Principle Scheme
Z50G16T17 Level Device
Z35A1601B Bracket
Z50G1603T17 Seat
Z35A160201B Seat
Z50G1602T17 Position Pole
Z5E317T1 Air-conditioner System
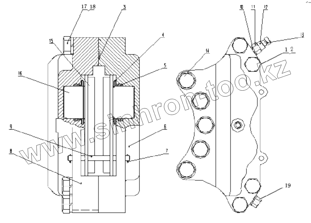
1
2
3
4
5
6
7
8
9
10
11
12
13
14
15
16
17
17
18
18
19
Позиция на иллюстрации
Заводской номер детали
Название детали
1
Z3BII060300001
Bolt
2
GB93-87
Washer 8
3
GB3452.1-92
O-Ring 140x3.55
4
CG50.6.2-10
Dust Shroud
5
CG50.6.2-9
Seal-Rectangle
6
Z5EII060100002
Brake head
7
GB91-86
Pin 4.5x45
8
Z5EII060100001
Brake head
9
Z5EII060100004
Pin
10
Z3BII060300014
Washer
11
Z3BII060300010
Deflation Bolt
12
Z3BII060300011
Exhaust Plug
13
GB5783-86
Bolt M8x20
14
Z5EII060100005
Bolt
15
Z5EII060101
Lock Wire
16
Z5EII060100003
Piston
17
Z3BII060300001
Bolt
17
Z5EII060100006
Bolt
18
Z5EII060100007
Washer
18
GB93-87
Washer 8
19
Z3EII060300006
Bolt
Содержащиеся в справочниках-каталогах запасные части и детали не предлагаются к продаже, а носят исключительно информационный характер
Дополнительная информация
×
Название:
Номер:
Примечание: