Каталог запасных частей к технике: ChengGong CG-956C. Z5E315T4 Electrical Component
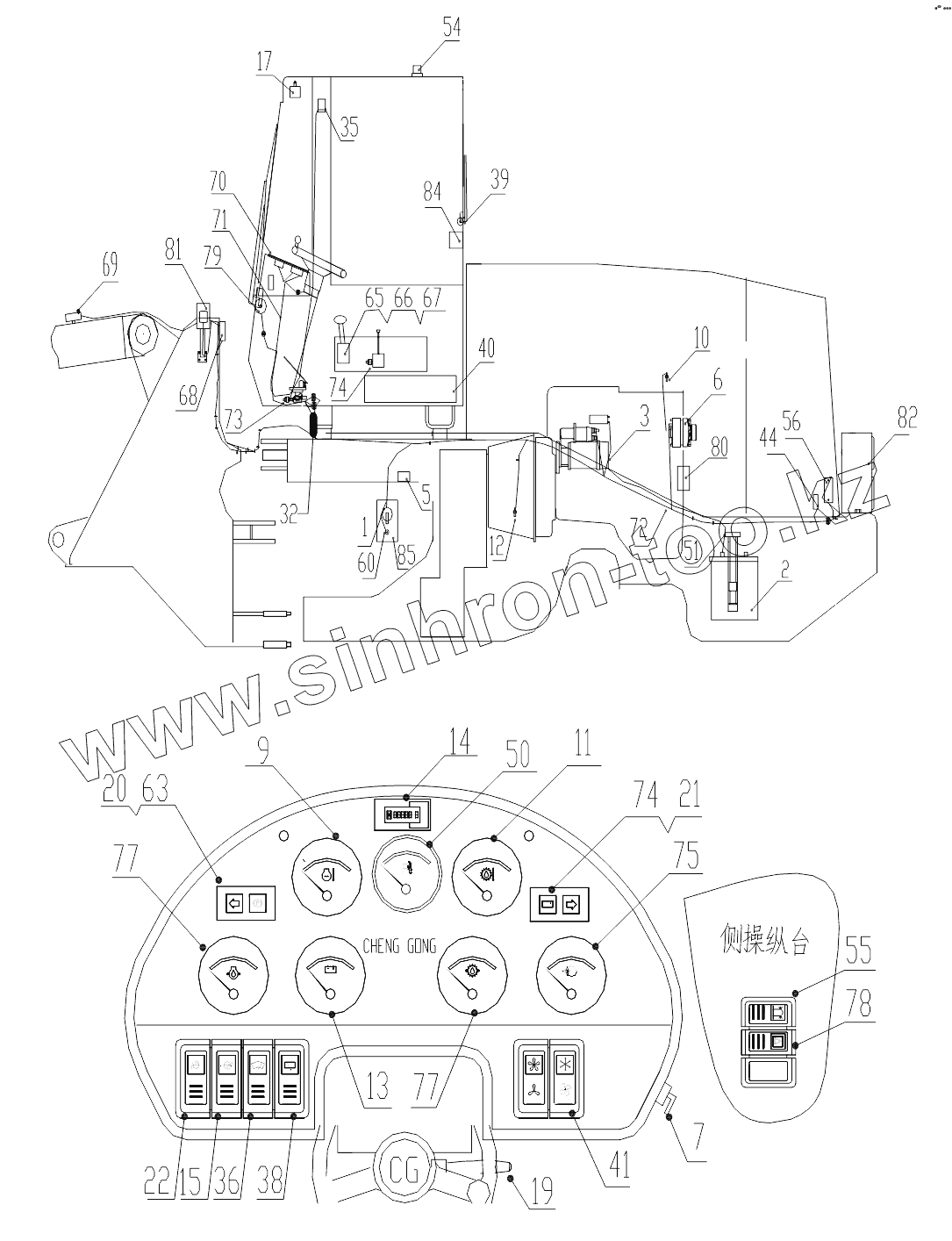
1
2
3
5
6
7
9
10
11
12
13
14
15
17
19
20
21
22
32
35
36
38
39
40
41
44
50
51
54
55
56
60
63
65
66
67
68
69
70
71
72
73
74
74
75
77
77
78
79
80
81
82
84
85
| Позиция на иллюстрации | Заводской номер детали | Название детали | |
|---|---|---|---|
| 1 | JK862A | Battery Disconnect SW | |
| 2 | 6-QW-120B | Battery | |
| 3 | CAT-4N3181M7.5KW | Starting motor | |
| 4 | JD26C/24V | Starting additional relay | |
| 5 | HG4735 | Fuse box | |
| 6 | САТ-ЗТ635235А | Alternator | |
| 7 | JK430 | Engine Start SW | |
| 8 | CAT | Parking electromagnetism | |
| 9 | DW-2/40~12°CDC/24V | Water Temp. Gauge | |
| 10 | WG-2/24VR1/2 | Water Temp. Sensor | |
| 11 | DW-2/40~14°CDC/24V | Trans. Oil Temp. Gauge | |
| 12 | WG-2/24VM14x1.5 | Oil Temp. Sensor | |
| 13 | DV-2/18~32V | Voltmeter | |
| 14 | 701DN00101248D | Hour meter | |
| 15 | JK981-000-3.67 | Rear Light SW. | |
| 16 | CG70W/24V | Light | |
| 17 | CG70W/24V | Light | |
| 18 | JQ604/24V | Turning Flasher | |
| 19 | 303A | Lamp SW | |
| 20 | 3.2/LED | Left turn Indicator | |
| 21 | 3.3/LED | Right turn Indicator | |
| 22 | JK981-000-3.67 | Rear Light SW. | |
| 23 | 15W/24V | Double-color headlight | |
| 24 | 15W/24V | Double-color headlight | |
| 25 | 15W/24V | Double-color headlight | |
| 26 | 2W/24V | Instrument panel lamp | |
| 27 | JK981-090-5114 | Headlamp/side light switch | |
| 28 | CG70W/24V | Light | |
| 29 | 8/21W/24V | Assembled tail lamp | |
| 30 | PN150 | Braking Light SW | |
| 31 | 8/21W/24 | Tail lamp | |
| 32 | DL-224EG/24V | Horn | |
| 33 | JK802B | Horn Button | |
| 34 | JK981-000-2.58 | Wall Light SW | |
| 35 | 10W/24V | Back-up lamp | |
| 36 | JK981-045-2.5 | Front Wiper SW. | |
| 37 | CG955S-D/H600 | Wiper | |
| 38 | JK981-045-2.56 | Back Wiper SW | |
| 39 | CG955S-D/H600 | Wiper | |
| 40 | DJC-CGY | Evaporator Assembly | |
| 41 | AC-1 | Evaporator Assembly SW | |
| 42 | JK981-052 | Air-condition pattern SW | |
| 43 | evaporatorfanmotor | Evaporator fan motor | |
| 44 | CryogenPressureSwitch | Cryogen Pressure Switch | |
| 45 | TemperatureControlSW. | Temperature Control SW | |
| 47 | LED/24V | Indicator | |
| 48 | Condenserfanmotor24V | Condenser fan motor | |
| 49 | SD5H14/24V | Compressor clutch valve | |
| 50 | OilLevelGauge | Oil Level gauge | |
| 51 | RG-4/520mm | Oil Level sensor | |
| 52 | CAT | Parking electromagnetism | |
| 53 | JQ201S-PLO | Trans. Neutral Relay | |
| 54 | CG-21/10W | Circumrotate alarm light | |
| 55 | JK981-000-3.4 | Warnning alarm light SW | |
| 56 | JWL-FM212/24V | Back annunciator | |
| 57 | JQ201S-PLO | Trans. Neutral Relay | |
| 58 | Backuplight | Backup light | |
| 59 | JQ604 | Turning Flasher | |
| 60 | 2NT1-7 | Hood Tilt SW | |
| 61 | 24V | Cover Turn Machine | |
| 62 | NPTl/8-3bar | Braking Light SW | |
| 63 | LED | Braking Light | |
| 64 | NPTl/8-5bar | Aback alarm stress SW | |
| 65 | Valve1 | Lift kick-out valve | |
| 66 | Valve2 | Bucket positioned valve | |
| 67 | Valve3 | Lift floating valve | |
| 68 | SPK-1 | Bucket positioned control | |
| 69 | TSK-1 | Lift kick-out control | |
| 70 | Z5E31501T4 | Instrument plate assembly | |
| 71 | Z5E31502T4 | Cab wiring harness | |
| 72 | Z5E31503T4 | Vehicle wiring harness | |
| 73 | PS31-30-2MNB-B-SP-FS3BarR | Braking Light SW | |
| 74 | 2.16 | Battery Charge Indicator | |
| 75 | DY-2CB/0-1.0MPa/24V | Brake pressure gauge | |
| 76 | YT-202/0~3.2MPa/24v | Trans. Oil pressure gauge | |
| 77 | DY2CA/0-0.8MPa/24V | Engine Oil pressure gauge | |
| 78 | JK981-000-3.4 | Warnning alarm light SW | |
| 79 | Z5E31504T1 | Wiper installation | |
| 80 | Z5E21505T1 | Relay installation | |
| 81 | Z5E215062 | Headlight installation | |
| 82 | Z5E21507T2 | Tail lamp installation | |
| 83 | Z5E31508T3 | Battery installation | |
| 84 | HG4753 | Fuse box installation | |
| 85 | Z5E31512 | Power supply on-off installation |
Содержащиеся в справочниках-каталогах запасные части и детали не предлагаются к продаже, а носят исключительно информационный характер