Каталог запасных частей к технике: ChengGong CG-938H. Engine Assembly
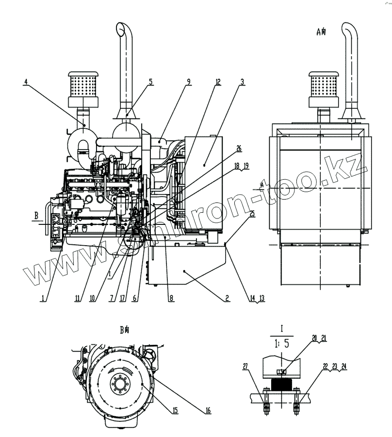
1
2
3
4
5
6
7
8
9
10
11
12
13
14
15
16
17
18
19
20
21
22
23
24
25
26
27
| Позиция на иллюстрации | Заводской номер детали | Название детали | |
|---|---|---|---|
| 1 | QSB6.7(F-CG35-QSB6.7) | Diesel Engine | |
| 2 | Z38G0101 | Fuel Tank Assembly | |
| 3 | Z38G0102 | Cooling Assembly | |
| 4 | Z38G0103 | Admission Assembly | |
| 5 | Z38G0104 | Eхhaust Assembly | |
| 6 | Z50G0107T17 | Inlet Oil Hose Assembly | |
| 7 | Z35G0110T4 | Engine support | |
| 8 | Z38G0105 | Inlet Hose Assembly | |
| 9 | Z38G0106 | Outlet Hose Assembly | |
| 10 | Z50G010000001T7 | Give Warm Outlet Pipe | |
| 11 | Z50G010000002T7 | Give Warm inlet Pipe | |
| 12 | 0/5x8. 5/BC90A | Fan | |
| 13 | GB/T5783-2000 | Connector | |
| 14 | GB/T93-1987 | Valve | |
| 15 | 3/8X18.5-16 | Bolt | |
| 16 | GB/T5783-2000 | Connector | |
| 17 | EA400 | Damper | |
| 18 | GB/T5783-2000 | Connector | |
| 19 | GB/T93-1987 | Valve | |
| 20 | GB/T5782-2000 | Bolt | |
| 21 | GB/T93-1987 | Valve | |
| 22 | GB/T5782-2000 | Bolt | |
| 23 | GB/T93-1987 | Valve | |
| 24 | GB/T6170-2000 | Nut M14 | |
| 25 | GB/T97.1 | Washer 10 | |
| 26 | GB/T97.1 | Washer 10 | |
| 27 | GB/T97.1 | Washer 10 |
Содержащиеся в справочниках-каталогах запасные части и детали не предлагаются к продаже, а носят исключительно информационный характер