Каталог запасных частей к технике: Changlin ZL50H. Z50G.1D Engine System
Clamp
Clamp
1
1
2
3
3
4
5
6
7
8
8
9
10
11
12
13
13
14
15
16
17
18
19
20
21
22
23
23
24
25
26
27
28
29
30
31
32
33
34
35
36
37
38
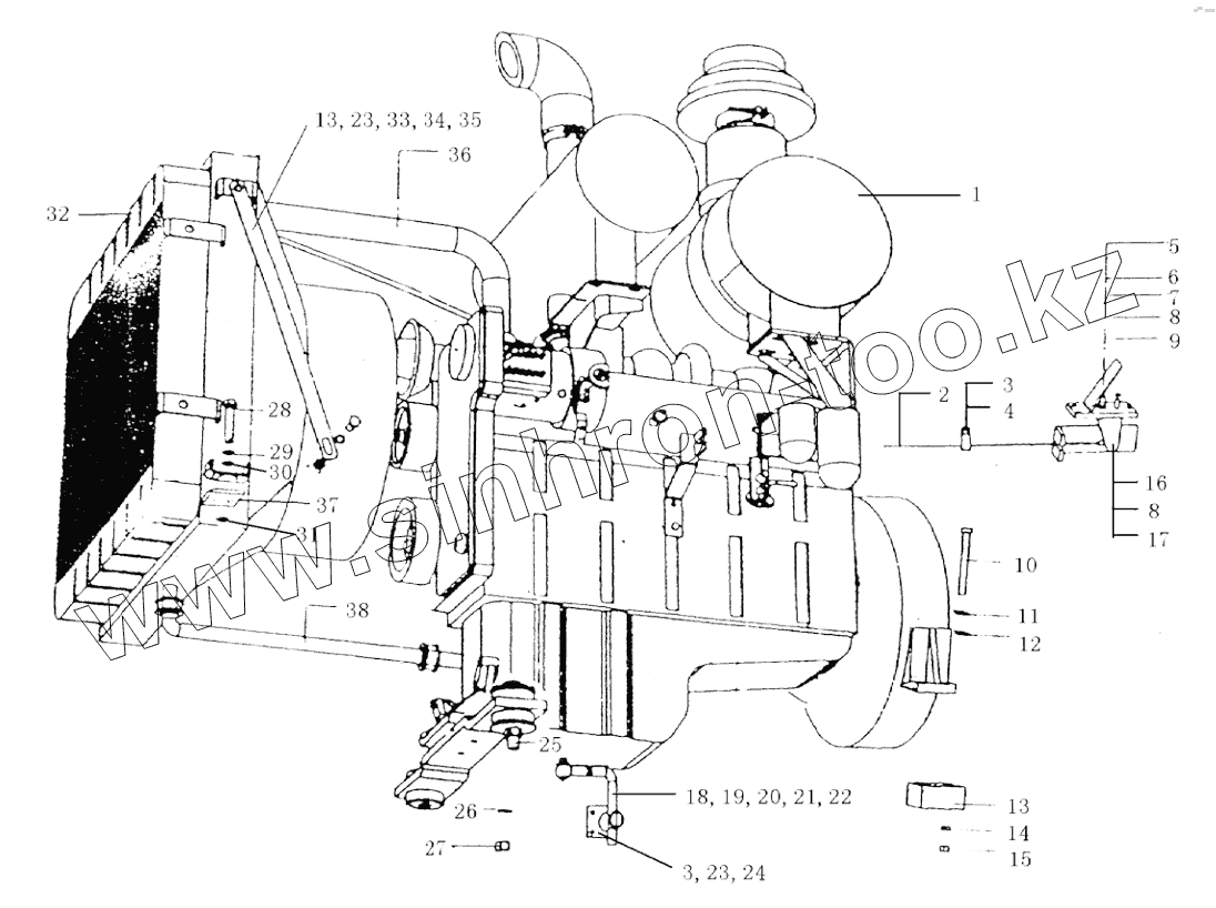
| Позиция на иллюстрации | Заводской номер детали | Название детали | |
|---|---|---|---|
| Clamp | Clamp | Clamp | |
| Clamp | Clamp | Clamp | |
| 1 | W-02-00354 | Engine | |
| 1 | W-02-00010 | Engine | |
| 2 | Z50G.1C.3 | Flexible shaft | |
| 3 | B-G057830-00003 | Bolt | |
| 4 | B-Q020050-00007 | Wire holder | |
| 5 | W-02-00068 | Accelerator pedal | |
| 6 | B-G057830-00131 | Bolt | |
| 7 | B-G061700-00034 | Nut | |
| 8 | B-G00097B-00021 | Washer | |
| 9 | B-G000930-00015 | Washer | |
| 10 | Z50B.1-13 | Bolt | |
| 11 | B-G000930-00005 | Washer | |
| 12 | B-G00097B-00006 | Washer | |
| 13 | Z50B.1.6 | Cushion | |
| 14 | B-G061710-00007 | Nut | |
| 15 | B-G061730-00005 | Nut | |
| 16 | Z30.1A.1 | Ball socket joint | |
| 17 | B-G061720-00016 | Nut | |
| 18 | Z50E.1D-3 | Joint | |
| 19 | Z50B.1.11 | Connector | |
| 20 | Z50B.1-12 | Plug screw | |
| 21 | Z50G.1D-1 | Cushion | |
| 22 | B-J088700-00012 | Clamp | |
| 23 | B-G00097B-00002 | Washer | |
| 24 | B-G000930-00001 | Washer | |
| 25 | B-G057850-00051 | Bolt | |
| 26 | B-Q020490-00015 | Washer | |
| 27 | B-G061710-00026 | Nut | |
| 28 | B-G057830-00081 | Washer | |
| 29 | B-G000930-00006 | Bolt | |
| 30 | B-G00097B-00008 | Washer | |
| 31 | B-G061700-00014 | Nut | |
| 32 | Z50G.1D.2 | Radiator ass’y | |
| 33 | B-G057830-00057 | Bolt | |
| 34 | B-G061700-00010 | Nut | |
| 35 | Z50E.1D-1 | Rubber pad | |
| 36 | Hose | Hose | |
| 37 | Cushion | Cushion | |
| 38 | Hose | Hose |
Содержащиеся в справочниках-каталогах запасные части и детали не предлагаются к продаже, а носят исключительно информационный характер