Вернуться на главную
Поиск
Каталоги запчастей к технике
Спецтехника
CARMIX
CARMIX-5.5XL
CHASSIS
Каталог запасных частей к технике: CARMIX-5.5XL. CHASSIS
zoom-in
zoom-out
enlarge
shrink
circle-right
circle-left
file-text2
info
cart
Тип техники
Не выбрано
Легковые автомобили
Грузовые автомобили и прицепы
Автобусы
Сельхозтехника
Спецтехника
Двигатели
Мототехника
Марка
Не выбрано
Ammann
BOMAG
CARMIX
CASE IH
Changlin
ChengGong
Dimex
Doosan
DYNAPAC
Foton
HAMM
Hidromek
Hitachi
Hyundai
JCB
JLG
John Deere
Komatsu
LIEBHERR
LiuGong
Lonking (LongGong)
Luneng
MANITOU
Mitsuber
New Holland
PENGPU
RM-Terex
SANY
SDLG
SEM
Shantui
Shehwa HBXG
Soosan
TIGARBO
VOGELE
Volvo
WAY
WIRTGEN
XCMG
XGMA
Xiamen
YTO
Yuchai
Zoomlion
Автокран
АЗСМ
Алтайлесмаш
Амкодор
АОМЗ
Атек
АТЗ
Балканкар Рекорд
БелАЗ
Беловеж
Борекс
Брянский Арсенал
Булат
ВЭКС
ГАЗ
Геомаш
Гидромаш
Донекс
Дормаш
Дормашина
Дорэлектромаш
ДЭЗ
ЕлАЗ
ЗЗГТ
Ижнефтемаш
Канаш-электрокар
КЗКТ
ККЗ
Клевер
Клинцовский автокрановый завод
КМЗ
КМЗ 1 Мая
Ковровец
Коммаш
Кранэкс
КЭЗ
КЭМЗ
ЛЗА
МАЗ
МЗИК
МЗКМ
МЗКТ
Михневский РМЗ
МоАЗ
Мозырский МЗ
МТЗ
ОЗП
Онежец
ПАО "ТЗА"
ППС Детва
Промтрактор
ПТЗ
Раскат
СпецАгрегат
ТВЭКС
ТТМ
УВЗ
Угличмаш
УЗТМ
ХТЗ
ЧЗКМ
ЧСДМ
ЧТЗ
ЭКСКО
ЭКСМАШ
ЮрМаш
Модель
Не выбрано
CARMIX-3.5TT (2007)
CARMIX-5.5XL (2007)
Схема
>
Не выбрано
CHASSIS
CAB
DRUM UNIT
DRUM WHEEL
SHOVEL UNIT
ENGINE UNIT
SUCTION AND OUTLET
ACCELERATOR CONTROLS
SERVICE BRAKES SYSTEM
GEAR CONTROL
GEAR BOX
TRANSMISSION SHAFT - WHEELS
FRONT AXLE: CENTRAL HOUSING
FRONT AXLE: DIFFERENTIAL
FRONT AXLE: WHEEL HUB
FRONT AXLE: BRAKES
FRONT AXLE: STEERING CYLINDER
REAR AXLE: CENTRAL HOUSING
REAR AXLE: DIFFERENTIAL
REAR AXLE: WHEEL HUB
REAR AXLE: BRAKES
REAR AXLE: STEERING CYLINDER
REAR AXLE: OSCILLATION SUPPORTS
TRANSMISSION HYDRAULIC PLANT
DRUM ROTATION PLANT
DRUM ROTATION REDUCER
DRUM REDUCER SUPPORT
SERVICES PLANT
DISTRIBUTOR
DISTRIBUTOR
PARKING BRAKE PLANT
MANIPULATOR FEEDING
MANIPULATOR
STEERING PLANT
LIFTING SHOVEL PLANT
LIFTING SHOVEL JACK
TILTING SHOVEL PLANT
TILTING SHOVEL JACK
SHOVEL COVER PLANT
SHOVEL COVER JACK
LIFTING CHUTE PLANT
LIFTING CHUTE JACK
CHUTE ROTATION PLANT
CHUTE ROTATION JACK
WATER PUMP PLANT
WATER PUMP
WATER PLANT
HIGH PRESSURE WATER PUMP PLANT
HIGH PRESSURE WATER PUMP
HIGH PRESSURE WATER PUMP VALVE
STEERING COLUMN UNIT
ELECTRICAL COMPONENTS
RELAYS BOX
WEIGHING SYSTEM
EQUIPMENT
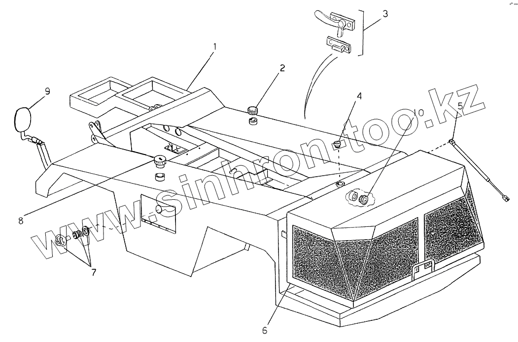
1
2
3
4
5
6
7
8
9
10
Позиция на иллюстрации
Заводской номер детали
Название детали
1
50.01.01.000
Chassis
2
009.0275.0000
Water tank cap
3
009.0338.0000
Handle
4
009.0170.0000
Oil tank cap
5
009.0330.0000
Gas spring
6
50.41.01.000
Hood
7
009.0089.0000
Lock
8
009.0322.0000
Fuel tank cap
9
009.0033.0000
Left mirror
10
009.0016.0000
Oil level indicator
Содержащиеся в справочниках-каталогах запасные части и детали не предлагаются к продаже, а носят исключительно информационный характер
Дополнительная информация
×
Название:
Номер:
Примечание: