Вернуться на главную
Поиск
Каталоги запчастей к технике
Спецтехника
Брянский Арсенал
TG-250
Амортизатор
Каталог запасных частей к технике: Брянский Арсенал TG-250. Амортизатор
zoom-in
zoom-out
enlarge
shrink
circle-right
circle-left
file-text2
info
cart
Тип техники
Не выбрано
Легковые автомобили
Грузовые автомобили и прицепы
Автобусы
Сельхозтехника
Спецтехника
Двигатели
Мототехника
Марка
Не выбрано
Ammann
BOMAG
CARMIX
CASE IH
Changlin
ChengGong
Dimex
Doosan
DYNAPAC
Foton
HAMM
Hidromek
Hitachi
Hyundai
JCB
JLG
John Deere
Komatsu
LIEBHERR
LiuGong
Lonking (LongGong)
Luneng
MANITOU
Mitsuber
New Holland
PENGPU
RM-Terex
SANY
SDLG
SEM
Shantui
Shehwa HBXG
Soosan
TIGARBO
VOGELE
Volvo
WAY
WIRTGEN
XCMG
XGMA
Xiamen
YTO
Yuchai
Zoomlion
Автокран
АЗСМ
Алтайлесмаш
Амкодор
АОМЗ
Атек
АТЗ
Балканкар Рекорд
БелАЗ
Беловеж
Борекс
Брянский Арсенал
Булат
ВЭКС
ГАЗ
Геомаш
Гидромаш
Донекс
Дормаш
Дормашина
Дорэлектромаш
ДЭЗ
ЕлАЗ
ЗЗГТ
Ижнефтемаш
Канаш-электрокар
КЗКТ
ККЗ
Клевер
Клинцовский автокрановый завод
КМЗ
КМЗ 1 Мая
Ковровец
Коммаш
Кранэкс
КЭЗ
КЭМЗ
ЛЗА
МАЗ
МЗИК
МЗКМ
МЗКТ
Михневский РМЗ
МоАЗ
Мозырский МЗ
МТЗ
ОЗП
Онежец
ПАО "ТЗА"
ППС Детва
Промтрактор
ПТЗ
Раскат
СпецАгрегат
ТВЭКС
ТТМ
УВЗ
Угличмаш
УЗТМ
ХТЗ
ЧЗКМ
ЧСДМ
ЧТЗ
ЭКСКО
ЭКСМАШ
ЮрМаш
Модель
Не выбрано
TG-140 (2014)
TG-140 (2019)
TG-180 (2013)
TG-180 (760-12) (2017)
TG-200 (770.исп.01) (2014)
TG-200 (770.исп.11) (2014)
TG-250 (2014)
TG-250 (2018)
TG-250 (782-80) (2017)
АсфК-3-02 (2010)
ГС-10.01 (2010)
ГС-10.07 (2019)
ГС-14.02 (2003)
ГС-14.02 (2009)
ГС-14.02 (2017)
ГС-14.02 (250-22) (2016)
ГС-14.03 (2009)
ГС-18.05 (2009)
ГС-18.05 (752-10) (2017)
ГС-18.05-20 (752-20) (2020)
ГС-18.07 (2009)
ГС-25.09 (2009)
ДЗ-143
ДЗ-180А (2000)
ФДХС-К-1000-01 (2010)
Схема
>
Не выбрано
Рама
Оборудование рабочее
Оборудование рабочее
Оборудование рабочее
Гидроцилиндр
Гидроцилиндр
Цилиндр фиксатора
Отвал
Мост передний
Мост передний
Гидромотор
Гидроцилиндр
Шарнир
Гидромотор
Трансмиссия
Установка коробки передач
Установка коробки передач
Тележка задняя
Колесо
Отвал передний
Гидросистема отвала переднего
Установка кожухов
Установка крыльев задних
Установка крыльев передних
Установка кабины
Кабина
Кабина
Установка облицовки потолка
Установка интерьера кабины
Установка консоли управления с сиденьем
Установка стекол
Установка стекол
Установка бачка омывательной жидкости
Установка бачка омывательной жидкости
Установка воздушных фильтров
Гидросистема кабины
Гидросистема кабины
Педаль тормоза
Клапан стояночного тормоза
Установка дверей
Установка дверей
Установка рулевой колонки
Установка рулевой колонки
Установка воздушных каналов и теплообменника
Установка воздушных каналов и теплообменника
Педаль газа
Облицовка
Облицовка
Облицовка
Облицовка левая
Облицовка правая
Установка кронштейнов фонарей задних
Установка замка капота
Установка ремня капота
Установка кронштейна номерного знака
Установка пружин газовых
Установка кронштейнов панелей боковых
Установка кронштейнов
Лестница
Лестница
Лестница
Тяги управления
Тяги управления
Блок баков
Блок баков
Установка климатическая
Установка климатическая
Установка климатическая
Установка силовая
Установка двигателя
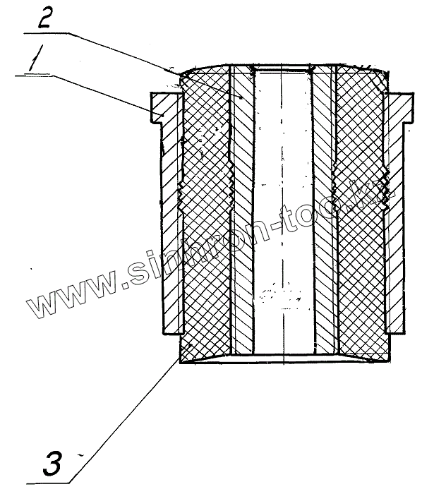
Амортизатор
Система охлаждения
Система охлаждения
Установка блока радиаторов
Установка блока радиаторов
Установка глушителя
Установка термоленты
Установка воздухоочистителя
Система питания
Рыхлитель
Рыхлитель
Гидросистема
Гидросистема
Схема гидравлическая соединений. Гидросистема рамы подмоторной
Гидросистема рамы подмоторной
Гидросистема рамы подмоторной
Гидросистема рамы подмоторной
Гидрораспределитель
Тройник
Коллектор напорный
Клапан обратный
Переходник
Тройник
Тройник
Тройник
Фильтр напорный
Тройник
Коллектор сливной
Схема гидравлическая соединений. Гидросистема рамы передней
Гидросистема рамы передней
Гидросистема рамы передней
Гидрораспределитель
Блок гидрораспределителей
Гидрораспределитель
Клапан предохранительный
Тройник
Гидросистема рабочего оборудования
Гидросистема рабочего оборудования
Блок клапанов
Гидросистема рыхлителя
Электрооборудование кабины
Электрооборудование кабины
Консоль управления в сборе с сиденьем
Консоль управления в сборе с сиденьем
Рулевая колонка в сборе
Рулевая колонка в сборе
Электрооборудование
Установка аккумулятора
Установка выключателя "массы"
Установка датчиков на двигателе
Установка блока предохранителей и реле на двигателе
Установка датчиков
Установка блока предохранителей и реле на двигателе
Установка топливного датчика
Установка розетки
Установка передних осветительных и акустических приборов
Установка задних осветительных приборов
Фонарь освещения номерного знака
Сигнал заднего хода
Электрооборудование переднего моста
Блок переднего моста
Схема гидравлическая соединений. Гидросистема переднего моста
Гидросистема переднего моста
Гидросистема переднего моста
Гидросистема переднего моста
Угольник
Клапан промывочный
Делитель потока
Клапан свободного вращения
Клапан предохранительный
Коллектор
Тройник
Коллектор
Угольник
Фильтр всасывающий
Схема гидравлическая соединений. Гидросистема тормозов
Гидросистема тормозов
Гидросистема тормозов
Тройник
Коллектор
Установка выключателя
Тройник
Тройник
Гидросистема КПП
Гидросистема КПП
1
2
3
Позиция на иллюстрации
Заводской номер детали
Название детали
1
200.16.00.01.001
Втулка наружная
2
200.16.00.01.002
Втулка внутренняя
3
10.01.08.00.005
Смесь резиновая
Содержащиеся в справочниках-каталогах запасные части и детали не предлагаются к продаже, а носят исключительно информационный характер
Дополнительная информация
×
Название:
Номер:
Примечание: