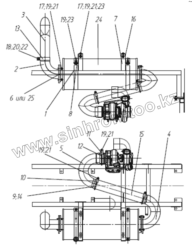
Каталог запасных частей к технике: Брянский Арсенал TG-180. 780.22.03.00.000 Установка глушителя
1
2
3
4
5
6
7
8
9
10
11
12
13
14
15
16
17
17
18
19
19
19
19
19
20
21
21
21
21
22
23
23
24
25
| Позиция на иллюстрации | Заводской номер детали | Название детали | |
|---|---|---|---|
| 1 | 257.02.03.04.000 | Лента стяжная | |
| 2 | 257.02.03.08.000-01 | Патрубок выходной | |
| 3 | 257.02.03.09.000 | Труба съемная | |
| 4 | 780.22.03.01.000 | Патрубок | |
| 5 | 780.22.03.02.000 | Патрубок | |
| 6 | 257.02.03.00.002 | Прокладка | |
| 7 | 257.02.03.00.006 | Скоба | |
| 8 | 257.02.03.00.007 | Прокладка | |
| 9 | 271.02.00.00.002 | Скоба | |
| 10 | 271.02.00.00.003 | Хомут | |
| 11 | 283.02.04.00.003 | Хомут | |
| 12 | 283.02.04.00.004 | Скоба | |
| 13 | 286.02.03.00.002 | Хомут | |
| 14 | 753.02.03.00.002 | Прокладка | |
| 15 | 760.02.03.00.001-02 | Металлорукав | |
| 16 | 760.02.03.00.002 | Кронштейн | |
| 17 | 51.01.02.00.016 | Болт | |
| 18 | 51.01.02.00.140 | Болт М12-6gх40.88.016 | |
| 19 | 51.03.04.00.011 | Гайка-6Н.6.016 | |
| 20 | 51.03.04.00.014 | Гайка-6Н.6.016 | |
| 21 | 51.04.04.00.001 | Шайба.65Г.016 | |
| 22 | 51.04.04.00.004 | Шайба.65Г.016 | |
| 23 | 51.04.02.00.029 | Шайба С.10.02.Ст3сп.06 | |
| 24 | 9.04.01.00.004 | Глушитель выпуска | |
| 25 | 9.04.01.00.006 | Прокладка 5320-1203020 |
Содержащиеся в справочниках-каталогах запасные части и детали не предлагаются к продаже, а носят исключительно информационный характер