Вернуться на главную
Поиск
Каталоги запчастей к технике
Спецтехника
Брянский Арсенал
TG-180
780.22.00.00.000 Установка силовая
Каталог запасных частей к технике: Брянский Арсенал TG-180. 780.22.00.00.000 Установка силовая
zoom-in
zoom-out
enlarge
shrink
circle-right
circle-left
file-text2
info
cart
Тип техники
Не выбрано
Легковые автомобили
Грузовые автомобили и прицепы
Автобусы
Сельхозтехника
Спецтехника
Двигатели
Мототехника
Марка
Не выбрано
Ammann
BOMAG
CARMIX
CASE IH
Changlin
ChengGong
Dimex
Doosan
DYNAPAC
Foton
HAMM
Hidromek
Hitachi
Hyundai
JCB
JLG
John Deere
Komatsu
LIEBHERR
LiuGong
Lonking (LongGong)
Luneng
MANITOU
Mitsuber
New Holland
PENGPU
RM-Terex
SANY
SDLG
SEM
Shantui
Shehwa HBXG
Soosan
TIGARBO
VOGELE
Volvo
WAY
WIRTGEN
XCMG
XGMA
Xiamen
YTO
Yuchai
Zoomlion
Автокран
АЗСМ
Алтайлесмаш
Амкодор
АОМЗ
Атек
АТЗ
Балканкар Рекорд
БелАЗ
Беловеж
Борекс
Брянский Арсенал
Булат
ВЭКС
ГАЗ
Геомаш
Гидромаш
Донекс
Дормаш
Дормашина
Дорэлектромаш
ДЭЗ
ЕлАЗ
ЗЗГТ
Ижнефтемаш
Канаш-электрокар
КЗКТ
ККЗ
Клевер
Клинцовский автокрановый завод
КМЗ
КМЗ 1 Мая
Ковровец
Коммаш
Кранэкс
КЭЗ
КЭМЗ
ЛЗА
МАЗ
МЗИК
МЗКМ
МЗКТ
Михневский РМЗ
МоАЗ
Мозырский МЗ
МТЗ
ОЗП
Онежец
ПАО "ТЗА"
ППС Детва
Промтрактор
ПТЗ
Раскат
СпецАгрегат
ТВЭКС
ТТМ
УВЗ
Угличмаш
УЗТМ
ХТЗ
ЧЗКМ
ЧСДМ
ЧТЗ
ЭКСКО
ЭКСМАШ
ЮрМаш
Модель
Не выбрано
TG-140 (2014)
TG-140 (2019)
TG-180 (2013)
TG-180 (760-12) (2017)
TG-200 (770.исп.01) (2014)
TG-200 (770.исп.11) (2014)
TG-250 (2014)
TG-250 (2018)
TG-250 (782-80) (2017)
АсфК-3-02 (2010)
ГС-10.01 (2010)
ГС-10.07 (2019)
ГС-14.02 (2003)
ГС-14.02 (2009)
ГС-14.02 (2017)
ГС-14.02 (250-22) (2016)
ГС-14.03 (2009)
ГС-18.05 (2009)
ГС-18.05 (752-10) (2017)
ГС-18.05-20 (752-20) (2020)
ГС-18.07 (2009)
ГС-25.09 (2009)
ДЗ-143
ДЗ-180А (2000)
ФДХС-К-1000-01 (2010)
Схема
>
Не выбрано
Автогрейдер TG 180
Рисованное оглавление
760.26.00.00.000 Установка кронштейнов
730.36.00.00.000 Установка кронштейнов панелей боковых
760.27.00.00.000 Установка кожухов
760.35.00.00.000 Блок баков
172.00.00.00.000 Облицовка
172.08.00.00.000 Облицовка левая
172.09.00.00.000 Облицовка правая
172.16.00.00.000 Установка ремня капота
172.12.00.00.000 Установка замка капота
172.10.00.00.000 Установка кронштейнов фонарей задних
257.07.00.00.000 Оборудование рабочее
257.07.02.00.000 Гидроцилиндр
257.07.03.00.000 Кронштейн
257.07.04.00.000 Цилиндр фиксации
257.07.12.00.000 Отвал
237.06.00.00.000-04 Мост передний
751.21.00.00.000 Отвал передний
159.00.00.00.000-02 Установка рыхлителя
159.05.00.00.000-02 Гидросистема рыхлителя
761.40.00.00.000 Установка крыльев задних
761.47.00.00.000 Установка крыльев передних
730.28.00.00.000 Установка лестниц
730.28.01.00.000 Лестница левая
730.28.01.03.000 Ступенька
730.28.01.03.100 Фиксатор
730.28.02.00.000 Лестница правая
730.28.02.03.000 Ступенька
753.01.00.00.000 Рама
760.03.00.00.000 Трансмиссия
Установка коробки переключения передач
257.03.06.00.000-01 Тележка задняя
257.06.04.00.000-02 (257.06.04.00.000-03) Колеса
760.08.00.00.000-01 Тяги управления
Электрооборудование кабины
Электрооборудование кабины
Блок реле и предохранителей
760.09.01.00.000 Блок соединительный
Установка аккумулятора
Установка выключателя "массы"
Установка датчиков на двигателе
Установка топливного датчика
Установка лампы подкапотной и розетки
Установка передних осветительных и электрических приборов
Установка задних осветительных приборов
Фонарь освещения номерного знака
Сигнал заднего хода
760.05.00.00.000-01 Гидросистема
760.05.01.00.000 Гидросистема рамы подмоторной
257.05.01.01.000 Гидрораспределитель
257.05.01.02.000 Фильтр напорный
257.05.01.03.000 Коллектор напорный
257.05.01.07.000 Тройник
257.05.01.04.000 Установка клапана зарядки
752.05.01.05.000 Клапан предохранительный
761.05.01.01.000 Коллектор сливной
761.05.03.00.000 Гидросистема рамы передней
257.05.03.02.000 Гидрораспределитель
257.05.03.03.000 Гидрораспределитель
753.05.03.01.000 Гидрораспределитель
753.05.03.03.000 Клапан предохранительный
753.05.03.03.100 Клапан
761.05.04.00.000 Гидросистема рабочего оборудования
761.05.04.01.000-01 Блок клапанов
760.10.00.00.000 Гидросистема КПП
730.11.00.00.000 Гидросистема тормозов
730.11.01.00.000 Педаль тормоза
730.11.02.00.000 Коллектор
730.11.04.00.000 Трубопровод
730.11.03.00.000 Клапан стояночного тормоза
730.11.06.00.000 Установка выключателя
257.11.05.00.000 Тройник
730.04.00.00.000 Установка кабины
171.00.00.00.000 Кабина
171.03.01.00.000 Педаль газа
171.25.00.00.000 Установка кожуха
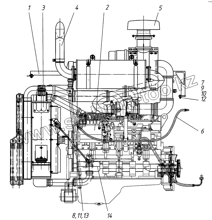
780.22.00.00.000 Установка силовая
780.22.01.00.000-01 Установка двигателя
780.22.02.00.000 Система охлаждения
780.22.02.01.000 Блок радиаторов
780.22.03.00.000 Установка глушителя
780.22.04.00.000 Установка воздухоочистителя
780.22.05.00.000 Система питания
730.31.00.00.000 Установка системы климатической
1
2
3
4
5
6
7
8
9
10
11
12
13
14
Позиция на иллюстрации
Заводской номер детали
Название детали
1
760.02.05.00.000
Рамка
2
780.22.01.00.000-01
Установка двигателя
3
780.22.02.00.000
Система охлаждения
4
780.22.03.00.000
Установка глушителя
5
780.22.04.00.000
Установка воздухоочистителя
6
780.22.05.00.000
Система питания
7
БолтМ10х30
Болт М10х30
8
ГайкаМ10
Гайка М10
9
БолтМ10х85
Болт М10х85
10
Шайба1065Г
Шайба 10 65Г
11
Шайба1265Г
Шайба 12 65Г
12
ШайбаС.10.02
Шайба
13
ШайбаС.12.02
Шайба С.12.02
14
Q-34/T3-17RS2D2-SM09M09/M06M06-N
Насос тандемный
Содержащиеся в справочниках-каталогах запасные части и детали не предлагаются к продаже, а носят исключительно информационный характер
Дополнительная информация
×
Название:
Номер:
Примечание: