Вернуться на главную
Поиск
Каталоги запчастей к технике
Спецтехника
Брянский Арсенал
ГС-25.09
Установка замка КУ.51.11.200
Каталог запасных частей к технике: Брянский Арсенал ГС-25.09. Установка замка КУ.51.11.200
zoom-in
zoom-out
enlarge
shrink
circle-right
circle-left
file-text2
info
cart
Тип техники
Не выбрано
Легковые автомобили
Грузовые автомобили и прицепы
Автобусы
Сельхозтехника
Спецтехника
Двигатели
Мототехника
Марка
Не выбрано
Ammann
BOMAG
CARMIX
CASE IH
Changlin
ChengGong
Dimex
Doosan
DYNAPAC
Foton
HAMM
Hidromek
Hitachi
Hyundai
JCB
JLG
John Deere
Komatsu
LIEBHERR
LiuGong
Lonking (LongGong)
Luneng
MANITOU
Mitsuber
New Holland
PENGPU
RM-Terex
SANY
SDLG
SEM
Shantui
Shehwa HBXG
Soosan
TIGARBO
VOGELE
Volvo
WAY
WIRTGEN
XCMG
XGMA
Xiamen
YTO
Yuchai
Zoomlion
Автокран
АЗСМ
Алтайлесмаш
Амкодор
АОМЗ
Атек
АТЗ
Балканкар Рекорд
БелАЗ
Беловеж
Борекс
Брянский Арсенал
Булат
ВЭКС
ГАЗ
Геомаш
Гидромаш
Донекс
Дормаш
Дормашина
Дорэлектромаш
ДЭЗ
ЕлАЗ
ЗЗГТ
Ижнефтемаш
Канаш-электрокар
КЗКТ
ККЗ
Клевер
Клинцовский автокрановый завод
КМЗ
КМЗ 1 Мая
Ковровец
Коммаш
Кранэкс
КЭЗ
КЭМЗ
ЛЗА
МАЗ
МЗИК
МЗКМ
МЗКТ
Михневский РМЗ
МоАЗ
Мозырский МЗ
МТЗ
ОЗП
Онежец
ПАО "ТЗА"
ППС Детва
Промтрактор
ПТЗ
Раскат
СпецАгрегат
ТВЭКС
ТТМ
УВЗ
Угличмаш
УЗТМ
ХТЗ
ЧЗКМ
ЧСДМ
ЧТЗ
ЭКСКО
ЭКСМАШ
ЮрМаш
Модель
Не выбрано
TG-140 (2014)
TG-140 (2019)
TG-180 (2013)
TG-180 (760-12) (2017)
TG-200 (770.исп.01) (2014)
TG-200 (770.исп.11) (2014)
TG-250 (2014)
TG-250 (2018)
TG-250 (782-80) (2017)
АсфК-3-02 (2010)
ГС-10.01 (2010)
ГС-10.07 (2019)
ГС-14.02 (2003)
ГС-14.02 (2009)
ГС-14.02 (2017)
ГС-14.02 (250-22) (2016)
ГС-14.03 (2009)
ГС-18.05 (2009)
ГС-18.05 (752-10) (2017)
ГС-18.05-20 (752-20) (2020)
ГС-18.07 (2009)
ГС-25.09 (2009)
ДЗ-143
ДЗ-180А (2000)
ФДХС-К-1000-01 (2010)
Схема
>
Не выбрано
257.01.00.00.000 Рама
257.04.00.00.000 Место рабочее
257.04.07.00.000 Доработка педали газа
257.04.05.00.000 Насос-дозатор
257.04.04.00.000 Пульт
257.04.06.00.000 Установка рычагов
257.04.04.02.000 Панель
257.08.00.00.000 Тяги управления
257.66.00.00.000 (исп.00 и исп.02) Мост передний
257.27.00.00.000 Установка кожухов
257.40.00.00.000 Установка крыла
257.47.00.00.000-02 Установка крыла
Установка облицовок 257.25.00.00.000
Система отопления кабины 257.31.00.00.000-01
Блок баков 257.35.00.00.000
Кабина 170.00.00.00.000-01
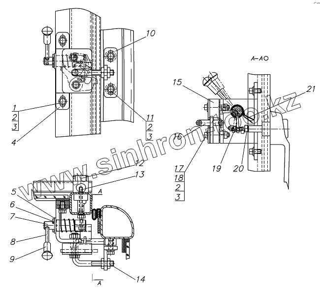
Установка замка КУ.51.11.200
Кронштейн 274.26.00.00.000
Установка лестниц 724.28.00.00.000
Оборудование рабочее 257.07.00.00.000
Гидроцилиндр 257.07.02.00.000
Кронштейн 257.07.03.00.000
Цилиндр фиксации 257.07.04.00.000
Отвал 257.07.12.00.000
159.00.00.00.000-01 Установка рыхлителя
159.05.00.00.000-01 Гидросистема рыхлителя
Отвал передний 751.21.00.00.000
257.09.00.00.000Э4 Схема электрическая соединений
257.19.00.00.000Э3 Схема электрическая принципиальная
Электрооборудование кабины 170.19.00.00.000
Электрооборудование кабины 170.19.00.00.000
Электрооборудование кабины
Панель 751.09.01.00.000
Установка платы диодной 751.09.05.00.000
Электрооборудование кабины
Пост управления
Панель 257.09.01.00.000
Крышка 257.09.04.00.000
Крышка 751.09.03.00.000
Установка платы 257.19.01.00.000
Установка аккумулятора
Установка выключателя "массы"
Установка датчиков на двигателе
Установка топливного датчика
Установка лампы подкапотной и розетки
Установка передних осветительных и электрических приборов
Установка задних осветительных приборов
Электрооборудование переднего моста
Гидросистема 257.05.00.00.000-02
Схема гидравлическая принципиальная 257.05.00.00.000-02 Г3
Гидросистема рамы подмоторной 257.05.01.00.000
Гидросистема рабочего оборудования 257.05.04.00.000
Гидросистема рамы передней 753.05.03.00.000
Гидросистема КПП 257.10.00.00.000
Гидросистема тормозов 257.11.00.00.000
Гидросистема переднего моста 257.12.00.00.000
Схема гидравлическая принципиальная 257.12.00.00.000 Г3
Установка силовая 257.02.00.00.000
Установка двигателя 257.02.01.00.000
Установка глушителя 257.02.03.00.000
Установка воздухоочистителя 257.02.04.00.000
Система питания 257.02.05.00.000
Установка насоса 250.02.01.00.000
Установка насоса 250.02.09.00.000
Система охлаждения 257.02.02.00.000
Блок радиаторов 257.02.02.01.000
Трансмиссия 257.03.00.00.000
Тележка задняя 257.03.06.00.000
Колесо 257.06.04.000
Установка коробки переключения передач
Автогрейдер ГС-25.09
Расположение узлов и систем
1
2
2
2
3
3
3
4
5
6
7
8
9
10
11
12
13
14
15
16
17
18
19
20
21
Позиция на иллюстрации
Заводской номер детали
Название детали
1
БолтМ8х16
Болт М8х16
2
ШайбаС.8х2.02
Шайба
3
Шайба8.65Г
Шайба 8.65Г
4
КУ.51.11.240(-01)
Кронштейн
5
ШайбаС.14х2.02
Шайба
6
Шплинт3,2х32
Шплинт
7
КУ.51.11.230(-01)
Рычаг
8
КУ.51.11.207
Шпилька
9
13.01.12.002
Кнопка
10
КУ.51.11.220
Кронштейн
11
БолтМ8х20
Болт
12
Ручка
Ручка
13
ВинтВМ6х50
Винт
14
ГайкаМ10
Гайка М10
15
Замок
Замок
16
КУ.51.11.208
Скоба
17
БолтМ8х40
Болт М8х40
18
ГайкаМ8
Гайка М8
19
ГайкаМ6
Гайка
20
КУ.51.11.142
Винт
21
КУ.51.11.219(-01)
Пружина
Содержащиеся в справочниках-каталогах запасные части и детали не предлагаются к продаже, а носят исключительно информационный характер
Дополнительная информация
×
Название:
Номер:
Примечание: