Каталог запасных частей к технике: Брянский Арсенал ГС-18.05-20 (752-20). Мост передний
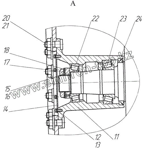
11
12
13
14
15
16
17
18
20
21
22
23
24
| Позиция на иллюстрации | Заводской номер детали | Название детали | |
|---|---|---|---|
| 1 | 237.03.01.04.000 | Колесо | |
| 2 | 237.06.03.00.000 | Рычаг | |
| 3 | 237.06.05.00.000-03 | Кулак левый | |
| 4 | 237.06.06.00.000 | Гидроцилиндр | |
| 5 | 237.06.07.00.000 | Штанга | |
| 6 | ГЦ02-80х50х160БТ AS | Гидроцилиндр | |
| 7 | 237.06.01.00.000 | Балка | |
| 8 | 237.06.05.00.000-02 | Кулак правый | |
| 9 | 237.06.02.00.000 | Рычаг | |
| 10 | 237.03.01.03.000 | Колесо | |
| 11 | 237.06.00.00.008-01 | Ступица | |
| 12 | Болт М8х20 | Болт | |
| 13 | Шайба 8 65Г | Шайба 8 65Г | |
| 14 | 200.36.00.00.015 | Крышка | |
| 15 | 807.05.00.00.006 | Шайба | |
| 16 | 807.05.00.00.007 | Шайба | |
| 17 | 807.05.00.00.008 | Гайка | |
| 18 | 807.05.10.00.000 | Гайка | |
| 20 | 257.06.00.00.002 | Болт колесный | |
| 21 | Гайка колесная М22х1,5 | Гайка колесная | |
| 22 | 7516А | Подшипник 7516А | |
| 23 | 7518К | Подшипник 7518К | |
| 24 | Манжета 1.2-140х170-1-1 | Манжета 1.2-140х170-1-1 | |
| 25 | 237.06.00.00.007 | Крышка | |
| 26 | Масленка 1.3.Ц6 | Масленка 1.3.Ц6 | |
| 27 | 255.06.00.00.015 | Прокладка | |
| 28 | 237.06.00.00.005 | Шкворень | |
| 29 | 8211Н | Подшипник 8211Н | |
| 30 | 255.06.00.00.017 | Сальник | |
| 31 | 237.06.00.00.006 | Крышка | |
| 32 | 260.06.00.00.008 | Сальник | |
| 33 | 200.06.00.00.065 | Штифт | |
| 34 | Гайка М12 | Гайка М12 | |
| 35 | Шайба 12 65Г | Шайба 12 65Г | |
| 36 | Шайба С.12.02 | Шайба | |
| 37 | Гайка М30х2 | Гайка М30х2 | |
| 38 | Шплинт 6.3х63 | Шплинт 6.3х63 | |
| 39 | 237.06.00.00.010 | Втулка | |
| 40 | 237.06.00.00.009 | Ось | |
| 41 | 237.06.00.00.003 | Крышка | |
| 42 | В60 | Кольцо В60 | |
| 43 | ШСЛ-60 | Подшипник ШСЛ-60 | |
| 44 | 237.06.00.00.001 | Ось | |
| 45 | 200.01.00.00.035 | Защелка | |
| 46 | 237.06.00.00.012 | Палец | |
| 47 | 225.66.09.00.001 | Планка | |
| 48 | 237.06.00.00.011 | Палец | |
| 49 | Шплинт 4х40 | Шплинт 4х40 | |
| 50 | 237.06.00.00.002 | Палец | |
| 51 | 237.06.10.00.000 | Штанга | |
| 52 | 255.06.00.00.018 | Манжета | |
| 53 | 255.06.00.00.019 | Крышка | |
| 54 | Гайка 2М20х1,5 | Гайка 2М20х1,5 | |
| 55 | Шайба С.20 | Шайба С.20 | |
| 56 | Гайка М36х3 | Гайка М36х3 | |
| 57 | Шайба С.36 | Шайба С.36 | |
| 58 | Шплинт 6,3х71 | Шплинт 6,3х71 | |
| 59 | 237.06.00.00.013 | Ось | |
| 60 | Гайка М30х2 | Гайка М30х2 | |
| 61 | Шайба С.30 | Шайба С.30 | |
| 62 | 255.06.00.00.004 | Крышка | |
| 63 | Гайка М24х2 | Гайка М24х2 | |
| 64 | Шплинт 5х45 | Шплинт 5х45 | |
| 65 | 255.06.03.00.001 | Втулка на шкворень |
Содержащиеся в справочниках-каталогах запасные части и детали не предлагаются к продаже, а носят исключительно информационный характер