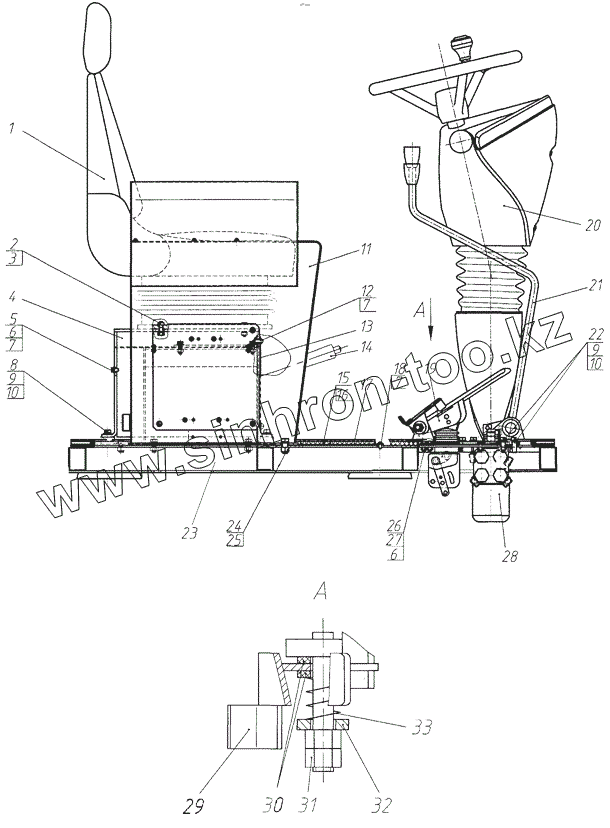
Каталог запасных частей к технике: Брянский Арсенал ГС-18.05-20 (752-20). Место рабочее
1
2
3
4
5
6
6
7
7
7
8
9
9
10
10
11
12
13
14
15
16
17
18
19
20
21
22
23
24
25
26
27
28
29
30
31
32
33
| Позиция на иллюстрации | Заводской номер детали | Название детали | |
|---|---|---|---|
| 1 | СТ- 111.010.000 | Сиденье оператора | |
| 2 | Болт М8х30 | Болт М8х30 | |
| 3 | Шайба 8 65Г | Шайба 8 65Г | |
| 4 | 274.04.05.09.000 | Опора | |
| 5 | Болт М6х12 | Болт М6х12 | |
| 6 | Шайба 6 65Г | Шайба 6 65Г | |
| 7 | Шайба С.6 | Шайба С.6 | |
| 8 | Болт М10х25 | Болт М10х25 | |
| 9 | Шайба 10 65Г | Шайба 10 65Г | |
| 10 | Шайба С.10 | Шайба С.10 | |
| 11 | 237.04.01.04.000-04 | Пульт | |
| 12 | Винт В.М6х16 | Винт | |
| 13 | 274.04.02.15.000 | Решетка | |
| 14 | 274.04.02.05.000 | Тормоз ручной | |
| 15 | 250.04.05.00.004 | Коврик | |
| 16 | 250.04.05.00.005 | Коврик | |
| 17 | 250.04.05.07.000 | Крышка | |
| 18 | Винт В.М6х10 | Винт В.М6х10 | |
| 19 | 257.04.09.00.000-02 | Педаль газа | |
| 20 | 721.04.13.00.000 | Колонка рулевая в сборе | |
| 21 | 257.04.06.00.000-01 | Установка рычагов | |
| 22 | Болт М10х20 | Болт М10х20 | |
| 23 | 250.04.05.04.000-00 | Каркас площадки | |
| 24 | Болт М12х30 | Болт М12х30 | |
| 25 | Шайба 12 65Г | Шайба 12 65Г | |
| 26 | Болт М6х20 | Болт М6х20 | |
| 27 | Гайка М6 | Гайка М6 | |
| 28 | 257.04.05.00.000-02 | Насос-дозатор | |
| 29 | 271.04.02.04.605 | Фиксатор | |
| 30 | 225.04.03.07.001 | Кольцо фрикционное | |
| 31 | Гайка М12 | Гайка М12 | |
| 32 | 225.04.03.07.701 | Втулка | |
| 33 | 225.04.03.07.002 | Пружина |
Содержащиеся в справочниках-каталогах запасные части и детали не предлагаются к продаже, а носят исключительно информационный характер