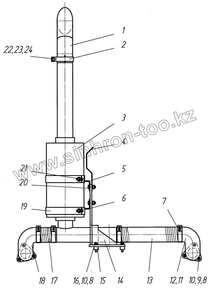
Каталог запасных частей к технике: Брянский Арсенал ГС-14.02. Установка глушителя
1
2
3
4
5
6
7
8
8
9
10
10
11
12
13
14
15
16
17
18
19
20
21
22
23
24
| Позиция на иллюстрации | Заводской номер детали | Название детали | |
|---|---|---|---|
| 1 | 286.02.04.02.000 | Труба | |
| 2 | 286.02.03.00.002 | Хомут | |
| 3 | 250.02.04.01.000 | Глушитель | |
| 4 | 250.02.04.00.007 | Экран | |
| 5 | 260.02.05.03.000 | Кронштейн | |
| 6 | 260.02.05.02.000 | Кронштейн | |
| 7 | Robust 80-85 | Хомут силовой одноболтовый | |
| 8 | Болт М10х45 | Болт М10х45 | |
| 9 | Гайка М10 | Гайка М10 | |
| 10 | Шайба 10.65Г | Шайба 10.65Г | |
| 11 | 250.02.04.00.002 | Патрубок | |
| 12 | 250.02.04.00.003 | Прокладка | |
| 13 | 250.02.04.00.005-01 | Вставка | |
| 14 | 250.02.04.02.000 | Кронштейн | |
| 15 | 250.02.04.00.004 | Втулка | |
| 16 | Шайба С10.02 | Шайба С10.02 | |
| 17 | 250.02.04.00.005 | Вставка | |
| 18 | 250.02.04.00.001 | Патрубок | |
| 19 | 225.02.05.00.006 | Полухомут | |
| 20 | Болт М12х35 | Болт М12х35 | |
| 21 | Болт М12х50 | Болт М12х50 | |
| 22 | Болт М12х40 | Болт М12х40 | |
| 23 | Гайка М12 | Гайка М12 | |
| 24 | Шайба 12.65Г | Шайба 12.65Г |
Содержащиеся в справочниках-каталогах запасные части и детали не предлагаются к продаже, а носят исключительно информационный характер