Каталог запасных частей к технике: Брянский Арсенал ГС-14.02. Установка двигателя
1
1
2
3
4
5
6
7
8
9
10
11
12
13
13
13
14
15
16
17
18
19
20
21
22
23
24
25
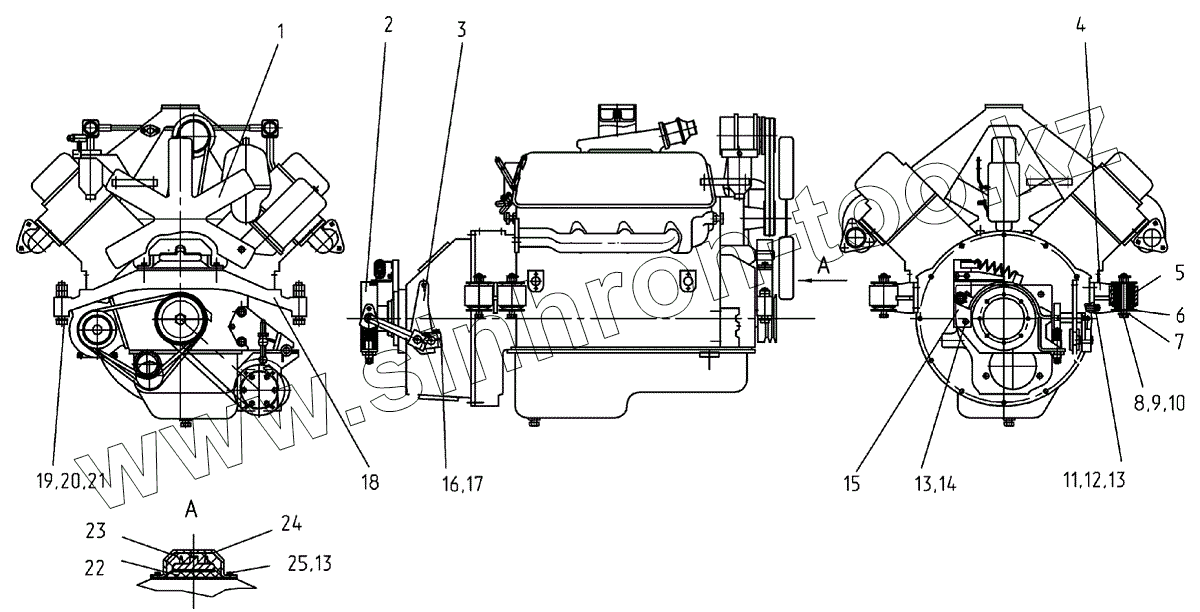
| Позиция на иллюстрации | Заводской номер детали | Название детали | |
|---|---|---|---|
| 1 | ЯМЗ-236М2-46 | Двигатель | |
| 1 | ЯМЗ-236Г-6 | Двигатель | |
| 2 | 250.02.05.01.000 | Тормозок | |
| 3 | 250.02.05.04.000 | Рычаг | |
| 4 | 250.02.05.02.000 | Опора | |
| 5 | 200.16.00.01.000 | Амортизатор | |
| 6 | 200.16.00.00.001 | Шайба | |
| 7 | 200.08.00.00.053 | Шайба | |
| 8 | 225.02.05.00.007 | Болт | |
| 9 | Гайка М16-6H.6 | Гайка | |
| 10 | Шплинт 4х40 | Шплинт 4х40 | |
| 11 | 250.02.05.00.003 | Шпилька | |
| 12 | Гайка М14-6H.6 | Гайка | |
| 13 | Шайба 14.65Г | Шайба 14.65Г | |
| 14 | Болт М14х70 | Болт М14х70 | |
| 15 | 250.02.05.00.006 | Опора | |
| 16 | Болт М12х50 | Болт М12х50 | |
| 17 | Гайка М12-7H.5 | Гайка | |
| 18 | 250.02.05.00.004 | Балка | |
| 19 | Болт М20х120 | Болт М20х120 | |
| 20 | Гайка М20-6H.6 | Гайка | |
| 21 | Шайба С.20.02 | Шайба | |
| 22 | 630300-1001020 | Подушка | |
| 23 | 630300-1001029 | Амортизатор | |
| 24 | 630300-1001031 | Скоба | |
| 25 | 250.02.05.00.005 | Болт |
Содержащиеся в справочниках-каталогах запасные части и детали не предлагаются к продаже, а носят исключительно информационный характер