Каталог запасных частей к технике: Брянский Арсенал ГС-14.02. Коробка перемены передач
10
11
12
13
13
14
14
15
16
17
18
19
20
21
22
23
24
31
32
33
34
35
36
37
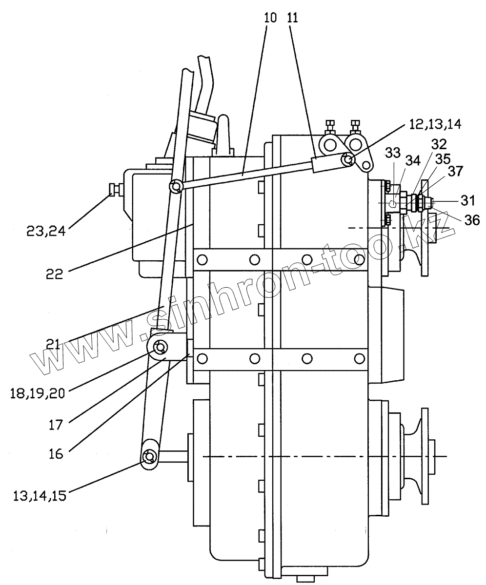
| Позиция на иллюстрации | Заводской номер детали | Название детали | |
|---|---|---|---|
| 1 | 240.30.13.01.000-01 | Механизм переключения | |
| 2 | Болт M10x30 | Болт | |
| 3 | Шайба 10 65Г | Шайба 10 65Г | |
| 4 | 240.30.13.00.011 | Болт | |
| 5 | Шайба С.10.01 | Шайба | |
| 6 | 0877.1020 | Пробка | |
| 7 | 225.44.03.02.006 | Ручка | |
| 8 | 0856.0128 | Прокладка | |
| 9 | 240.30.11.00.000 | Коробка перемены передач | |
| 10 | 240.30.13.02.000 | Тяга | |
| 11 | 97.560.016 | Вилка М12 | |
| 12 | 240.30.11.00.039-01 | Палец | |
| 13 | Шайба С.12.02 | Шайба | |
| 14 | Шплинт 3,2х25 | Шплинт 3,2х25 | |
| 15 | 240.30.11.00.039 | Палец | |
| 16 | Гайка M16 | Гайка | |
| 17 | 240.30.11.05.000 | Вилка | |
| 18 | 0824.1028 | Палец | |
| 19 | Шайба С.20.02 | Шайба | |
| 20 | Шплинт 4х36 | Шплинт | |
| 21 | 240.30.13.03.000 | Рычаг | |
| 22 | 240.30.13.00.004-02 | Прокладка | |
| 23 | 240.30.13.00.010 | Болт | |
| 24 | Гайка M10 | Гайка M10 | |
| 25 | 240.30.11.00.013 | Прокладка | |
| 26 | 240.30.11.00.014 | Шайба | |
| 27 | 240.30.11.00.072 | Шестерня | |
| 28 | В50 | Кольцо В50 | |
| 29 | 240.30.11.00.066 | Штифт | |
| 30 | 240.30.11.10.000 | Привод спидометра | |
| 31 | 240.30.11.00.100 | Установка датчика заднего хода | |
| 32 | 240.30.11.00.101 | Втулка | |
| 33 | 240.30.11.00.102 | Палец | |
| 34 | 240.30.11.00.103 | Колпачок | |
| 35 | 240.30.13.01.011 | Шайба | |
| 36 | Гайка M24х2 | Гайка | |
| 37 | ВК 12-3 | Выключатель | |
| 38 | 0.877.1033 | Прокладка |
Содержащиеся в справочниках-каталогах запасные части и детали не предлагаются к продаже, а носят исключительно информационный характер