Каталог запасных частей к технике: Брянский Арсенал ГС-10.07. Мост передний
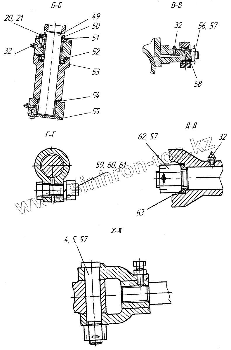
4
5
20
21
32
32
32
49
50
51
52
53
54
55
56
57
57
57
58
59
60
61
62
63
| Позиция на иллюстрации | Заводской номер детали | Название детали | |
|---|---|---|---|
| 1 | 273.03.01.04.000 | Колесо | |
| 2 | 225.66.00.00.014 | Ось | |
| 3 | 225.66.00.00.011 | Вилка | |
| 4 | 225.06.00.00.006 | Палец | |
| 5 | Гайка 2M20х1,5 | Гайка | |
| 6 | Шплинт 4х40 | Шплинт 4х40 | |
| 7 | 258.16.03.00.000-80 | Гидроцилиндр рулевой | |
| 8 | 258.16.00.00.003 | Тяга | |
| 9 | 258.16.01.00.000 | Балка | |
| 10 | 225.66.00.00.010 | Вилка | |
| 11 | 225.66.00.00.014-01 | Ось | |
| 12 | 225.66.00.00.009 | Обойма | |
| 13 | Манжета 1.2-90x120-1 | Манжета 1.2-90x120-1 | |
| 14 | 7613А | Подшипник 7613А | |
| 15 | 237.06.02.00.000 | Рычаг | |
| 16 | 260.06.00.00.001 | Ступица | |
| 17 | 0.820.2056 | Гайка | |
| 18 | 51-3103008-Б1 | Болт правый-шпилька | |
| 19 | Гайка БМ20х1,5-6Н | Гайка | |
| 20 | Болт M8x20 | Болт | |
| 21 | Шайба 8 65Г | Шайба 8 65Г | |
| 22 | 200.36.00.00.015 | Крышка | |
| 23 | 200.36.00.00.017 | Гайка | |
| 24 | 200.36.00.00.018 | Кольцо | |
| 25 | 200.36.00.00.019 | Шайба | |
| 26 | 200.36.03.00.001 | Гайка | |
| 27 | 200.36.03.00.002 | Штифт | |
| 28 | 7610А | Подшипник 7610А | |
| 29 | 273.03.01.05.000 | Колесо | |
| 30 | 260.06.00.00.004 | Втулка | |
| 31 | 225.66.00.00.015-01 | Крестовина | |
| 32 | 1.3.Ц6 | Масленка | |
| 33 | 258.16.00.00.002 | Втулка | |
| 34 | 258.16.00.00.001 | Сошка | |
| 35 | Гайка M30x2 | Гайка | |
| 36 | Шайба С30.02 | Шайба | |
| 37 | Шплинт 6,3х63 | Шплинт 6,3х63 | |
| 38 | 200.06.00.00.065 | Штифт | |
| 39 | Гайка M12 | Гайка M12 | |
| 40 | Шайба 12 65Г | Шайба 12 65Г | |
| 41 | Шайба С12.02 | Шайба С12.02 | |
| 42 | 258.16.00.00.004 | Ось | |
| 43 | В50 | Кольцо В50 | |
| 44 | 258.16.00.00.005 | Штифт | |
| 45 | 260.06.00.00.005 | Прокладка | |
| 46 | 260.06.00.00.005-01 | Прокладка | |
| 47 | 225.66.00.00.015 | Крестовина | |
| 48 | 258.16.00.00.007 | Сошка | |
| 49 | 260.06.00.00.006 | Шкворень | |
| 50 | 260.06.00.00.007 | Крышка | |
| 51 | 260.06.00.00.008 | Сальник | |
| 52 | 200.06.00.00.025 | Сальник | |
| 53 | 8209Н | Подшипник | |
| 54 | 200.06.00.00.024 | Прокладка | |
| 55 | 260.06.00.00.003 | Крышка | |
| 56 | Гайка M24х2 | Гайка | |
| 57 | Шплинт 5х45 | Шплинт 5х45 | |
| 58 | 258.16.00.00.006 | Кольцо | |
| 59 | Болт M16x50 | Болт | |
| 60 | Гайка M16 | Гайка | |
| 61 | Шайба 16 65Г | Шайба 16 65Г | |
| 62 | Гайка M24х2 | Гайка | |
| 63 | 225.66.00.00.013 | Втулка |
Содержащиеся в справочниках-каталогах запасные части и детали не предлагаются к продаже, а носят исключительно информационный характер