Вернуться на главную
Поиск
Каталоги запчастей к технике
Спецтехника
Брянский Арсенал
ГС-10.07
Колесо
Каталог запасных частей к технике: Брянский Арсенал ГС-10.07. Колесо
zoom-in
zoom-out
enlarge
shrink
circle-right
circle-left
file-text2
info
cart
Тип техники
Не выбрано
Легковые автомобили
Грузовые автомобили и прицепы
Автобусы
Сельхозтехника
Спецтехника
Двигатели
Мототехника
Марка
Не выбрано
Ammann
BOMAG
CARMIX
CASE IH
Changlin
ChengGong
Dimex
Doosan
DYNAPAC
Foton
HAMM
Hidromek
Hitachi
Hyundai
JCB
JLG
John Deere
Komatsu
LIEBHERR
LiuGong
Lonking (LongGong)
Luneng
MANITOU
Mitsuber
New Holland
PENGPU
RM-Terex
SANY
SDLG
SEM
Shantui
Shehwa HBXG
Soosan
TIGARBO
VOGELE
Volvo
WAY
WIRTGEN
XCMG
XGMA
Xiamen
YTO
Yuchai
Zoomlion
Автокран
АЗСМ
Алтайлесмаш
Амкодор
АОМЗ
Атек
АТЗ
Балканкар Рекорд
БелАЗ
Беловеж
Борекс
Брянский Арсенал
Булат
ВЭКС
ГАЗ
Геомаш
Гидромаш
Донекс
Дормаш
Дормашина
Дорэлектромаш
ДЭЗ
ЕлАЗ
ЗЗГТ
Ижнефтемаш
Канаш-электрокар
КЗКТ
ККЗ
Клевер
Клинцовский автокрановый завод
КМЗ
КМЗ 1 Мая
Ковровец
Коммаш
Кранэкс
КЭЗ
КЭМЗ
ЛЗА
МАЗ
МЗИК
МЗКМ
МЗКТ
Михневский РМЗ
МоАЗ
Мозырский МЗ
МТЗ
ОЗП
Онежец
ПАО "ТЗА"
ППС Детва
Промтрактор
ПТЗ
Раскат
СпецАгрегат
ТВЭКС
ТТМ
УВЗ
Угличмаш
УЗТМ
ХТЗ
ЧЗКМ
ЧСДМ
ЧТЗ
ЭКСКО
ЭКСМАШ
ЮрМаш
Модель
Не выбрано
TG-140 (2014)
TG-140 (2019)
TG-180 (2013)
TG-180 (760-12) (2017)
TG-200 (770.исп.01) (2014)
TG-200 (770.исп.11) (2014)
TG-250 (2014)
TG-250 (2018)
TG-250 (782-80) (2017)
АсфК-3-02 (2010)
ГС-10.01 (2010)
ГС-10.07 (2019)
ГС-14.02 (2003)
ГС-14.02 (2009)
ГС-14.02 (2017)
ГС-14.02 (250-22) (2016)
ГС-14.03 (2009)
ГС-18.05 (2009)
ГС-18.05 (752-10) (2017)
ГС-18.05-20 (752-20) (2020)
ГС-18.07 (2009)
ГС-25.09 (2009)
ДЗ-143
ДЗ-180А (2000)
ФДХС-К-1000-01 (2010)
Схема
>
Не выбрано
Рама
Рама
Кабина
Кабина
Кабина
Кабина
Установка зеркала заднего вида
Место рабочее
Установка педали тормозов
Установка педали сцепления
Тормоз ручной
Установка рычагов
Насос-дозатор
Колонка рулевая в сборе
Колонка рулевая
Колонка рулевая
Вал
Облицовка
Облицовка
Облицовка
Установка передних крыльев
Установка задних крыльев
Установка задних крыльев
Установка ящиков аккумуляторных
Ящик аккумуляторный
Блок масляных баков
Бак масляный
Бак масляный
Установка топливного бака
Отвал передний
Отвал передний
Оборудование рабочее
Оборудование рабочее
Оборудование рабочее
Отвал
Гидроцилиндр
Кронштейн
Вилка
Гидроцилиндр
Трансмиссия
Трансмиссия
Мост передний
Мост передний
Мост передний
Привод насоса
Доработка механизма переключения КПП
Редуктор
Редуктор
Тележка задняя
Тележка задняя
Мост задний
Балансир
Балансир
Колесо
Колесо
Опора
Тяги управления
Тяги управления
Установка силовая
Установка силовая
Установка силовая
Система охлаждения
Система охлаждения
Гидросистема
Гидросистема
Гидросистема
Гидросистема рабочего оборудования
Установка гидрораспределителей
Гидрораспределитель
Тройник
Тройник
Гидроцилиндр
Гидроцилиндр
Тройник
Тройник
Фильтр напорный
Гидроцилиндр рулевой
Электрооборудование
Электрооборудование
Электрооборудование
Пульт
Панель
Пульт
Установка аккумулятора
Установка выключателя "массы"
Плата предохранителя
Установка датчиков на двигателе
Установка топливного датчика
Установка лампы подкапотной и розетки
Установка передних осветительных и электрических приборов
Установка задних осветительных приборов
Установка фонаря освещения номерного знака
Сигнал заднего хода
Установка фальшпанелей
Кронштейн
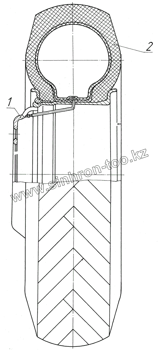
1
2
Позиция на иллюстрации
Заводской номер детали
Название детали
1
380-3101012-20
Колесо
2
ЯФ-406 НС 20
Шина
Содержащиеся в справочниках-каталогах запасные части и детали не предлагаются к продаже, а носят исключительно информационный характер
Дополнительная информация
×
Название:
Номер:
Примечание: