Каталог запасных частей к технике: Брянский Арсенал ГС-10.07. Балансир
5
5
6
6
7
7
8
9
10
11
12
13
14
15
16
17
18
19
20
21
22
23
24
25
26
27
28
29
30
31
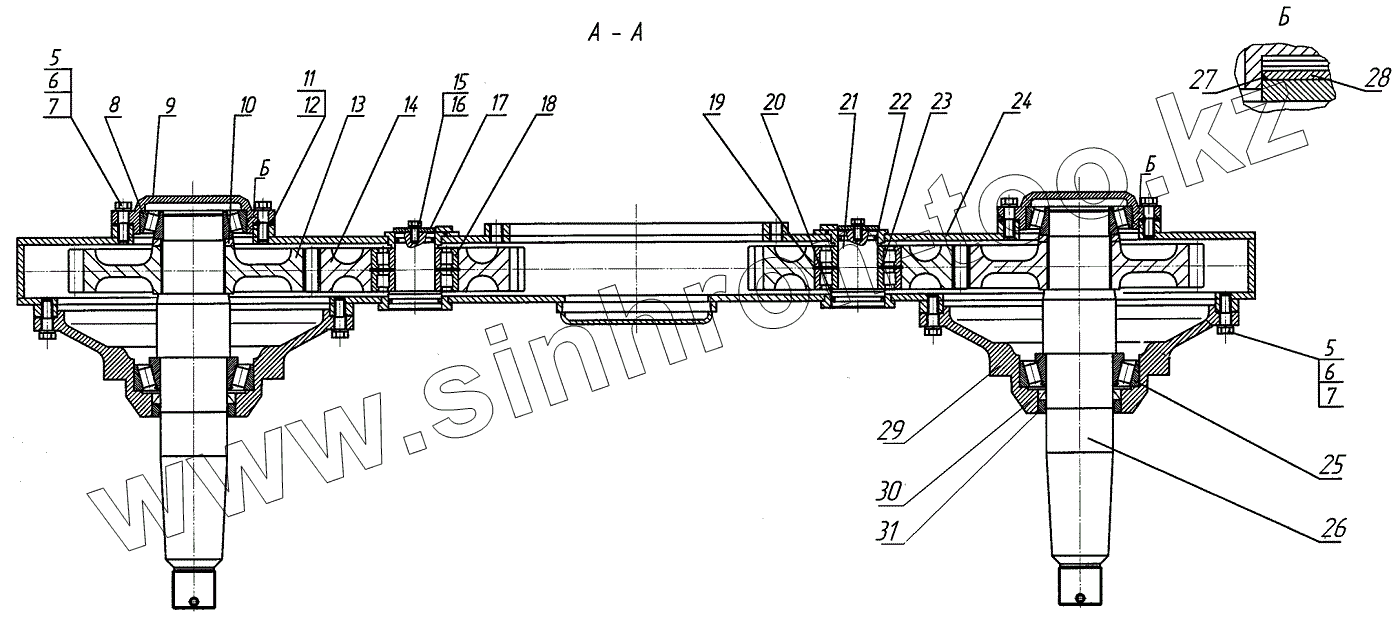
| Позиция на иллюстрации | Заводской номер детали | Название детали | |
|---|---|---|---|
| 1 | 0.877.1043-06 | Пробка | |
| 2 | 0.877.1033 | Прокладка | |
| 3 | 0.856.0128 | Прокладки | |
| 4 | 0.877.1036 | Пробка | |
| 5 | Гайка М16 | Гайка М16 | |
| 6 | Шайба 16 65Г | Шайба 16 65Г | |
| 7 | Шпилька М16х45.10.9 | Шпилька | |
| 8 | 7518К | Подшипник 7518К | |
| 9 | 248.03.02.00.005 | Крышка | |
| 10 | 273.03.01.02.005 | Кольцо | |
| 11 | 225.73.02.00.002 | Прокладка | |
| 12 | 225.73.02.00.002-01 | Прокладка | |
| 13 | 240.03.02.00.002 | Шестерня | |
| 14 | 273.03.01.02.001 | Шестерня | |
| 15 | Болт М12х25.109 | Болт | |
| 16 | Шайба 12 65Г | Шайба 12 65Г | |
| 17 | 225.73.02.00.015 | Фланец | |
| 18 | 42312К1У | Подшипник | |
| 19 | В130 | Кольцо | |
| 20 | 070-080-58-2-2 | Кольцо 070-080-58-2-2 | |
| 21 | 273.03.01.02.003 | Ось | |
| 22 | 050-060-58-2-2 | Кольцо | |
| 23 | 200.03.02.00.011 | Кольцо | |
| 24 | 273.03.01.02.100 | Корпус балансира | |
| 25 | 7520 | Подшипник 7520 | |
| 26 | 273.03.01.02.007 | Вал | |
| 27 | 180-185-36-2-2 | Кольцо 180-185-36-2-2 | |
| 28 | 248.03.02.00.006 | Кольцо | |
| 29 | 225.63.02.02.001 | Ступица тормозная | |
| 30 | Манжета 1.2-100х125-1 | Манжета | |
| 31 | 200.03.08.01.002 | Кольцо |
Содержащиеся в справочниках-каталогах запасные части и детали не предлагаются к продаже, а носят исключительно информационный характер