Вернуться на главную
Поиск
Каталоги запчастей к технике
Спецтехника
Брянский Арсенал
ФДХС-К-1000-01
Установка аккумулятора
Каталог запасных частей к технике: Брянский Арсенал ФДХС-К-1000-01. Установка аккумулятора
zoom-in
zoom-out
enlarge
shrink
circle-right
circle-left
file-text2
info
cart
Тип техники
Не выбрано
Легковые автомобили
Грузовые автомобили и прицепы
Автобусы
Сельхозтехника
Спецтехника
Двигатели
Мототехника
Марка
Не выбрано
Ammann
BOMAG
CARMIX
CASE IH
Changlin
ChengGong
Dimex
Doosan
DYNAPAC
Foton
HAMM
Hidromek
Hitachi
Hyundai
JCB
JLG
John Deere
Komatsu
LIEBHERR
LiuGong
Lonking (LongGong)
Luneng
MANITOU
Mitsuber
New Holland
PENGPU
RM-Terex
SANY
SDLG
SEM
Shantui
Shehwa HBXG
Soosan
TIGARBO
VOGELE
Volvo
WAY
WIRTGEN
XCMG
XGMA
Xiamen
YTO
Yuchai
Zoomlion
Автокран
АЗСМ
Алтайлесмаш
Амкодор
АОМЗ
Атек
АТЗ
Балканкар Рекорд
БелАЗ
Беловеж
Борекс
Брянский Арсенал
Булат
ВЭКС
ГАЗ
Геомаш
Гидромаш
Донекс
Дормаш
Дормашина
Дорэлектромаш
ДЭЗ
ЕлАЗ
ЗЗГТ
Ижнефтемаш
Канаш-электрокар
КЗКТ
ККЗ
Клевер
Клинцовский автокрановый завод
КМЗ
КМЗ 1 Мая
Ковровец
Коммаш
Кранэкс
КЭЗ
КЭМЗ
ЛЗА
МАЗ
МЗИК
МЗКМ
МЗКТ
Михневский РМЗ
МоАЗ
Мозырский МЗ
МТЗ
ОЗП
Онежец
ПАО "ТЗА"
ППС Детва
Промтрактор
ПТЗ
Раскат
СпецАгрегат
ТВЭКС
ТТМ
УВЗ
Угличмаш
УЗТМ
ХТЗ
ЧЗКМ
ЧСДМ
ЧТЗ
ЭКСКО
ЭКСМАШ
ЮрМаш
Модель
Не выбрано
TG-140 (2014)
TG-140 (2019)
TG-180 (2013)
TG-180 (760-12) (2017)
TG-200 (770.исп.01) (2014)
TG-200 (770.исп.11) (2014)
TG-250 (2014)
TG-250 (2018)
TG-250 (782-80) (2017)
АсфК-3-02 (2010)
ГС-10.01 (2010)
ГС-10.07 (2019)
ГС-14.02 (2003)
ГС-14.02 (2009)
ГС-14.02 (2017)
ГС-14.02 (250-22) (2016)
ГС-14.03 (2009)
ГС-18.05 (2009)
ГС-18.05 (752-10) (2017)
ГС-18.05-20 (752-20) (2020)
ГС-18.07 (2009)
ГС-25.09 (2009)
ДЗ-143
ДЗ-180А (2000)
ФДХС-К-1000-01 (2010)
Схема
>
Не выбрано
Транспортер 635.06.00.00.000
Опора 635.06.27.00.000
Скребок 635.06.17.00.000
Роликоопора 635.06.05.00.000
Роликоопора 635.06.15.00.000
Цапфа 635.06.21.00.000
Роликоопора 635.06.10.00.000
675.08.00.00.000 Система управления
675.08.00.00.000 Система управления
675.08.01.00.000 Колонка рулевая
675.08.01.01.000 Блок управления
675.08.02.00.000 Установка кожуха
675.08.04.00.000 Система блокировки
Схема электрическая принципиальная
Электрооборудование фрезы
Электрооборудование фрезы
Электрооборудование фрезы
Электрооборудование фрезы
Электрооборудование фрезы
Электрооборудование фрезы
675.11.01.00.000 Плата диодная
675.11.02.00.000 Панель
675.11.03.00.000 Пульт выносной
675.11.04.00.000 Крышка
675.08.03.00.000 Панель
Установка аккумулятора
Установка счетчика времени наработки
Установка топливного датчика
675.26.00.00.000 Установка фрезы
675.06.02.00.000 Фреза
675.06.06.00.000 Вставка
675.06.07.00.000 Вставка
675.26.01.00.000 Корпус
675.26.02.00.000 Установка фиксатора
675.15.00.00.000 Тент
675.09.00.00.000 Установка сиденья
675.10.00.00.000 Система водяная
635.10.07.00.000 Форсунка
675.27.00.00.000 Установка заслонки
635.07.04.00.000 Гидроцилиндр
675.27.03.00.000 Опора транспортера
675.04.00.00.000 Консоль правая
635.41.04.00.000 Крепление
675.04.02.00.000 Колесо
675.04.03.00.000 Консоль
675.04.03.04.000 Гидроцилиндр
Консоль левая 675.05.00.00.000
675.19.00.00.000 Фреза боковая для фрезы дорожной
Рама 675.01.00.00.000
Бак гидравлический 675.01.01.05.000
Люк 675.01.01.05.800
Фильтр сливной 271.25.15.06.000
Блок фильтроэлементов 675.01.01.05.600
Байпас 665.02.04.02.200
Пробка магнитная 237.25.15.06.000
Подвеска транспортера 635.13.00.00.000
Указатель курса 635.18.00.00.000
675.03.00.00.000 Мост передний
675.03.04.00.000 Тяга
675.03.05.00.000 Мотор-колесо
675.03.05.01.000 Колесо
Установка силовая 675.02.00.00.000
Установка глушителя 675.02.02.00.000
675.02.05.00.000 Облицовка
675.02.05.03.000 Дверь, 675.02.05.03.000-01 Дверь
675.02.07.00.000 Установка калорифера
675.02.10.00.000 Трубка всасывающая
675.02.11.00.000 Кронштейн
675.02.12.00.000 Отвод
Система охлаждения 675.02.01.00.000
Установка воздушного фильтра 675.02.03.00.000
Капот 675.02.04.00.000
Установка насосов 675.02.06.00.000
Блок насосов 675.02.06.01.000
Схема гидравлическая принципиальная 675.12.00.00.000Г3
Гидросистема 675.12.00.00.000
Гидросистема силовой установки 675.12.01.00.000
Гидрораспределитель 675.12.01.03.000
Блок гидрораспределителей 675.12.04.00.000
Гидрораспределитель 675.12.05.00.000
Блок гидрораспределителей 675.12.08.00.000
Клапан редукционный 675.12.09.00.000
Фреза дорожная ФДХС-К-1000-01
Расположение узлов и систем
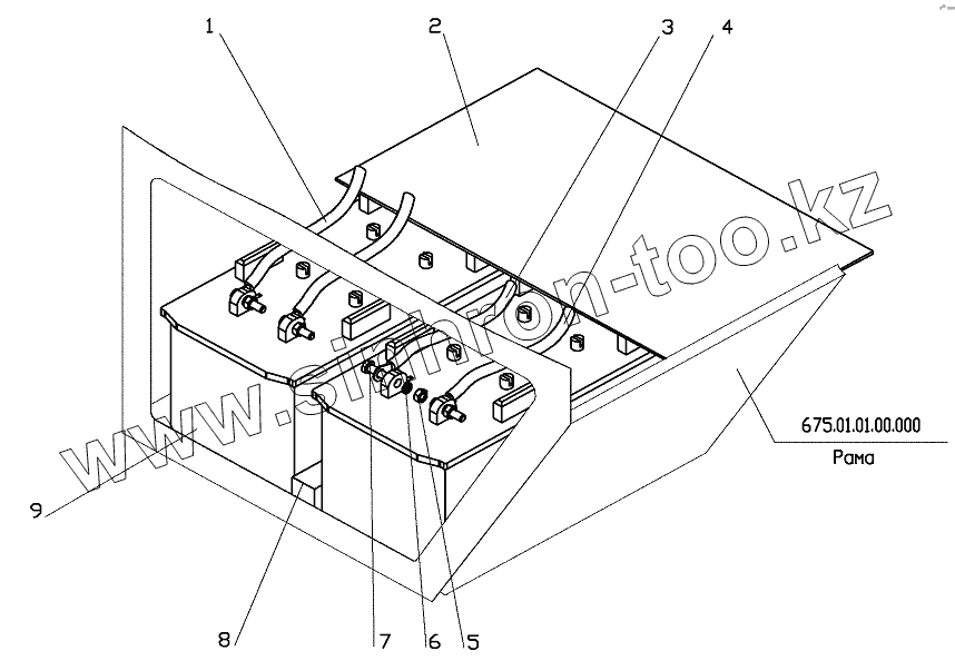
1
2
3
4
5
6
7
8
9
Позиция на иллюстрации
Заводской номер детали
Название детали
1
675.11.19.00.000
Провод стартера
2
635.11.00.00.002
Коврик
3
675.11.21.00.000
Провод
4
675.11.22.00.000
Провод массы
5
ГайкаM10
Гайка
6
Шайба10.65Г
Шайба10.65Г
7
БолтМ10х45
Болт
8
675.11.00.00.004
Вставка
9
6СТ-190А
Батарея
Содержащиеся в справочниках-каталогах запасные части и детали не предлагаются к продаже, а носят исключительно информационный характер
Дополнительная информация
×
Название:
Номер:
Примечание: