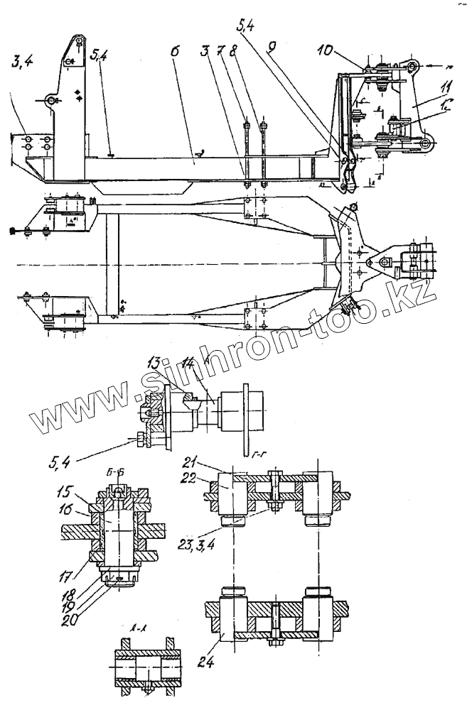
Каталог запасных частей к технике: Борекс-2628. Рама с колонкой
1
2
3
3
3
4
4
4
4
4
5
5
5
6
7
8
9
10
11
12
13
14
15
16
17
18
19
20
21
22
23
24
| Позиция на иллюстрации | Заводской номер детали | Название детали | |
|---|---|---|---|
| 1 | 01.4300.002 | Шайба | |
| 2 | М16-6gх60.58.019 | Болт | |
| 3 | M16-H6.5.019 | Гайка | |
| 4 | 16.65Г.019 | Шайба | |
| 5 | М16-6gх30.58.019 | Болт | |
| 6 | 25.0650.000 | Рама | |
| 7 | 25.2400.001 | Гайка специальная | |
| 8 | 25.0600.001 | Шпилька | |
| 9 | 13.0320.300 | Палец | |
| 10 | 13.0310.100 | Палец | |
| 11 | 25.0660.000 | Колонка | |
| 12 | 25.0600.300 | Палец | |
| 13 | 03.5300.009 | Шайба установочная | |
| 14 | 25.0600.300-01 | Палец | |
| 15 | 13.0310.006 | Шайба | |
| 16 | 13.0320.400 | Палец | |
| 17 | 25.0600.006 | Втулка | |
| 18 | 13.0310.008 | Шайба | |
| 19 | 13.0310.009 | Гайка | |
| 20 | 6,3x63.019 | Шплинт | |
| 21 | 25.0600.002 | Пластина | |
| 22 | 25.0600.005 | Палец | |
| 23 | М16-6gх70.58.019 | Болт | |
| 24 | 25.0600.005-01 | Палец |
Содержащиеся в справочниках-каталогах запасные части и детали не предлагаются к продаже, а носят исключительно информационный характер