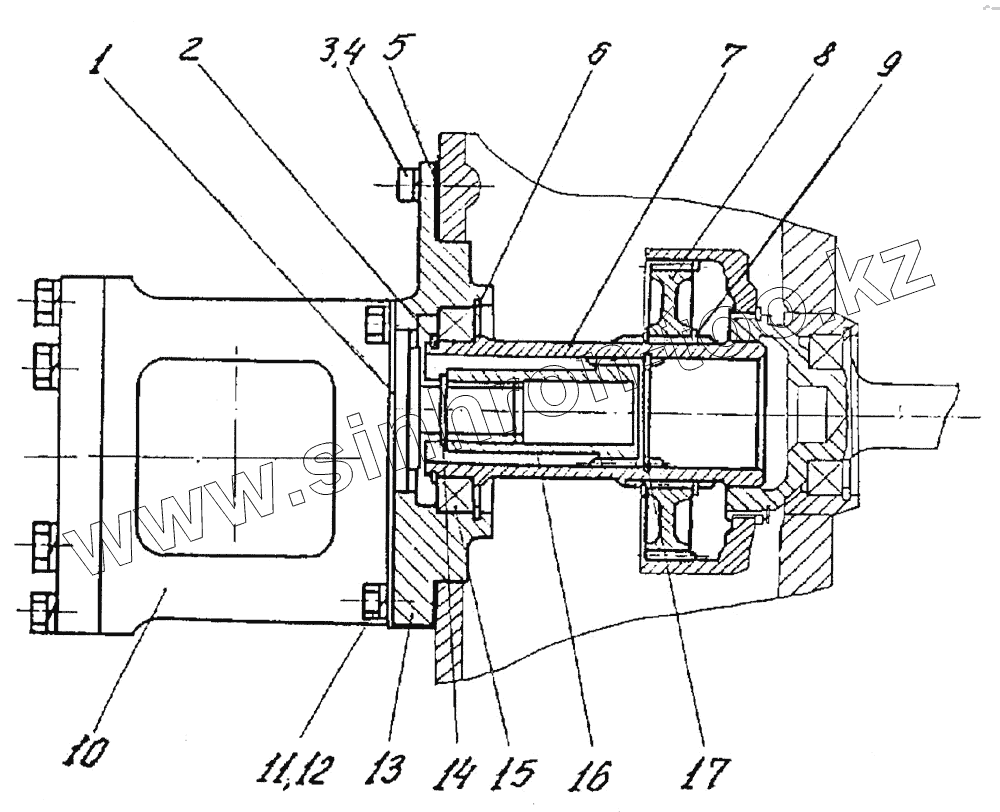
Каталог запасных частей к технике: Борекс-2628. Привод насоса
1
2
3
4
5
6
7
8
9
12
13
14
15
16
17
| Позиция на иллюстрации | Заводской номер детали | Название детали | |
|---|---|---|---|
| 1 | 25.0211.005 | Прокладка | |
| 2 | А75 | Кольцо | |
| 3 | М10х25 | Болт | |
| 4 | 10.65Г | Шайба | |
| 5 | 25.0211.004 | Прокладка | |
| 6 | A115 | Кольцо | |
| 7 | 25.0212.001 | Вал | |
| 8 | 25.0212.002 | Шестерня | |
| 9 | А85 | Кольцо | |
| 12 | 15.65Г | Шайба | |
| 13 | 25.0211.003 | Крышка | |
| 14 | A34 | Кольцо | |
| 15 | 115 | Подшипник | |
| 16 | 25.0211.001 | Втулка | |
| 17 | 25.0212.007 | Кольцо |
Содержащиеся в справочниках-каталогах запасные части и детали не предлагаются к продаже, а носят исключительно информационный характер