Каталог запасных частей к технике: Борекс-2628. Гидроцилиндр
1
2
3
4
5
6
7
9
10
11
12
13
14
15
16
17
18
19
20
21
22
23
24
25
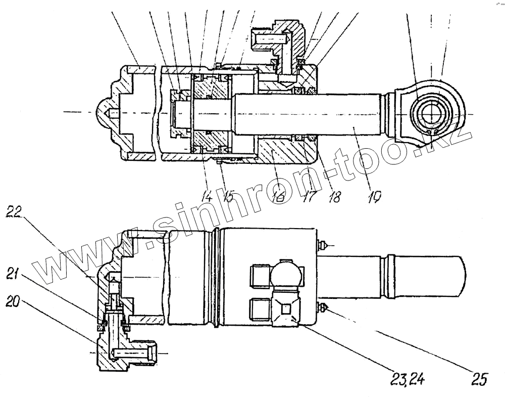
| Позиция на иллюстрации | Заводской номер детали | Название детали | |
|---|---|---|---|
| 1 | 13.0930.100 | Гильза | |
| 2 | 13.0920.003 | Гайка | |
| 3 | 13.0920.004 | Кольцо | |
| 4 | 13.0920.002 | Шайба | |
| 5 | 110x90 | Манжета | |
| 6 | 13.0920.500 | Поршень | |
| 7 | 045-053-46 | Кольцо | |
| 9 | 13.0920.011 | Гайка | |
| 10 | 020-025-30 | Кольцо | |
| 11 | 13.6610.007 | Манжета | |
| 12 | 13.0920.007 | Кольцо стопорное | |
| 13 | ШС-50 | Подшипник | |
| 14 | 13.0920.006 | Кольцо | |
| 15 | 13.0920.001 | Гайка | |
| 16 | 13.0930.400 | Крышка | |
| 17 | 13.6610.006 | Кольцо | |
| 18 | 13.6610.008 | Грязесъемник | |
| 19 | 13.0930.200 | Шток | |
| 20 | 13.0920.600-01 | Соединение угловое | |
| 21 | 13.0920.012 | Шайба | |
| 22 | 13.0920.005 | Клапан | |
| 23 | 13.0930.310 | Штуцер-тройник правый | |
| 24 | 13.0930.310-01 | Штуцер-тройник левый | |
| 25 | 1.2. | Масленка |
Содержащиеся в справочниках-каталогах запасные части и детали не предлагаются к продаже, а носят исключительно информационный характер