Каталог запасных частей к технике: BOMAG BW 24R. Power Shift Transmission
1
2
3
4
5
5
6
7
8
9
10
10
11
11
12
13
14
15
16
17
18
19
20
20
21
21
21
22
23
24
25
26
27
28
29
30
31
32
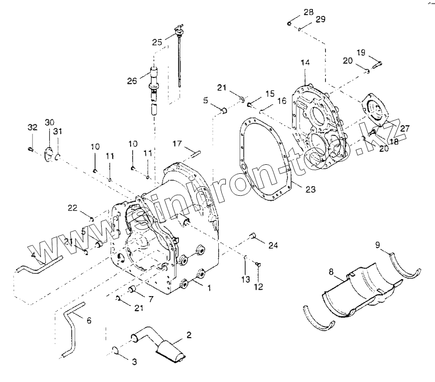
| Позиция на иллюстрации | Заводской номер детали | Название детали | |
|---|---|---|---|
| 1 | 31904161 | Transmission housing | |
| 2 | 31904164 | Suction pipe | |
| 3 | 31904142 | O-ring | |
| 4 | 31901357 | Tube | |
| 5 | 31904006 | Sleeve | |
| 6 | 31904166 | pipeiine | |
| 7 | 31901306 | Sleeve | |
| 8 | 31901373 | Baffle | |
| 9 | 31901374 | Gasket band | |
| 10 | 31904174 | Plug | |
| 11 | 31904089 | O-ring | |
| 12 | 31904175 | Plug | |
| 13 | 31904088 | O-ring | |
| 14 | 31904162 | Rear cover | |
| 15 | 31904174 | Plug | |
| 16 | 31904089 | O-ring | |
| 17 | 31904136 | Pin | |
| 18 | 31904093 | Screw | |
| 19 | 31904094 | Screw | |
| 20 | 31904180 | Washer | |
| 21 | 31904187 | O-ring | |
| 22 | 31904185 | O-ring | |
| 23 | 31904171 | Gasket | |
| 24 | 31904063 | Plug | |
| 25 | 31901330 | Oil dip stick | |
| 26 | 31901388 | Tube | |
| 27 | 31904165 | Cover | |
| 28 | 31904174 | Plug | |
| 29 | 31904089 | O-ring | |
| 30 | 31904132 | Locking washer | |
| 31 | 31904135 | O-ring | |
| 32 | 31904128 | Screw |
Содержащиеся в справочниках-каталогах запасные части и детали не предлагаются к продаже, а носят исключительно информационный характер